Makita® DTWA070 Cordless Impact Wrench Instruction Manual


DTWA070
DTWA100
DTWA140
DTWA190
Read before use.
SPECIFICATIONS

- Due to our continuing program of research and development, the specifications herein are subject to change without notice.
- Specifications may differ from country to country.
- The weight may differ depending on the attachment(s), including the battery cartridge. The lightest and heaviest combination, according to EPTA-Procedure 01/2014, are shown in the table.
Applicable battery cartridge and charger

- Some of the battery cartridges and chargers listed above may not be available depending on your region of residence.
WARNING: Only use the battery cartridges and chargers listed above. Use of any other battery cartridges and chargers may cause injury and/or fire.
Symbols
The followings show the symbols which may be used for the equipment. Be sure that you understand their meaning before use.
Read instruction manual.
Only for EU countries
Due to the presence of hazardous components in the equipment, waste electrical and electronic equipment, accumulators and batteries may have a negative impact on the environment and human health. Do not dispose of electrical and electronic appliances or batteries with household waste!
In accordance with the European Directive on waste electrical and electronic equipment and on accumulators and batteries and waste accumulators and batteries, as well as their adaptation to national law, waste electrical equipment, batteries and accumulators should be stored separately and delivered to a separate collection point for municipal waste, operating in accordance with the regulations on environmental protection.
This is indicated by the symbol of the crossed-out wheeled bin placed on the equipment.
Intended use
The tool is intended for fastening bolts and nuts.
Noise
The typical A-weighted noise level determined according to EN62841-2-2:
Model DTWA070
Sound pressure level (LpA) : 92 dB(A)
Sound power level (LWA) : 103 dB (A)
Uncertainty (K) : 3 dB(A)
Model DTWA100
Sound pressure level (LpA) : 93 dB(A)
Sound power level (LWA) : 104 dB (A)
Uncertainty (K) : 3 dB(A)
Model DTWA140
Sound pressure level (LpA) : 96 dB(A)
Sound power level (LWA) : 107 dB (A)
Uncertainty (K) : 3 dB(A)
Model DTWA190
Sound pressure level (LpA) : 95 dB(A)
Sound power level (LWA) : 106 dB (A)
Uncertainty (K) : 3 dB(A)
NOTE: The declared noise emission value(s) has been measured in accordance with a standard test method and may be used for comparing one tool with another.
NOTE: The declared noise emission value(s) may also be used in a preliminary assessment of exposure.
WARNING: Wear ear protection.
WARNING: The noise emission during actual use of the power tool can differ from the declared value(s) depending on the ways in which the tool is used especially what kind of workpiece is processed.
WARNING: Be sure to identify safety measures to protect the operator that are based on an estimation of exposure in the actual conditions of use (taking account of all parts of the operating cycle such as the times when the tool is switched off and when it is running idle in addition to the trigger time).
Vibration
The vibration total value (tri-axial vector sum) determined according to EN62841-2-2:
Model DTWA070
Work mode: impact tightening of fasteners of the maximum capacity of the tool
Vibration emission (ah) : 9.0 m/s2
Uncertainty (K) : 1.5 m/s2
Model DTWA100
Work mode: impact tightening of fasteners of the maximum capacity of the tool
Vibration emission (ah) : 8.5 m/s2
Uncertainty (K) : 1.5 m/s2
Model DTWA140
Work mode: impact tightening of fasteners of the maximum capacity of the tool
Vibration emission (ah) : 10.0 m/s2
Uncertainty (K) : 1.5 m/s2
Model DTWA190
Work mode: impact tightening of fasteners of the maximum capacity of the tool
Vibration emission (ah) : 10.5 m/s2
Uncertainty (K) : 1.5 m/s2
NOTE: The declared vibration total value(s) has been measured in accordance with a standard test method and may be used for comparing one tool with another.
NOTE: The declared vibration total value(s) may also be used in a preliminary assessment of exposure.
WARNING: The vibration emission during actual use of the power tool can differ from the declared value(s) depending on the ways in which the tool is used especially what kind of workpiece is processed.
WARNING: Be sure to identify safety measures to protect the operator that are based on an estimation of exposure in the actual conditions of use (taking account of all parts of the operating cycle such as the times when the tool is switched off and when it is running idle in addition to the trigger time).
EC Declaration of Conformity
For European countries only
The EC declaration of conformity is included as Annex A to this instruction manual.
SAFETY WARNINGS
General power tool safety warnings
WARNING: Read all safety warnings, instructions, illustrations and specifications provided with this power tool. Failure to follow all instructions listed below may result in electric shock, fire and/or serious injury.
Save all warnings and instructions for future reference.
The term “power tool” in the warnings refers to your mains-operated (corded) power tool or battery-operated (cordless) power tool.
Work area safety
- Keep work area clean and well lit. Cluttered or dark areas invite accidents.
- Do not operate power tools in explosive atmospheres, such as in the presence of flammable liquids, gases or dust. Power tools create sparks which may ignite the dust or fumes.
- Keep children and bystanders away while operating a power tool. Distractions can cause you to lose control.
Electrical safety
- Power tool plugs must match the outlet. Never modify the plug in any way. Do not use any adapter plugs with earthed (grounded) power tools. Unmodified plugs and matching outlets will reduce risk of electric shock.
- Avoid body contact with earthed or grounded surfaces, such as pipes, radiators, ranges and refrigerators. There is an increased risk of electric shock if your body is earthed or grounded.
- Do not expose power tools to rain or wet conditions. Water entering a power tool will increase the risk of electric shock.
- Do not abuse the cord. Never use the cord for carrying, pulling or unplugging the power tool. Keep cord away from heat, oil, sharp edges or moving parts. Damaged or entangled cords increase the risk of electric shock.
- When operating a power tool outdoors, use an extension cord suitable for outdoor use. Use of a cord suitable for outdoor use reduces the risk of electric shock.
- If operating a power tool in a damp location is unavoidable, use a residual current device (RCD) protected supply. Use of an RCD reduces the risk of electric shock.
- Power tools can produce electromagnetic fields (EMF) that are not harmful to the user. However, users of pacemakers and other similar medical devices should contact the maker of their device and/or doctor for advice before operating this power tool.
Personal safety
- Stay alert, watch what you are doing and use common sense when operating a power tool. Do not use a power tool while you are tired or under the influence of drugs, alcohol or medication. A moment of inattention while operating power tools may result in serious personal injury.
- Use personal protective equipment. Always wear eye protection. Protective equipment such as a dust mask, non-skid safety shoes, hard hat or hearing protection used for appropriate conditions will reduce personal injuries.
- Prevent unintentional starting. Ensure the switch is in the off-position before connecting to power source and/or battery pack, picking up or carrying the tool. Carrying power tools with your finger on the switch or energising power tools that have the switch on invites accidents.
- Remove any adjusting key or wrench before turning the power tool on. A wrench or a key left attached to a rotating part of the power tool may result in personal injury.
- Do not overreach. Keep proper footing and balance at all times. This enables better control of the power tool in unexpected situations.
- Dress properly. Do not wear loose clothing or jewellery. Keep your hair and clothing away from moving parts. Loose clothes, jewellery or long hair can be caught in moving parts.
- If devices are provided for the connection of dust extraction and collection facilities, ensure these are connected and properly used. Use of dust collection can reduce dust-related hazards.
- Do not let familiarity gained from frequent use of tools allow you to become complacent and ignore tool safety principles. A careless action can cause severe injury within a fraction of a second.
- Always wear protective goggles to protect your eyes from injury when using power tools. The goggles must comply with ANSI Z87.1 in the USA, EN 166 in Europe, or AS/NZS 1336 in Australia/New Zealand. In Australia/New Zealand, it is legally required to wear a face shield to protect your face, too.

It is an employer’s responsibility to enforce the use of appropriate safety protective equipments by the tool operators and by other persons in the immediate working area.
Power tool use and care
- Do not force the power tool. Use the correct power tool for your application. The correct power tool will do the job better and safer at the rate for which it was designed.
- Do not use the power tool if the switch does not turn it on and off. Any power tool that cannot be controlled with the switch is dangerous and must be repaired.
- Disconnect the plug from the power source and/or remove the battery pack, if detachable, from the power tool before making any adjustments, changing accessories, or storing power tools. Such preventive safety measures reduce the risk of starting the power tool accidentally.
- Store idle power tools out of the reach of children and do not allow persons unfamiliar with the power tool or these instructions to operate the power tool. Power tools are dangerous in the hands of untrained users.
- Maintain power tools and accessories. Check for misalignment or binding of moving parts, breakage of parts and any other condition that may affect the power tool’s operation. If damaged, have the power tool repaired before use. Many accidents are caused by poorly maintained power tools.
- Keep cutting tools sharp and clean. Properly maintained cutting tools with sharp cutting edges are less likely to bind and are easier to control.
- Use the power tool, accessories and tool bits etc. in accordance with these instructions, taking into account the working conditions and the work to be performed. Use of the power tool for operations different from those intended could result in a hazardous situation.
- Keep handles and grasping surfaces dry, clean and free from oil and grease. Slippery handles and grasping surfaces do not allow for safe handling and control of the tool in unexpected situations.
- When using the tool, do not wear cloth work gloves which may be entangled. The entanglement of cloth work gloves in the moving parts may result in personal injury.
Battery tool use and care
- Recharge only with the charger specified by the manufacturer. A charger that is suitable for one type of battery pack may create a risk of fire when used with another battery pack.
- Use power tools only with specifically designated battery packs. Use of any other battery packs may create a risk of injury and fire.
- When battery pack is not in use, keep it away from other metal objects, like paper clips, coins, keys, nails, screws or other small metal objects, that can make a connection from one terminal to another. Shorting the battery terminals together may cause burns or a fire.
- Under abusive conditions, liquid may be ejected from the battery; avoid contact. If contact accidentally occurs, flush with water. If liquid contacts eyes, additionally seek medical help. Liquid ejected from the battery may cause irritation or burns.
- Do not use a battery pack or tool that is damaged or modified. Damaged or modified batteries may exhibit unpredictable behaviour resulting in fire, explosion or risk of injury.
- Do not expose a battery pack or tool to fire or excessive temperature. Exposure to fire or temperature above 130 °C may cause explosion.
- Follow all charging instructions and do not charge the battery pack or tool outside the temperature range specified in the instructions. Charging improperly or at temperatures outside the specified range may damage the battery and increase the risk of fire.
Service
- Have your power tool serviced by a qualified repair person using only identical replacement parts. This will ensure that the safety of the power tool is maintained.
- Never service damaged battery packs. Service of battery packs should only be performed by the manufacturer or authorized service providers.
- Follow instruction for lubricating and changing accessories.
Cordless impact wrench safety warnings
- Hold the power tool by insulated gripping surfaces, when performing an operation where the fastener may contact hidden wiring. Fasteners contacting a “live” wire may make exposed metal parts of the power tool “live” and could give the operator an electric shock.
- Wear ear protectors.
- Check the impact socket carefully for wear, cracks or damage before installation.
- Hold the tool firmly.
- Keep hands away from rotating parts.
- Do not touch the impact socket, bolt, nut or the workpiece immediately after operation. They may be extremely hot and could burn your skin.
- Always be sure you have a firm footing. Be sure no one is below when using the tool in high locations.
- The proper fastening torque may differ depending upon the kind or size of the bolt. Check the torque with a torque wrench.
- Make sure there are no electrical cables, water pipes, gas pipes etc. that could cause a hazard if damaged by use of the tool.
SAVE THESE INSTRUCTIONS.
WARNING: DO NOT let comfort or familiarity with product (gained from repeated use) replace strict adherence to safety rules for the subject product.
MISUSE or failure to follow the safety rules stated in this instruction manual may cause serious personal injury.
Important safety instructions for battery cartridge
- Before using battery cartridge, read all instructions and cautionary markings on (1) battery charger, (2) battery, and (3) product using battery.
- Do not disassemble or tamper with the battery cartridge. It may result in a fire, excessive heat, or explosion.
- If operating time has become excessively shorter, stop operating immediately. It may result in a risk of overheating, possible burns and even an explosion.
- If electrolyte gets into your eyes, rinse them out with clear water and seek medical attention right away. It may result in loss of your eyesight.
- Do not short the battery cartridge:
- Do not touch the terminals with any conductive material.
- Avoid storing battery cartridge in a container with other metal objects such as nails, coins, etc.
- Do not expose battery cartridge to water or rain. A battery short can cause a large current flow, overheating, possible burns and even a breakdown.
- Do not store and use the tool and battery cartridge in locations where the temperature may reach or exceed 50 °C (122 °F).
- Do not incinerate the battery cartridge even if it is severely damaged or is completely worn out. The battery cartridge can explode in a fire.
- Do not nail, cut, crush, throw, drop the battery cartridge, or hit against a hard object to the battery cartridge. Such conduct may result in a fire, excessive heat, or explosion.
- Do not use a damaged battery.
- The contained lithium-ion batteries are subject to the Dangerous Goods Legislation requirements.
For commercial transports e.g. by third parties, forwarding agents, special requirement on packaging and labeling must be observed.
For preparation of the item being shipped, consulting an expert for hazardous material is required. Please also observe possibly more detailed national regulations.
Tape or mask off open contacts and pack up the battery in such a manner that it cannot move around in the packaging. - When disposing the battery cartridge, remove it from the tool and dispose of it in a safe place. Follow your local regulations relating to disposal of battery.
- Use the batteries only with the products specified by Makita. Installing the batteries to non-compliant products may result in a fire, excessive heat, explosion, or leak of electrolyte.
- If the tool is not used for a long period of time, the battery must be removed from the tool.
- During and after use, the battery cartridge may take on heat which can cause burns or low temperature burns. Pay attention to the handling of hot battery cartridges.
- Do not touch the terminal of the tool immediately after use as it may get hot enough to cause burns.
- Do not allow chips, dust, or soil stuck into the terminals, holes, and grooves of the battery cartridge. It may result in poor performance or breakdown of the tool or battery cartridge.
- Unless the tool supports the use near high-voltage electrical power lines, do not use the battery cartridge near high-voltage electrical power lines. It may result in a malfunction or breakdown of the tool or battery cartridge.
- Keep the battery away from children.
SAVE THESE INSTRUCTIONS.
CAUTION: Only use genuine Makita batteries. Use of non-genuine Makita batteries, or batteries that have been altered, may result in the battery bursting causing fires, personal injury and damage. It will also void the Makita warranty for the Makita tool and charger.
Tips for maintaining maximum battery life
- Charge the battery cartridge before completely discharged. Always stop tool operation and charge the battery cartridge when you notice less tool power.
- Never recharge a fully charged battery cartridge. Overcharging shortens the battery service life.
- Charge the battery cartridge with room temperature at 10 °C – 40 °C (50 °F – 104 °F). Let a hot battery cartridge cool down before charging it.
- When not using the battery cartridge, remove it from the tool or the charger.
- Charge the battery cartridge if you do not use it for a long period (more than six months).
FUNCTIONAL DESCRIPTION
CAUTION: Always be sure that the tool is switched off and the battery cartridge is removed before adjusting or checking function on the tool.
Installing or removing battery cartridge
CAUTION: Always switch off the tool before installing or removing of the battery cartridge.
CAUTION: Hold the tool and the battery cartridge firmly when installing or removing battery cartridge. Failure to hold the tool and the battery cartridge firmly may cause them to slip off your hands and result in damage to the tool and battery cartridge and a personal injury.

- Red indicator
- Button
- Battery cartridge
To remove the battery cartridge, slide it from the tool while sliding the button on the front of the cartridge.
To install the battery cartridge, align the tongue on the battery cartridge with the groove in the housing and slip it into place. Insert it all the way until it locks in place with a little click. If you can see the red indicator as shown in the figure, it is not locked completely.
CAUTION: Always install the battery cartridge fully until the red indicator cannot be seen. If not, it may accidentally fall out of the tool, causing injury to you or someone around you.
CAUTION: Do not install the battery cartridge forcibly. If the cartridge does not slide in easily, it is not being inserted correctly.
Tool / battery protection system
The tool is equipped with a tool/battery protection system. This system automatically cuts off power to the motor to extend tool and battery life. The tool will automatically stop during operation if the tool or battery is placed under one of the following conditions:
Overload protection
When the battery is operated in a manner that causes it to draw an abnormally high current, the tool automatically stops without any indication. In this situation, turn the tool off and stop the application that caused the tool to become overloaded. Then turn the tool on to restart.
Overheat protection
When the tool/battery is overheated, the tool stops automatically. In this situation, let the tool/battery cool before turning the tool on again.
Overdischarge protection
When the battery capacity is not enough, the tool stops automatically. In this case, remove the battery from the tool and charge the battery.
Checking the remaining battery capacity (BL1460A)

- Indicator lamps
- Check button
NOTE: Depending on the conditions of use and the ambient temperature, the indication may differ slightly from the actual capacity.
When charging
When the charging begins, the first (far left) indicating lamp begins to blink. Then, as charging proceeds, the other lamps light, one after the other, to indicate the battery capacity.
NOTE: If the indicator lamp does not turn on or blink when charging, the battery may be faulty. In this case, ask your local service center.
When using
When the tool is switched on, the lamps will light to indicate the remaining battery capacity. When the tool is switched off, the light goes out after approx. 5 seconds. When pushing the check button with the tool switched off, the indicator lamps turn on for approx. 5 seconds to show battery capacity.
If the orange lamp blinks, the tool stops because of little remaining battery capacity (Auto-stop mechanism). Charge the battery cartridge or use a charged battery cartridge at this time.
When the tool is used with the battery that has not been used for a long time and is switched on, no lamps may light up. The tool stops because of little remaining battery capacity at this time. Charge the battery properly.
Switch action

- Switch trigger
CAUTION: Before installing the battery cartridge into the tool, always check to see that the switch trigger actuates properly and returns to the “OFF” position when released.
To start the tool, simply pull the switch trigger. Tool speed is increased by increasing pressure on the switch trigger. Release the switch trigger to stop.
NOTE: The tool automatically stops if you keep pulling the switch trigger for about 3 minutes.
Lighting up the front lamp

- Lamp
CAUTION: Do not look in the light or see the source of light directly.
Pull the switch trigger to light up the lamp. The lamp keeps on lighting while the switch trigger is being pulled. The lamp goes out approximately 10 seconds after releasing the switch trigger.
NOTE: Use a dry cloth to wipe the dirt off the lens of the lamp. Be careful not to scratch the lens of lamp, or it may lower the illumination.
Reversing switch action

- Reversing switch lever
CAUTION: Always check the direction of rotation before operation.
CAUTION: Use the reversing switch only after the tool comes to a complete stop. Changing the direction of rotation before the tool stops may damage the tool.
CAUTION: When not operating the tool, always set the reversing switch lever to the neutral position.
This tool has a reversing switch to change the direction of rotation. Depress the reversing switch lever from the A side for clockwise rotation or from the B side for counterclockwise rotation.
When the reversing switch lever is in the neutral position, the switch trigger cannot be pulled.
Changing the parameter setting on the computer
You can configure detailed setting of the tool with the application software “Makita Industry Tool Settings”. Install the application software on the computer and connect the tool to the computer with a USB cable. Refer to the instruction manual of “Makita Industry Tool Settings” for details on configuration.

- USB port
- USB cover
- USB cable
NOTICE: Make sure that the USB cover closed when fastening.
NOTE: When the reversing switch lever is depressed in the clockwise rotation, the indicator shows the setting of clockwise rotation.
When the reversing switch lever is depressed in the counterclockwise rotation, the indicator shows the setting of counterclockwise rotation.
NOTE: Use preset number as a guideline. To keep the fastening torque, number of impacts changes automatically according to remaining battery capacity. NOTE: Use the makita genuine USB cable to connect your computer to the tool. Refer to the section “SPECIFICATIONS”.
NOTE: For the application software, please contact Makita sales representative.
Changing the parameter setting on the tool (Field Setting mode)
NOTICE: This function is available by default. If you have disabled the Field Setting mode on the computer, enable this function beforehand. Refer to the instruction manual of “Makita Industry Tool Settings” for how to configure.
NOTICE: If the Field Setting mode is disabled, making settings on the tool is not available. When you press the setting button, the values set on the tool are displayed in order.
The current setting number is displayed on the indicator.
Every time you press the setting button, the indicator shows torque level, rundown level, workable time range, and “Ad”.

- Setting button
- Indicator
You can change the following parameter settings on your tool:
- Auto-stop setting / Free mode

NOTICE: If “OP” (Loosening Auto Stop mode) is displayed on the indicator, torque level setting and rundown level setting is not available. In this case, change the mode to Tightening Auto Stop mode, and then set the torque level and rundown level on the computer using “Makita Industry Tool Settings”.
Changing the torque level
When changing the torque level from 23 to 34

- Press the setting button several times until the indicator shows 2-digit number which stands for the current setting of the torque level.
- Press and hold the setting button until the number in the tens place starts blinking.
- Set the number in the tens place by pressing the setting button briefly. Every time you press the setting button, the indicator shows the number from “0” to “4” and “F” in a cycle.
- Press and hold the setting button until the number in the ones place starts blinking.
- Set the number in the ones place by pressing the setting button briefly. Every time you press the setting button, the indicator shows the number from “0” to “9” and “F” in a cycle.
- Press and hold the setting button for a few seconds.
NOTE: If you are not sure which torque level is suitable for your work, set “FF” so that the tool operates in the Free mode.
NOTE: If you input “00”, “FF” is displayed instead of “00”.
Changing the rundown level
When changing the rundown level from L1 to L2

- Press the setting button several times until the indicator shows 2 characters beginning with “L” followed by a number. This stands for the current setting of the rundown level.
- Press and hold the setting button until the indicator starts blinking.
- Set the rundown level. Every time you press the setting button, the indicator shows from “L1” to “L7” in a cycle. The lowest rundown level is “L1” and “L7” is the highest.
- Press and hold the setting button for a few seconds.
Changing the shortest workable time range
When changing the shortest workable time range from 2.5 to 3.6

- Press the setting button several times until the indicator shows “Lo” and number alternatively. This stands for the current setting of the shortest workable time range.
- Press and hold the setting button until the number in the ones place starts blinking.
- Set the number in the ones place by pressing the setting button briefly. Every time you press the setting button, the indicator shows the number from “0” to “9” in a cycle.
- Press and hold the setting button until the number in the decimal place starts blinking.
- Set the number in the decimal place by pressing the setting button briefly. Every time you press the setting button, the indicator shows the number from “0” to “9” in a cycle.
- Press and hold the setting button for a few seconds.
NOTE: When you set the value smaller than “0.1” for the shortest workable time range, the indicator shows “-.-” and the shortest workable time range becomes disabled. To input “-.-“, set the value to “0.9”, and then press the setting button when the number in the ones place is blinking.
Changing the longest workable time range
When changing the longest workable time range from 2.5 to 3.6

- Press the setting button several times until the indicator shows “HI” and number alternatively. This stands for the current setting of the longest workable time range.
- Press and hold the setting button until the number in the ones place starts blinking.
- Set the number in the ones place by pressing the setting button briefly. Every time you press the setting button, the indicator shows the number from “0” to “9” in a cycle.
- Press and hold the setting button until the number in the decimal place starts blinking.
- Set the number in the decimal place by pressing the setting button briefly. Every time you press the setting button, the indicator shows the number from “0” to “9” in a cycle.
- Press and hold the setting button for a few seconds.
NOTE: When you set the value larger than “9.9” for the longest workable time range, the indicator shows “-.-” and the longest workable time range becomes disabled. To input “-.-“, set the value to “9.9”, and then press the setting button when the number in the ones place is blinking.
Measuring an actual operation (Self-diagnosis)
NOTICE: This function is available by default. If you have disabled the Field Setting mode on the computer, enable this function beforehand. Refer to the instruction manual of “Makita Industry Tool Settings” for how to configure.
You can measure the torque level and operating time of an actual operation by operating the tool. Measured torque level and time can be used for such as;
- Reproducing a torque control technic of a well-skilled worker and;
- A time reference for the setting of the shortest/longest workable time range.
Measuring the torque level and operating time
- Press the setting button several times until “Ad.” is displayed on the indicator.
- Press and hold the setting button until the indicator shows “Ch”.
- Perform the operation that you want to measure the operating time.
- If you have configured the torque level, operate the tool until it stops in the Tightening Auto Stop mode.
- If you have not configured the torque level (Free mode), operate the tool as necessary.
- Check the measured result. Press the setting button once to display the actual torque level, and press it one more time to display the actual operating time. Every time you press the setting button, the indicator shows “Ch”, the number of actual torque level, and the number of actual operating time in a cycle.
- Press and hold the setting button to exit the Self-diagnosis.
NOTE: The Tightening Auto Stop mode works even in the Self-diagnosis. If you want to measure the torque level without limitation, set the torque level “FF” (Free mode) and perform the procedures above.
NOTE: If “- -” is displayed on the indicator, the impact did not work or the torque level is higher than 40. If “-.-” is displayed in the indicator, the operating time exceeded 9.9 seconds.
- In case the impact did not work: Remeasure the torque level with longer workable time.
- In case the torque level is higher than 40: The tool cannot measure the torque level. Use the tool with higher torque range if available.
- In case the operating time exceeded 9.9 seconds, the workable time range is not available.
Measuring example:
If you configure the following setting, you can read the tool status.
Case 1

Case 2

LED indicator / beeper

- LED indicator
LED indicator / beeper on the tool shows the following functions.


ASSEMBLY
CAUTION: Always be sure that the tool is switched off and the battery cartridge is removed before carrying out any work on the tool.
Selecting correct impact socket
Always use the correct size impact socket for bolts and nuts. An incorrect size impact socket will result in inaccurate and inconsistent fastening torque and/or damage to the bolt or nut.
Installing or removing impact socket
Optional accessory
CAUTION: Make sure that the impact socket and the mounting portion are not damaged before installing the impact socket.
CAUTION: After inserting the impact socket, make sure that it is firmly secured. If it comes out, do not use it.
NOTE: The way of impact socket installation varies depending on the type of the square drive on the tool.
Tool with the ring spring
For impact socket without O-ring and pin

- Impact socket
- Square drive
- Ring spring
Push the impact socket onto the square drive until it locks into place.
To remove the impact socket, simply pull it off.
For impact socket with O-ring and pin

- Impact socket
- O-ring
- Pin
Move the O-ring out of the groove in the impact socket and remove the pin from the impact socket. Fit the impact socket onto the square drive so that the hole in the impact socket is aligned with the hole in the square drive.
Insert the pin through the hole in the impact socket and square drive. Then return the O-ring to the original position in the impact socket groove to retain the pin.
To remove the impact socket, follow the installation procedures in reverse.
Tool with the detent pin

- Impact socket
- Hole
- Square drive
- Detent pin
Align the hole in the side of the impact socket with the detent pin on the square drive and push the impact socket onto the square drive until it locks into place. Tap it lightly if required.
To remove the impact socket, simply pull it off. If it is hard to remove, depress the detent pin while pulling the impact socket.
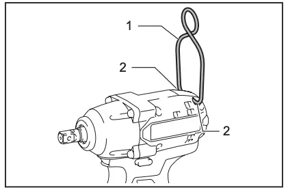
Installing hook
Optional accessory
The hook is useful to hang the tool. Install the hook to the holes on the tool body.

- Hook
- Hole
OPERATION
CAUTION: Always insert the battery cartridge all the way until it locks in place. If you can see the red indicator on the upper side of the button, it is not locked completely. Insert it fully until the red indicator cannot be seen. If not, it may accidentally fall out of the tool, causing injury to you or someone around you.
CAUTION: Hold the tool firmly and place the impact socket over the bolt or nut. Turn the tool on and fasten for the proper fastening time.
CAUTION: If the tool is operated continuously until the battery cartridge has discharged, allow the tool to rest for 15 minutes before proceeding with a fresh battery cartridge.
CAUTION: Pressing excessively on the tool will not speed up the drilling. In fact, this excessive pressure will only serve to damage the tip of your drill bit, decrease the tool performance and shorten the service life of the tool.
CAUTION: Always secure workpieces in a vise or similar hold-down device.

The proper fastening torque may differ depending upon the kind or size of the bolt, the material of the workpiece to be fastened, etc.
NOTICE: When fastening small bolts, carefully adjust pressure on the switch trigger so that the bolt is not damaged.
NOTICE: Hold the tool pointed straight at the bolt or nut.
NOTICE: Excessive fastening torque may damage the bolt/nut or impact socket. Before starting your job, always perform a test operation to determine the proper fastening time for your bolt or nut.
The fastening torque is affected by a wide variety of factors including the following. After fastening, always check the torque with a torque wrench.
- When the battery cartridge is discharged almost completely, voltage will drop and the fastening torque will be reduced.
- Impact socket
- Failure to use the correct size impact socket will cause a reduction in the fastening torque.
- A worn impact socket (wear on the hex end or square end) will cause a reduction in the fastening torque.
- Bolt
- Even though the torque coefficient and the class of bolt are the same, the proper fastening torque will differ according to the diameter of bolt.
- Even though the diameters of bolts are the same, the proper fastening torque will differ according to the torque coefficient, the class of bolt and the bolt length.
- The use of the universal joint or the extension bar somewhat reduces the fastening force of the impact wrench. Compensate by fastening for a longer period of time.
- The manner of holding the tool or the material of driving position to be fastened will affect the torque.
- Operating the tool at low speed will cause a reduction in the fastening torque.
Fastening torque and torque level
NOTE: This reference value is measured by the measurement conditions specified by Makita.
NOTE: The actual value may differ according to circumstances of the fasteners, materials, and fastening method. Perform a test drive before actual work.

- Torque level
- Fastening torque
MAINTENANCE
CAUTION: Always be sure that the tool is switched off and the battery cartridge is removed before attempting to perform inspection or maintenance.
NOTICE: Never use gasoline, benzine, thinner, alcohol or the like. Discoloration, deformation or cracks may result.
To maintain product SAFETY and RELIABILITY, repairs, any other maintenance or adjustment should be performed by Makita Authorized or Factory Service Centers, always using Makita replacement parts.
OPTIONAL ACCESSORIES
CAUTION: These accessories or attachments are recommended for use with your Makita tool specified in this manual. The use of any other accessories or attachments might present a risk of injury to persons. Only use accessory or attachment for its stated purpose.
If you need any assistance for more details regarding these accessories, ask your local Makita Service Center.
- Hook
- Protector (Blue, Red, Yellow, Green, Clear)
- Battery Protector for BL1460A
- Battery Protector for BL1415NA
- Makita genuine battery and charger
- USB cable
NOTE: Some items in the list may be included in the tool package as standard accessories. They may differ from country to country.
Makita Europe N.V.
Jan-Baptist Vinkstraat 2, 3070 Kortenberg, Belgium
Makita Corporation
3-11-8, Sumiyoshi-cho, Anjo, Aichi 446-8502 Japan
885713A228
EN
20210323




















