Humanscale eFloat One Table

Important Safety Instructions
WHEN USING AN ELECTRICAL FURNISHING, BASIC PRECAUTIONS SHOULD ALWAYS BE FOLLOWED. READ ALL INSTRUCTIONS BEFORE USING (THIS FURNISHING). HUMANSCALE CANNOT BE HELD LIABLE FOR INJURY OR DAMAGE CAUSED BY NON-COMPLIANCE WITH THESE INSTRUCTIONS. SAVE THESE INSTRUCTIONS AND PASS THEM ON TO ANY FUTURE USER.
DANGER: To reduce the risk of electric shock always unplug this furnishing from the electrical outlet before cleaning.
WARNING: To reduce the risk of burns, fire, electric shock, or injury to persons:
- Close supervision is necessary when this furnishing is used by, or near children, invalids, or disabled persons.
- Use this furnishing only for its intended use as described in these instructions. Do not use attachments not recommended by the manufacturer.
- Never operate this furnishing if it has a damaged cord or plug, if it is not working properly, if it has been dropped or damaged, or dropped into water. Return the furnishing to a service center for examination and repair.
- Keep the cord away from heated surfaces.
- Never operate the furnishing with the air openings blocked. Keep the air openings free of lint, hair, and the like.
- Never drop or insert any object into any opening.
- Do not use outdoors.
- Do not operate where aerosol (spray) products are being used or where oxygen is being administered.
- To disconnect, turn all controls to the off position, then remove plug from outlet.
WARNING: Risk of Electric Shock – Connect this furnishing to a properly grounded outlet only. See Grounding Instructions
DO NOT OVERLOAD DESK: To prevent the table from tipping or collapsing, make sure the desk is not overloaded by the weight of the worksurface and items on table. Evenly distribute load; excess loads near edges can reduce stability and lead to tip over.
- Worksurfaces must be at least 3/4” (20mm) thick. Work surfaces must not weigh more than 5lbs square/ft. For stability, maximum worksurface size is 36” x 28”.
- Do not exceed maximum load of 90lbs (40.9kg) (110lbs (49.9kg) excluding worksurface)
- For loading always put heavier items in the center and distribute the load.
- Do not sit or stand on table
USE CARE WHEN OPERATING DESK:
- Before using the table check for any visible signs of damage. Do not use a damaged product.
- Make sure no obstacles are in the desk’s path and that the desk is not touching walls or neighboring objects.
- Items taller than 20” in height should not be placed or stored under the desk.
- Keep Table Frame dry. Keep all electrical components away from water and high humidity. Do not spray cleaning solutions directly onto table frame.
- Working Temperature for table is 5 – 40OC
- Make sure all the cords are the appropriate length to accommodate the change in height.
- In order to avoid any pinching, please ensure that hand or other body parts are in a safe position during the operation.
- Unplug power cord during a thunderstorm or if you do not intend to use the desk for a long time.
- Never use the table if it has a damaged cords or plugs.
- Keep cords away from heated surfaces.
DO NOT OPEN ELECTRICAL COMPONENTS: Do not attempt to service the tables components. There are no user-serviceable components within the motor control box, hand switch, or table legs. If your table needs service or you are having issues with your table, please contact customer service.
Before Getting Started
- If using a power drill, use a low torque setting.
- Do assemble product on a protective surface.
- 2 or more people maybe required to maneuver the table.
- After assembly the table will need to have initial set up/reset performed before table can be used.
Tools Required

Parts Included

Hardware Included

Assembly Instructions
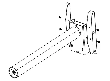
- Attach the Wing Brackets to Leg Column using the (4) M4 X 10 screws and 4mm Allen Key.

- Secure the Leg to the worksurface using the (6) ST5 X 20mm screws, ensuring that the cords are at the rear of the worksurface.

- Secure the feet to the Leg. Using both the (4) M6 X 14 and (4) M6 X 40 Screws with the 4mm Allen key.

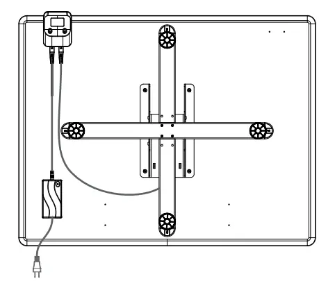
- Secure the hand switch to the worksurface in your desired location using the (2) ST5 X 18, screw along the front edge of worksurface. Pilot holes are positioned on the left/right hand side of the worksurface in our recommended location(s).

- Secure the Power Supply to the worksurface in your desired location using the provided Cable Straps. To secure the Cable Straps, peel and stick to desired location and secure with the (4) ST3.5 X 16 screws.

- Plug the Leg Column into the hand switch. Connect the power supply to the hand switch. Plug the power cord into the power supply. Use the provided Cable ties to secure cables to underside of worksurface (not pictured), with either double sided tape or the (5) ST5 X 16 Screws.

- Flip your Table right side up and plug into outlet. Reset the desk per instructions in following section.
Hand Switch

Initial Setup / Reset
IMPORTANT: You must RESET the desk prior to use.
- Press the DOWN button, moving the desk to its lowest position, then release.
- Hold the DOWN button while the desk clicks lower, slightly rises and stops. Your desk is now ready to use. The desk base can be adjusted by pressing and holding either the UP/ DOWN button until the desired height is reached.
LED indicator:
- Blue – Reset status
- Red – Abnormal state
Trouble Shooting

Technical Data
- Power supply 100-240VAC 50/60Hz
- Maximum input current 1.5A
- Stand by power consumption, primarily <0.3W
- Operating Temperature 0 – 40C
- Height Range 23.4” – 49”
- Travel Speed 1” per second (no load)
- Noise Level < 50dB
- Maximum lift capacity 90lbs (40.9kg) / 110lbs (49.9kg) excluding worksurface
- Duty Cycle 10% Max. 2 min on, 18 mins off
Humanscale
1114 6th Ave, 15th Floor
New York, NY 10036
humanscale.com
For our terms and conditions please go to
https://www.humanscale.com/about/legal-information/terms-conditions.cfm
© 2021 Humanscale Corporation. The text and artwork are copyrighted materials. All rights reserved. The Humanscale mark and logo are
trademarks of Humanscale Corporation and are registered in the United States and certain other countries.























