CRAIG CHT894 Tower Speaker System

IMPORTANT SAFETY INSTRUCTIONS
CAUTION
A RISK OF ELECTRIC SHOCK
CAUTION
DO NOT OPEN
CAUTION: TO REDUCE THE RISK OF ELECTRIC SHOCK, DO NOT REMOVE COVER (OR BACK). NO USER-SERVICEABLE PARTS INSIDE. REFER SERVICING TO QUALIFIED SERVICE PERSONNEL
- WARNING
The lighting flash with arrowhead symbol, within an equilateral triangle, is intended to alert user to the presence of uninsulated “dangerous voltage” within the product’s enclosure, that may be of sufficient magnitude to constitute a risk of electric. - The exclamation point within an equilateral triangle is intended to alert the user to the presence of important operating maintenance (servicing) instruction in the literature accompanying the appliance
FCC WARNING
This equipment may generate or use radio frequency energy. Changes or modifications to this equipment may cause harmful interference unless the modifications are expressly approved in the instruction manual. Modifications not authorized by the manufacturer may void users authority to operate this device.
INFORMATION
This equipment has been tested and found to comply with the limits for a Class B digital device, pursuant to Part 15 of the FCC Rules. These limits are designed to provide reasonable protection against harmful interference in a residential installation. This equipment generates, uses and can radiate radio frequency energy and, if not installed and used in accordance with the instructions, may cause harmful interference to radio communications. However, there is no guarantee that interference will not occur in a particular installation. If this equipment does cause harmful interference to radio or television reception, which can be determined by turning the equipment off and on, the user is encouraged to try to correct the interference by one or more of the following measures:
- Reorient or relocate the receiving antenna.
- Increase the separation between the equipment and receiver.
- Connect the equipment into an outlet on a circuit different from that to which the receiver is connected.
- Consult the dealer or an experienced radio/TV technician for help.
Before using the unit, be sure to read all operating instructions carefully. Please note that these are general precautions and may not pertain to your unit For example, this unit may not have the capability to be connected to an outdoor antenna.
- Read these instructions
- All the safety and operating instructions should be read before the product is operated.
- Keep these instructions
- The sately and operating instructions should be retained for future reference.
- Heed all warning
- All warnings on the product and in the operating instructions should be adhered to.
- Follow all instructions
- All operating and use instructions should be followed.
- Do not use this apparatus near water
- Do not use the product near water and noisture, for example: near a bathtub,washbowl, kithen sink or laundry tub; in a wet basement; or near a swimming9 pool.
- Clean only with dry cloth
- Unplug this product from the wall outlet before cleaning. Do not use liquid cleaners or aerosol cleaners. Use a dry cloth for cleaning.
- Do not block any ventilation openings. Install in accordance with the manufacturer’s instructions.
- Slots and openings in the cabinet and in the back or bottom are provided for ventilation, to ensure reliable operation of the product and to protect it fromoverheating. These openings must not be blocked or covered. The openings should never be blocked by placing the product on a bed, sofa, rug or other Similar surtace. this product should never be placed near or Over a radiator or heat source. This product should not be placed in a built-in installation such as a bookcase or rack unless proper ventilation is provided or the manufacturer’s instructions have been adhered to.
- Do not install near any heat sources such as radiators, heat registers, stoves, or other apparatus (including amplifiers) that produce heat.
- Do not defeat the safety purpose of the polarized or grounding-type plug. A polarized plug has two blades with one wider than the other. a grounding type plug has two blades and a third grounding prong. the wide blade or the third prong are provided for your safety. if the provided plug does not fit into your outlet, consult an electrician for replacement of the obsolete outlet.
- Protect the power cord from being walked on or pinched particularly at plugs, comnvenience receptacles, and the point where they exit from the apparatus.
- Only use attachments/accessories specified by the manufacturer.
- Use only with the cart, stand, tripod, bracket, or table specified by the manufacturer, or sold with the apparatus. When a cart is used, use caution when moving the cart/apparatus combination to avoid injury from tip-over. acabl Cau ning
- Unplug this apparatus during lightning storms or when unused for long periods of time.
- Refer all servicing to qualified service personnel. Servicing is required when the apparatus has been damaged in any way, such as power-supply cord or plug is damaged, liquid has been spilled or objects have fallen into the apparatus, the apparatus has been exposed to rain or moisture does not operate normally, or has been dropped.
- Power Source
The product should be operated only from the type of power source indicated on the marking label. If you are not sure of the type of power supply to your home, consult your appliance dealer or local power company. For products intended to operate from battery power, or other sources, refer to the operating instructions. - Power lines
An outside antenna system should not be located in the vicinity of overhead power lines or other electric light or power circuits, or where it can fall into such power lines or circuits. When installing an outside antenna system, extreme care should be taken to keep from touching such power lines or circuits as contact with them might be fatal. - Overloading
Do not overload wall outlets and extension cords as this can result in a risk or fire or electric shock. - Object and liquid entry
Never push objects of any kind into the product through as they may touch dangerous voltage points or short out parts that could result in fire or electric shock. Never spill or spray any type of liquid on the product. - Outdoor antenna grounding
If an outside antenna is connected to the product, be sure the antenna system is grounded so as to provide some protection against voltage surges and built up static charges. Section 810 of the National Electrical Code, ANSI/NFPA 70, provides information with respect to proper grounding of the mast and supporting structure, grounding of the lead-in wire to an antenna discharge product, size of grounding conductors, location of antennadischarge product, connection to grounding electrodes and requirements for the grounding electrodes.
- Service
Do not attempt to service this product yourself as opening or removing covers may expose you to dangerous voltage or other hazards. Refer all servicing to qualified service personnel. - Replacement parts
When replacement parts are required, be sure the service technician uses replacement parts specified by the manufacturer or those that have the same characteristics as the original part. Unauthorized substitutions may result in fire or electric shock or other hazards. - Safety check
Upon completion of any service or repairs to this product ask the service technician to perform safety checks to determine that the product is in proper operating condition - Wall or ceiling mounting
The product should be mounted to a wall or ceiling only as recommended by the manufacturer - Damage requiring service Unplug the product from the wall outlet and refer servicing to qualified service personnel under the following conditions:
- When the power-supply cord or plug is damaged.
- If liquid has been spilled or objects have fallen into the
product. - If the product has been exposed to rain or water
- If the product does not operate normally by following the operating instructions.
- Adjust only those controls that are covered by the operating instructions, as an adjustment of other controls may result in damage and will require extensive work by a qualified technician to restore the product to its normal operation.
- If the product has been dropped or the cabinet has been damaged.
- When the product exhibits a distinct change in performance this indicates a need for service.
- Note to CATV system installer
This reminder is provided to call the CATV system installer ‘s attention to Article 820-40 of the NEC that provides guidelines for proper grounding and, in particular, specifies that the cable ground shall be connected to the grounding system of the building, as close to the point of cable entry as practical.
Note:
Refer all servicing to qualified service personnel. Servicing is required when the unit has been damaged any way such as the following: the power-supply cord or plug has been damaged, liquid has been spilled into the unit, the unit has been exposed to rain or moisture, the unit has been dropped or the unit does not operate normally.
POWER SOURCE
Insert the small plug from the supplied AC/DC Adaptor to the DC IN Jack on the rear of unit. Connect the AC/DC adaptor to
a wall outlet having AC 100-240 V~, 50/60 Hz
NOTE: This AC/DC Adpator is intended to be correctly orientated in a vertical or floor mount position.

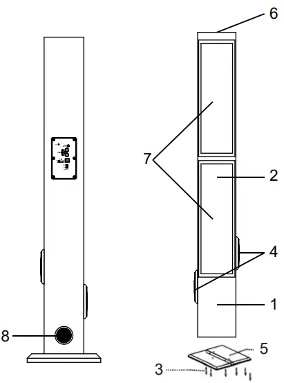
LOCATIONS OF CONTROLS

- Main Unit
- Remote Sensor
- Screw s
- Speaker with Decorative Lights
- Wooden Base
- Control Buttons (On the top)
- Front Decorative Lights
- Bass Duct
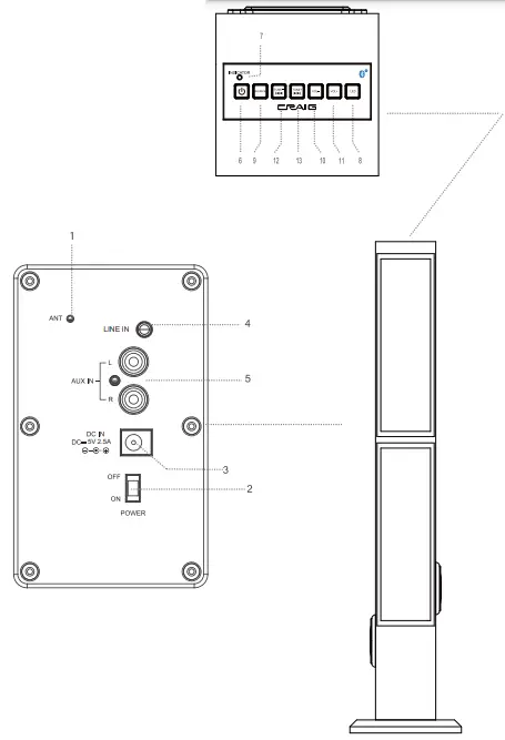
LOCATION OF CONTROL

- ANT (FM Anten na)
- POWER ON/OFF Swit ch
- DC IN Jack
- LINE IN Jack
- AUX IN Jack
(Standby On/Off- Pause/ Playback) Button- INDICATO R
- LE D Button
- SOURCE Butt on
- VOL – (Volume Down) Button
- VOL + (Volume Up) Button
- T U N E – /
B u t t o n - T U N E + /
B u t t o n
LOCATION OF CONTROL (REMOTE CONTROL)

(Standby On/Off) Button- LED ON/OFF Button
- (Mute) Button
- SOURCE Button
- RESET Button
- TUNE – /
Button
(Play / Pause) Button- TUNE + /
Button - VOL (Volume) +/- Buttons
- TREBLE +/- Buttons
- BASS +/- Buttons
ASSEMBLING METHOD

Assembly the two wooden bases to the bottom of unit by the supplied assembly screws and screwdriver as the illustrated above.
- First time use: Remove and discard the insulation film as the illustrated on right.
- Replacing the button cell for the remote control if it is drained:
- Push then slide out the battery tray as the illustrated below.
- Replace the button cell by a new CR2025 button cell with the polarity “+” face up as the illustrated below and the makings on the rear of remote control.
- Close the battery tray


BATTERY PRECAUTIONS
Follow these precautions when using a battery in this device
- Use only the size and type of battery specified.
- Be sure to the follow the correct polarity when installing the battery as indicated in the battery compartment.
A reversed battery may cause damage to the device. - Do not mix different types of batteries together(e.g. Alkaline and Carbon-zinc) or old batteries with fresh ones.
- If the batteries in the device are consumed or the device is not to be used fora long period of time, remove the batteries to prevent damage or injury from possible battery leakage.
- Do not try to recharge the battery not intended to be recharged; it can overheat and rupture. (Follow battery manufacturer’s instructions.)
- The batteries shall not be exposed to excessive heat such as sunshine, fire or the like.
- Clean the battery contacts and also those of the device prior to battery installation.
- This product contains a coin/button cell battery. If the coin/button cell battery is swallowed, it can cause severe internal burn in just 2 hours and can lead to death. Keep new and used batteries away from children. If the battery compartment does not close securely, stop using the product and keep it away from children. If you think batteries might have been swallowed or placed inside any part of the body, seek immediate medical attention.
EFFECTIVE DISTANCE OF REMOTE TRANSMITTER
- When there is an obstacle between the unit and the transmitter, the transmitter may not operate.
- When direct sunlight, an incandescent lamp, fluorescent lamp or any other strong light shines on the REMOTE SENSOR of the unit, unstable.

OPERATION
GENERAL OPERATION:
- Connected the unit to AC power as instructed earlier.
- Slide the POWER ON/OFF Switch on the rear of unit to ON position to turn the unit to Standby Mode, the Red Indicator on top of unit will illuminate.
- Press and hold the Button on the top of unit or press the Button on the Remote Control to power on the unit from Standby Mode. The Decorative LED Lights will illuminate and the color of the indicator on the top of unit will turns to correspondence color as the playback source.
- Press the SOURCE Button on the unit or press the SOURCE Button on the Remote Control repeatedly to switch to the desired playback mode. The color of the indicator will turn to correspondent color with your selection (see list below):Color of Indicator: Playback Source/Mode:
Blue: BT (Bluetooth)
Teal: FM Radio
Purple: LINE IN
Green: AUX IN - Press the VoL +/-Buttons on the unit or Remote Control to adjust volume level as desire.
- Press the TREBLE +/- Buttons on the Remote Control to adjust the treble (high audio frequency) level as desire.
- Press the BASS +/- Buttons on the Remote Control to adjust the bass (low audio frequency) level as desire.
- Press the (Mute) Button on the Remote Control to turn off the sound temporarily; press again to turn it back.
- Press and hold the LED Button on the top of unit to power On/off the Decorative LED Lights.
- Press the LED ON/OFF Button on the Remote Control repeatedly to power On/off the Decorative LED Lights on speakers or front of unit.
BT MODE
BT (Bluetooth) pairing:
First time use or re-pairing the unit to a new BT Device, pair as follows:
- Power on the unit and enter to BT (Bluetooth) mode as the instructed earlier. The color of the indicator on
the top of unit will turns to Blue and blink. - Power on the external BT Device and enter to BT searching mode. Start pairing following the on screen
instructions from the external BT Device. When paired, the Blue BT Indicator will stop blinking. - If pairing is complete you may now play music with your external BT Device.
- During playback:
- Press the
Button on the unit or the
Button on Remote Control to pause, press again to resume
normal playback. - Press the TUNE -/
or TUNE +/
Buttons on the unit or Remote Control to Skip tracks.
- Press the
Notes:
- When the external BT Device searched the unit, the model number “CHT894” will appear on the display of external BT Device.
- If while pairing you are asked for a code please try “0000” or “1234”.
Normal operation after pairing:
- Power on the external BT Device and enter to BT playback mode.
- Power on the unit and enter to BT (Bluetooth) mode as the instructed earlier. The color of the indicator on the top of unit will turns to Blue and blink.
- Wait a few seconds until the unit is automatically paired to the external BT Device. The blue indicator will stop blinking.
- After pairing is complete you may now play music with your external BT Device.
RADIO:
- Power on the unit and enter to Radio mode as the instructed earlier. The color of the indicator on the top of unit will turns to leal.
- Press the TUNE +/
Button on the unit or Remote Control to auto search and plays the first available FM radio station forward. Repeat the same procedures until the desired radio station was found and play - Press the TUNE -/
Button on the unit or Remote Control to auto search and plays the first available FM radio station backward. Repeat the same procedures until the desired radio station was found and play. - To search the radio stations from the beginning (87.5MHz), press the RESET Button on the Remote Control then press the TUNE +/
M Button.
FM Antenna:
The FM Antenna wire is on the rear of unit for radio reception. If reception is weak, unwound and extended the wire or
reassemble the other location of the wire to improve the radio reception.
Line In:
- Insert one of the plug from the supplied Audio Connection Cable (with 3.5mm stereo mini plugs) to the Phones Jack; Line Out Jack or AUX Out Jack on the external Audio Player such like the MP3 Player; Discman … etc.
- Insert the other plug to the LINE IN Jack on the rear of unit as the illustratd below:

- Power on the unit and enter to LINE IN mode as the instructed earlier. The color of the indicator on the top of unit will turns to Purple.
- Plays the music on the connected external Audio Player as usual. (Make sure the volume level of the external Audio Player is in high level. Otherwise, sound from this unit may weak).
AUX IN:
- Insert one end of the RCA connection cable (not supplied) to the Audio Out Jacks (RCA Type) on external Audio/Video Player such like TV; DVD Player; VCR… etc.
- Insert the other end to the AUX IN Jacks on the rear of unit as the illustrated below:

- Power on the unit and enter to AUX IN mode as the instructed earlier. The color of the indicator on the top of unit will turns to Green.
- Plays the music/video on the connected external Audio/Video Player as usual. (Make sure the volume level of the external Audio/Video Player is in high level. Otherwise, sound from this unit may weak).
GENERAL SPECIFICATIONS

ACCESSORIES
- 1 x Owner’s Manual
- 1 x Remote Control ( Uses 1 x CR2025 button cell, already installed into the Remote Control)
- 1 x AC/DC Adaptor (Input: AC 100-240V~, 50/60 Hz , 0.4 A Max. Output DC 5 V, 2500mA )
- 1 x Audio Connection Cable with 3.5mm Stereo plugs
- 2 x Wooden Stands
- 6 x Assembly Screws
- 1 x Screwdriver
SPECIFICATIONS AND ACCESSORIES ARE SUBJECT TO CHANGE WITHOUT NOTICE
LIMITED WARRANTY
- Craig warrants this product to be free from manufacturing defects in material and workmanship under normal use for a period of 90 days from date of purchase. If service is required, please return the product to the store where it was purchased for exchange; or, pack the unit in the original packing material with all accessories if applicable, a copy of your sales receipt and a Cashier’s check or Money Order for $10.00 (to cover shipping and handling costs) payable to Craig Electronics Inc. For consumers in Canada, please make sure that the cashier check or money order is redeemable through a U.S. bank. Ship your product freight pre-paid. Your unit will be repaired, replaced or if the unit can not be repaired or replaced, a refund will be forwarded to you within four weeks of receipt of your unit. Please ship your unit to:
Craig Electronics Inc.
1160 NW 163 Drive Miami, Fl 33169 - This warranty is void if the product has been:
- Used in a commercial application or rental.
- Damaged through misuse, negligence, or abuse.
- Modified or repaired by anyone other than an authorized Craig service center.
- Damaged because it is improperly connected to any other equipment.
Note: This warranty does not cover: - Ordinary adjustments as outlined in the Owner’s Manual which can be performed by the customer.
- Damage to equipment not properly connected to the product.
- Any cost incurred in shipping the product for repair.
- Damage to the product not used in the USA.
- This warranty is not transferable and only applies to the original purchase. Any implied warranties, including the warranty of merchantability, are limited in duration to the period of this expressed warranty and no warranty whether expressed or implied shall apply to the product thereafter.
- Under no circumstance shall Craig be liable for any loss or consequential damage arising out of the use of this product. This warranty gives specific legal rights. However, you may have other rights which may vary from state to state. Some states do not allow limitations on implied warranties or exclusion of consequential damage. Therefore, these restrictions may not apply to you.
To Obtain Service on your Product - email: [email protected]
Printed in China
CHT894 WC E0GZ1 B0US
Size: 148.S(W) x 210(H)mm (AS)

























