A913BM CordZero A9 Cordless Stick Vacuum Cleaner
Installation Guide
Product Overview
The images in this guide may be different from the actual components and accessories, which are subject to change by the manufacturer without prior notice for product improvement purposes.
NOTE
- For your safety and for extended product life, use only authorized components. The manufacturer is not responsible for product malfunction, property damage or bodily injury caused by the use of separately purchased unauthorized components, parts, or non-LG products.
- The floor stand dock and floor standpipe are not installed in the wall-mount installation.
Front View
† This feature is only available on some models.

- Charging Station
- Auxiliary Charging Station
- Battery (Dual Battery †)
- Product Body
- Extension Pipe
- Nozzle
- Floor Stand Docket †
- Floor Stand Pipet †
- Adapter
- Tool Holders
- Exhaust Filter
- Pre-filter
- Cyclonic Mesh Filter
Accessories
† This accessory is only available on some models.
Included Accessories

- Charging Station
- Extension Pipe
- Adapter
- Pre-filter
- Battery (Dual Battery †)
- Floor Stand Docks †
- Floor Stand Pipes †
- Exhaust Filters †
- Cyclonic Mesh Filters †
Basic Accessories

- Combination Tool
- Crevice Tool
Nozzles

- Universal Nozzles †
- Hard Floor Nozzles †
- Bedding Nozzles †
- Pet Nozzles †
Installation Kit

- Wall Anchoring Blocks †
- Double-Sided Tapes †
- Drywall Anchors †
- Wall Anchoring Screws †
- Stand Anchoring Screws †
NOTE
- The batteries, exhaust filter, and pre-filter will eventually need to be replaced. Contact an LG Electronics customer service center.
Specifications
- Model: A91**********
- Dimensions (W x D x H): 10.2 in x 10.6 in x 44.1 in (260 mm x 270 mm x 1120 mm)
- Weight: Approximately 5.7 lb (2.7 kg)
- Power Consumption
– 370 W in Turbo Mode (Maximum 480 W)
– 250 Win Power Mode
– 80 W in Normal Mode - Battery Run Time
– Up to 6 minutes in Turbo Mode
– Up to 11 minutes in Power Mode
– Up to 40 minutes in Normal Mode (with the Nozzles)
– Up to 50 minutes in Normal Mode (using the Tool) - Charger Adapter
– Model: ADC-30FSA-30 29430EPCU
– Input: 100 V – 240 V- 50/60 Hz, 0.8 A
– Output: DC 29.4 V 1.0 A - Dimensions are given for the assembled product body, extension pipe, and nozzle.
- Battery run time is the result of using a fully charged battery according to the LG Electronics test standard. Results may be different depending on the actual use environment and period of use.
† The Nozzle contains the direct drive motor that rotates the nozzle cleaning head directly.
Installing the Charging Station
WARNING
- To prevent tipping, self-standing mode installations should be anchored to the wall using the provided stand anchoring screw, anchoring block, and double-sided tape.
CAUTION
- Do not allow children or pets to hang onto the charging station. They could be injured or cause damage to the appliance.
- Take care not to drop the product parts while unpacking them to avoid appliance damage or personal injury. Do not use double-sided tape to attach the charging station to the wallpaper. The weight of the charging station and the product body could damage the paper.
- Use the stand anchoring screw on concrete or solid walls. If the appliance is not anchored securely and falls, it could result in damage to property or the product.
NOTE
- Once assembled, the floor stand dock and the floor standpipe cannot be disassembled.
- The cost of a service call to install or reinstall the charging station is not covered under the warranty.
Wall-Mounted Installation
For wall-mounted installations, the charging station must be attached securely to the wall using the provided (short) wall anchoring screws.
- The detachable nozzle storage cannot be attached to the charging station in a wall-mounted installation.
- Connect the power adapter to the port on the back of the charging station.
- Drill 2 holes and insert the drywall anchors (if needed) at least 3.25 ft (1 m) from the floor and near enough to easily reach a power outlet.
• Before drilling, make sure that there are no pipes or electrical wires inside the wall at the desired location.
• For drywall anchor: use a 1/4″ (6.5 mm) drill bit
• For concrete or wall stud: use a 1/8″ (3 mm) drill bit
• If screwing into drywall, use the drywall anchors.
- Attach the charging station to the wall with the wall anchoring screws.

- Plug the power cord into the power outlet.
Self-Standing Installation
Follow the steps below to install the charging station on a hard and level floor.
CAUTION
- Keep fingers away from pinch points when assembling the appliance or the charging station.

NOTE
- The charging station can be removed as needed. To remove it, hold the floor stand dock steady and pull up on the charging station.

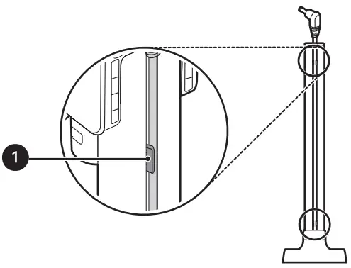
- Place the floor stand dock on a hard and level floor and assemble the floor standpipe.

- Clip the power cord tidily into cord keeper 1 on the back of the floor standpipe.

- Assemble the charging station onto the top of the floor stand pipe.

- Connect the power adapter to the port on the back of the charging station.

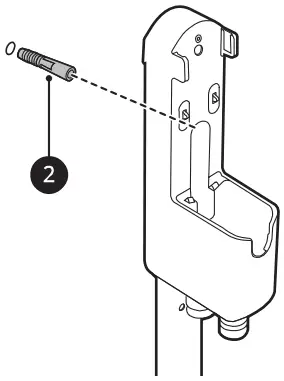
- Drill a hole in the wall and insert the drywall anchor 2 if needed.
• Before drilling, make sure that there are no pipes or electrical wires inside the wall at the desired location.
• For drywall anchor: use a 1/4″ (6.5 mm) drill bit
• For concrete or wall stud: use a 1/8″ (3 mm) drill bit
• If screwing into drywall, use the drywall anchor.
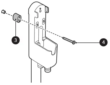
- Align the wall anchoring block 3 of the charging station and fix the charging station to the wall by tightening the anchoring screw 4 all the way.

- Plug the power cord into the power outlet.
Using Double-Sided Tape to Secure the Appliance
- Use double-sided tape 1 to attach the wall anchoring block 2 to the charging station.
• Remove the center section of double-sided tape before attaching it to the wall anchoring block.
- Attach the second piece of double-sided tape to the other side of the wall anchoring block to secure it to the wall.
• Do not use double-sided tape on wallpaper.
Compact Installation
For safety and convenience, install the charging station using the self-standing or wall-mounted installation methods. If you choose not to install the charging station, place it on a level floor for charging or storage.
- Connect the power adapter to the port on the back of the charging station.
- Place the charging station on a hard and level floor.
- Separate the extension pipe and nozzle from the product body before charging or storing the appliance.

- Plug the power cord into the power outlet.
CAUTION
- Leaving the appliance on a level floor for a long time with the extension pipe and nozzle attached may damage the appliance.

Assembling the Appliance
Follow these steps to safely assemble the appliance.
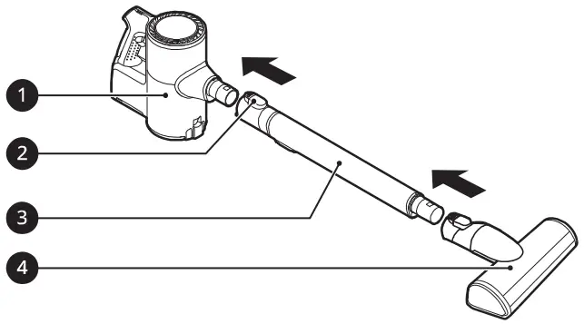
- Firmly attach the extension pipe 3, nozzle 4, or tool onto the product body 1.
• To detach the extension pipe, press the extension pipe release button 2.
- Put the product body on the charging station.
• See Charging the Battery for instructions on installing and charging the battery.
Storing the Accessories
Storing the Tools
Store the frequently used tools such as the combination tool and crevice tool at the bottom of the charging station.
- To remove a tool, press the release button at the front of the tool.





































