Fostoria FES15203A FES-Series Heat Wave Electric Heater

IMPORTANT INSTRUCTIONS
When using electrical appliances, basic precautions should always be followed to reduce the risk of fire, electrical shock, and injury to persons, including the following:
- Read all instructions before using this heater.
- CAUTION: High temperatures. Keep cords and all other combustible material, such as furniture, papers, clothes and curtains away from the heater. For safe and efficient operation, keep an open space around heater of 3 feet in front and 12 inches at ends and rear.
- Extreme caution is necessary when any heater is used by or near children or invalids and whenever the heater is left operating and unattended.
- Do not operate any heater after it malfunctions, has been dropped or damaged in any manner. Return heater to authorized service facility for examination, electrical or mechanical adjustment, or pair.
- Do not use outdoors.
- To disconnect heater, turn controls to off, and turn off power to heater circuit at main disconnect panel (or operate internal disconnect switch if provided).
- Do not insert or allow foreign objects to enter any ventilation or exhaust opening as this may cause an electric shock or fire, or damage the heater.
- To prevent a possible fire, do not block air intakes or exhaust in any manner.
- A heater has hot and arcing or sparking parts inside.
WARNING: Do not use it in area where gasoline, paint, or flammable liquids are used or stored. - Use this heater only as described in this manual. Any other use not recommended by the manufacturer may cause fire, electric shock, or injury to persons.
- This heater may include an audible or visual alarm to warn that parts of the heater are getting excessively, hot. If the alarm sounds (or illuminates), immediately turn the heater off and inspect for any objects on or adjacent to the heater that may have blocked the airflow or otherwise caused high temperatures to have occurred.
DO NOT OPERATE THE HEATER WITH THE ALARM SOUNDING (OR ILLUMINATING) - SAVE THESE INSTRUCTIONS
SPECIFICATIONS
Portable Electric Heaters
| MODEL | PART NUMBER | kW | Volts | PH | AMPS | FAN OUTPUT | HEAT OUTPUT | DIM. A |
| FES-0924-1C | 08743302 | 9 | 240 | 1 | 38 | 800 CFM | 30717 BTUH | 21” |
| FES-1024-1CA | 08860010 | 10 | 240 | 1 | 42 | 800 CFM | 34130 BTUH | 21” |
| FES-1520-3A | 08860110 | 15 | 208 | 3 | 42 | 800 CFM | 51195 BTUH | 21” |
| FES-1524-1A | 08860710 | 15 | 240 | 1 | 63 | 800 CFM | 51195 BTUH | 21” |
| FES-1524-3E | 08860210 | 15 | 240 | 3 | 36 | 800 CFM | 51195 BTUH | 21” |
| FES-1548-3E | 08860310 | 15 | 480 | 3 | 18 | 800 CFM | 51195 BTUH | 21” |
| FES-1560-3A | 08860410 | 15 | 600 | 3 | 15 | 800 CFM | 51195 BTUH | 21” |
| FES-3048-3A | 08860510 | 30 | 480 | 3 | 36 | 1100 CFM | 102390 BTUH | 23” |
| FES-3060-3A | 08860610 | 30 | 600 | 3 | 29 | 1100 CFM | 102390 BTUH | 23” |
Suspended Electric Heaters
| MODEL | PART NUMBER | kW | Volts | PH | AMPS | FAN OUTPUT | HEAT OUTPUT | DIM. A |
| YES-1024-1CA | 08861510 | 10 | 240 | 1 | 42 | 800 CFM | 34130 BTUH | 36” |
| YES-1520-3A | 08860810 | 15 | 208 | 3 | 42 | 800 CFM | 51195 BTUH | 36” |
| YES-1524-1A | 08861810 | 15 | 240 | 1 | 63 | 800 CFM | 51195 BTUH | 36” |
| YES-1524-3E | 08860910 | 15 | 240 | 3 | 36 | 800 CFM | 51195 BTUH | 36” |
| YES-1548-3E | 08861010 | 15 | 480 | 3 | 18 | 800 CFM | 51195 BTUH | 36” |
| YES-1560-3A | 08861110 | 15 | 600 | 3 | 15 | 800 CFM | 51195 BTUH | 36” |
| YES-3048-3A | 08861210 | 30 | 480 | 3 | 36 | 1100 CFM | 102390 BTUH | 38” |
| YES-3060-3A | 08861310 | 30 | 600 | 3 | 29 | 1100 CFM | 102390 BTUH | 38” |
Description
Fostoria portable and suspended electric heaters provide clean, quiet, odor-free, fan-forced heat. They are designed to circulate room air continuously; gradually heating a confined space. The best results will be obtained when using these heaters in smaller, insulated spaces. Features include a safety-yellow enclosure with front and rear safety screens; reliable stainless steel finned heating elements; a high-limit temperature switch with automatic reset; an automatic thermostat control with a fan-only option; and a long-life motor and fan assembly with sealed bearings. The portable (FES) models come mounted on a two-wheeled cart with wheels designed to be easily pushed or pulled over uneven surfaces.
FES Models
All Fostoria FES models come fully assembled except the handle is attached in a lowered shipping position when shipped from the factory. The dimensions above are for handle in operating position. See page 5 for final assembly of handle.
| QTY | DESCRIPTION | QTY | DESCRIPTION |
| 1 | Bracket wall /ceiling | 1 | Rotating stop – Top |
| 1 | Hanger | 1 | Nut stop 1/2-13 |
| 4 | Washer Steel | 1 | Bolt 1/2-13 x 1-1/2 |
| 2 | Knob | 1 | Nylon washer |
| 2 | Washer rubber | 2 | Rotating stop-side |
INSTALLATION
ALL Fostoria YES models require some assembly. Four steps are required to complete the assembly and installation.
Tools required: (2) ¾” socket or box wrenches.
Parts required: the two screws required to secure wall/ceiling bracket to a suitable surface are not supplied with heater. You must use 5/16” bolts and flat washers to mount this bracket.
- Step 1: Install (1) side rotating stop over bolt and into curved slot (as shown at right) on each side of heater.

- Step 2: Assemble hanger to heater per hanger assembly detail. No tools are required.
- Step 3: Secure wall/ceiling mounting bracket to appropriate surface that will support a min. weight of 100 lbs continuously.
NOTE: all mounting hardware to mount hanger to wall/ceiling bracket is supplied with heater. - Step 4: Assemble unit to mounting bracket following the instructions of chosen mounting option below.
WARNING
FALLING OBJECTS HAZARD
FIRE HAZARD
- Serious injury or death may occur. Blessures graves ou la mort peuvent survenir.
- Read and follow all safety information and instructions in box below.
- The mounting bracket supplied with YES models MUST be used to support heater.
- The installer MUST be the certain surface that bracket is mounted to will support 100 lbs of weight continuously.
- Rotating stops MUST be installed as shown above.
- Do not mount heater upside down (See nameplate label for “TOP” of heater.)
- The bottom of these units must be mounted atleast 6 ft. off the floor and the top 2 ft. from the ceiling.
- Do not suspend ANY other equipment from this bracket. One heater per bracket


ASSEMBLY
Tools Required: (2) 7/16” socket or box wrenches.
To position the handle at operating height:
- Step 1: Remove and keep the hardware securing the\ handle to the legs.
- Step 2: Raise handle until holes align with the upper holes in the legs.
- Step 3: Re-insert hardware as shown, and fasten securely.

WIRING
THE PROPER SIZE SO- type feeder cable MUST BE USED for the electrical hook-up of this heater. The proper cable size is shown in the tables below (A.W.G./ # of conductors.) Table 1 is for cable 50ft. in length or less. Table 2 is for cable longer than 50ft.
A 25ft. cable kit can be purchased from the factory. Refer to the kit part numbers in table at right.
CABLE KITS INCLUDE:
- 25 feet of Type SO cable, with either 3-conductors or 4-conductors, depending on the heater requirements.
To order cable kits
Phone: 1-800-495-4525
| Model Table 1 |
Unit Rating | Cable Size – Under 50ft. long | Cable Kit Number |
| FES1520-3A | 15kW, 208 Volt, 3-Ph | 6/4 | 03164001 |
| FES1524-1A | 15kW, 240 Volt, 1-Ph | 4/3 | 08805300 |
| FES1524-3E | 15kW, 240 Volt, 3-Ph | 6/4 | 03164001 |
| FES1548-3E | 15kW, 480 Volt, 3-Ph | 12/4 | 03164201 |
| FES1560-3A | 15kW, 600 Volt, 3-Ph | 12/4 | 03164201 |
| FES3048-3A | 30kW, 480 Volt, 3-Ph | 6/4 | 03164001 |
| FES3060-3A | 30kW, 600 Volt, 3-Ph | 6/4 | 03164001 |
| Model Table 2 | Unit Rating | Cable Size – Over 50ft. long | Max. Cable Length (ft) |
| FES1520-3A | 15kW, 208 Volt, 3-Ph | 4/4 | 120 |
| FES1524-1A | 15kW, 240 Volt, 1-Ph | 2/3 | 215 |
| FES1524-3E | 15kW, 240 Volt, 3-Ph | 6/4 | 150 |
| FES1548-3E | 15kW, 480 Volt, 3-Ph | 12/4 | 140 |
| FES1560-3A | 15kW, 600 Volt, 3-Ph | 12/4 | 190 |
| FES3048-3A | 30kW, 480 Volt, 3-Ph | 6/4 | 300 |
| FES3060-3A | 30kW, 600 Volt, 3-Ph | 6/4 | 350 |
- Feeder cable or cable kit assembly MUST BE made by licensed electricians ONLY.
- Service panel or receptacle used to supply power to these heaters MUST have a ground bus or ground pole that is securely bonded to earth ground.
- Connect green ground conductor on feeder cable or cable kit to grounding lug on heaters.
- Comply with ALL local electrical codes and the National Electric Code (NFPA70) when providing electrical power to these heaters.
ELECTRICAL SHOCK HAZARD FIRE HAZARD
- Serious injury or death may occur
- Disconnect from the electrical supply before installing feeder cable to these heaters.
- Read and follow all safety information in box to the left.
FES-1024-1CA, FES-0924-1C
Models FES-1024-1CA and FES-0924-1C are shipped with a corset factory installed. This corset contains a plug for use with a 50A household range receptacle. The blade configuration on the plug included on these heaters is represented in fig. 1 below (4-wire circuit).
The range receptacle you choose to use may have a blade configuration compatible with the plug shown in fig. 2 (3-wire circuit). This is an older branch circuit design that does not include a separate equipment grounding conductor (green wire). The configuration in fig. 1 has been implemented on newer branch circuit installations for increased safety, and is now the required circuit configuration by the National Electric Code. Changing a 3-wire branch circuit and receptacle to a 4-wire design may involve changes to your range and must only be done by a licensed electrician.
ELECTRICAL SHOCK HAZARD fig. 1 fig. 2
- Serious injury or death may occur.
- Plug heater into a 4-wire receptacle rated 50A.
- Any and all changes to branch circuits and receptacles MUST be done by a licensed electrician ONLY.

3-Phase Models
Attach feeder cable or cable kit to heater as shown in the photograph at left for the following 3-phase models. 







OPERATING INSTRUCTIONS
Fostoria FES and YES series heaters are designed to circulate room air across their heating elements to gradually increase room temperature. The best performance results will be obtained when using these heaters in smaller, confined spaces with low ceilings.
The operation of these heaters is accomplished via the use of a multi-function thermostat (refer to diagram below).
You have the option to use the fan only*, or the fan and heating elements together. Position the knob pointer in the “fan-only” area to circulate room air with no heating. Move the pointer into the “heat” area to energize the heating elements and set the thermostat.
Maximum heating is obtained with knob turned fully clockwise**. Both fan and elements are off when the knob is turned fully counterclockwise.
Allow the fan to operate for a minimum of 3 minutes when you are done using the heater to purge heat from the unit.
*The thermostat has a preset range of 40˚F to 100˚F. If the ambient room temperature is below 40˚F, there will be no “fan only” function as the thermostat is always calling for heat.
**Setting the thermostat to high heat versus low heat does not make the unit operate at a higher temperature. It simply raises the temperature necessary to satisfy the thermostat. The unit will run longer to try to satisfy a higher thermostat setting.
Note: ALL FES/YES models are equipped with an internal over temperature limit designed to protect your heater if a restricted airflow condition occurs. This limit device will completely shut down the heating elements if the temperature limit is reached. The limit will automatically reset when the unit cools.
WARNING
FIRE HAZARD, BURN HAZARD, EXPLOSION HAZARD
- Serious injury or death may occur.
- Read and follow all safety information in box below.
- Do not use outdoors or where flammable gases or liquids are stored.
- Do not use as a residential comfort heater.
- Keep portable heater 3ft. minimum from all combustible materials at all times.
- Do not modify heater in any way.
- Do not provide power to heater when unit is near standing water.
- Only use handle to move heater.
- Do not touch heater housing while in use.
- Do not allow feeder cable to contact combustible materials.
- Always purge heat from unit after use. Operate at “fan only” setting for 3 minutes.
- Extreme caution is necessary when any heater is used or near children or invalids and whenever the heater is left operating and unattended.
- Do not insert or allow foreign objects to enter any ventilation or exhaust opening as this may cause an electric shock or fire, or damage the heater.
REPLACEMENT PARTS LIST & EXPLODED VIEWS
| Ref No. | Description | 1024-1CA
0924-1C | 1520-3A | 1524-3E | 1548-3E | 1560-3A | 3048-3A | 3060-3A |
| 1 | Motor | 08482001 (1) | 08482001 (1) | 08482001 (1) | 08482002 (1) | 08482003 (1) | 08482004 (1) | 08482005 (1) |
| 2 | Bolt carriage ½-13 x 2-3/4 | 32137-001 (2) | 32137-001 (2) | 32137-001 (2) | 32137-001 (2) | 32137-001 (2) | 32137-001 (2) | 32137-001 (2) |
| 3 | Rotating stop | 32127-001 (2) | 32127-001 (2) | 32127-001 (2) | 32127-001 (2) | 32127-001 (2) | 32127-001 (2) | 32127-001 (2) |
| 4 | Thermostat | 02470300 (1) | 02470300 (1) | 02470300 (1) | 02470300 (1) | 02470300 (1) | 02470300 (1) | 02470300 (1) |
| 5 | Washer Reducing (not shown) | N/A | N/A | N/A | 5256 (2) | 5256 (2) | N/A | N/A |
| 6 | Knob thermostat | 02470500 (1) | 02470500 (1) | 02470500 (1) | 02470500 (1) | 02470500 (1) | 02470500 (1) | 02470500 (1) |
| 7 | Strap | 32103-001 (1) | 32103-001 (1) | 32103-001 (1) | 32103-001 (1) | 32103-001 (1) | 32103-001 (1) | 32103-001 (1) |
| 8 | Shroud | 32136-101 (1) | 32103-001 (1) | 32103-001 (1) | 32103-001 (1) | 32103-001 (1) | 32103-001 (1) | 32103-001 (1) |
| 9 | Motor mount bracket | 32122-002 (1) | 32122-002 (1) | 32122-002 (1) | 32122-002 (1) | 32122-002 (1) | 32122-001 (1) | 32122-001 (1) |
| 10 | Screw 10-32x 5/16 SEMS | 32110-001 (8) | 32110-001(12) | 32110-001(12) | 32110-001(12) | 32110-001(12) | 32110-001(24) | 32110-001(24) |
| 11 | Mount motor end | 32121-001 (2) | 32121-001 (2) | 32121-001 (2) | 32121-001 (2) | 32121-001 (2) | 32121-001 (2) | 32121-001 (2) |
| 12 | Washer 9/16 | 42469-001 (8) | 42469-001 (12) | 42469-001 (12) | 42469-001 (12) | 42469-001 (12) | 42469-001 (24) | 42469-001 (24) |
| 13 | Nut hex ¼-20 | 1042 (4) | 1042 (4) | 1042 (4) | 1042 (4) | 1042 (4) | 1042 (4) | 1042 (4) |
| 14 | Washer ¼ | 1036 (8) | 1036 (8) | 1036 (8) | 1036 (8) | 1036 (8) | 1036 (8) | 1036 (8) |
| 15 | Grill | 08480621 (2) | 08480621 (2) | 08480621 (2) | 08480621 (2) | 08480621 (2) | 08480621 (2) | 08480621 (2) |
| 16 | Washer | 43625-004 (4) | 43625-004 (4) | 43625-004 (4) | 43625-004 (4) | 43625-004 (4) | 43625-004 (4) | 43625-004 (4) |
| 17 | Screw 8-18 x ½ | 5081 | 5081 | 5081 | 5081 | 5081 | 5081 | 5081 |
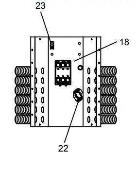
| 18 | Contactor | 58027-038 (1) | 58027-038 (1) | 58027-038 (1) | 58027-035 (1) | 08480403 (1) | 58027-035 (1) | 08480403 (1) |
| 19 | Cordset – not shown | 32147-001 (1) | —— | ——- | ——- | ——- | ——- | ——- |
| 20 | Nut ½-13 | 28952-001 (2) | 28956-001 (2) | 28956-001 (2) | 28956-001 (2) | 28956-001 (2) | 28956-001 (2) | 28956-001 (2) |
| 21 | Screw ¼-20 x ¾ | 3494156 (4) | 43893-009 (4) | 43893-009 (4) | 43893-009 (4) | 43893-009 (4) | 43893-009 (4) | 43893-009 (4) |
| 22 | Over temperature switch | 03183900 (1) | 03183900 (1) | 03183900 (1) | 03183900 (1) | 03183900 (1) | 41041-001 (1) | 41041-001 (1) |
| 23 | Ground Lug | 41254-001 (1) | 41254-001 (1) | 41254-001 (1) | 41254-001 (1) | 41254-001 (1) | 41254-001 (1) | 41254-001 (1) |
| 24 | Connector | 32108-002 (1) | 32108-002 (1) | 32108-002 (1) | 32108-001 (1) | 32108-001 (1) | 32108-002 (1) | 32108-002 (1) |
| 25 | Baffle – not shown | 32130-001 (1) | 32130-001 (1) | 32130-001 (1) | 32130-001 (1) | 32130-001 (1) | 32130-001 (1) | 32130-001 (1) |
| 26 | Bussbar – not shown | 32115-001 (4) | 32115-001 (8) | 32115-001 (8) | 32115-001 (5) | 32115-001 (5) | 32115-001 (10) | 32115-001 (10) |
| 27 | Element inner 1024-C1A | 08481401 (2) | 08481403 (3) | 08481401 (3) | 08481401 (3) | 08481405 (3) | 08481401 (6) | 08481405 (6) |
| 0924-C1 | 91005-021 (2) | |||||||
| 28 | Element outer 1024-C1A | 08481402 (2) | 08481404 (3) | 08481402 (3) | 08481402 (3) | 08481406 (3) | 08481402 (6) | 08481406 (6) |
| 0924-C1 | 91005-022 (2) | |||||||
| 29 | Blade fan – not shown | 08422300 (1) | 08422300 (1) | 08422300 (1) | 08422300 (1) | 08422300 (1) | 08422300 (1) | 08422300 (1) |
| 30 | Cover | 32125-101 (1) | 32125-101 (1) | 32125-101 (1) | 32125-101 (1) | 32125-101 (1) | 32125-101 (1) | 32125-101 (1) |
| 35 | Flanged Inlet Cover | N/A | 58769-102 (1) | 58769-102 (1) | 58769-102 (1) | 58769-102 (1) | 58769-102 (1) | 58769-102 (1) |
| 36 | Flanged Inlet Recept. | N/A | 58758-003 (1) | 58758-003 (1) | 58758-001 (1) | 58758-002 (1) | 58758-004 (1) | 58758-002 (1) |
| 37 | Locking Connector | N/A | 58759-003 (1) | 58759-003 (1) | 58759-001 (1) | 58759-002 (1) | 58759-004 (1) | 58759-002 (1) |
| Ref No. | Description | 1524-1A |
| 1 | Motor | 08482001 (1) |
| 2 | Bolt carriage ½-13 x 2-3/4 | 32137-001 (2) |
| 3 | Rotating stop | 32127-001 (2) |
| 4 | Thermostat | 02470300 (1) |
| 5 | Washer Reducing (not shown) | N/A |
| 6 | Knob thermostat | 02470500 (1) |
| 7 | Strap | 32103-001 (1) |
| 8 | Shroud | 32136-101 (1) |
| 9 | Motor mount bracket | 32122-001 (1) |
| 10 | Screw 10-32x 5/16 SEMS | 32110-001 (12) |
| 11 | Mount motor end | 32121-001 (2) |
| 12 | Washer 9/16 | 42469-001 (12) |
| 13 | Nut hex ¼-20 | 1042 (4) |
| 14 | Washer ¼ | 1036 (10) |
| 15 | Grill | 08480621 (2) |
| 16 | Washer | 43625-004 (4) |
| 17 | Screw 8-18 x ½ | 5081 |
| 18 | Contactor | 58027-053 (1) |
| 19 | ||
| 20 | Nut ½-13 | 28956-001 (2) |
| 21 | Screw ¼-20 x ¾ | 43893-009 (4) |
| 22 | Over temperature switch | 03183900 (1) |
| 23 | Ground Lug | 41254-001 (1) |
| 24 | Connector | 32108-002 (1) |
| 25 | Baffle – not shown | 32130-001 (1) |
| 26 | Bussbar – not shown | 32115-001 (8) |
| 27 | Element inner 1024-C1A | 08481401 (3) |
| 28 | Element outer 1024-C1A | 08481402 (2) |
| 29 | Blade fan – not shown | 08422300 (1) |
| 30 | Cover | 32125-101 (1) |
| 31 | Bracket fuse block | 32128-001 (1) |
| 32 | Fuse block | 50836-020 (2) |
| 33 | Fuse type FLNR-40 250V | 41280-003 (4) |
| 34 | Terminal block | 51243-002 (1) |


REPLACEMENT PARTS LIST & EXPLODED VIEWS
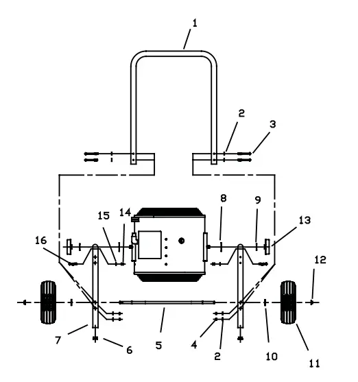
| Ref No. | Description | Part No. |
| 1 | Handle | 32117-001 |
| 2 | Washer flat ¼ | 436258-005 |
| 3 | Screw ¼-20 x 2-3/4 | 43893-008 |
| 4 | Nut stop ¼-20 | 43894-001 |
| 5 | Axle | 58649-001 |
| 6 | Cap plug | 32109001 |
| 7 | Leg | 32117-002 |
| 8 | Washer rubber | 32123-001 |
| 9 | Spacer | 32120-001 |
| 10 | Washer flat ½ | 32142-001 |
| 11 | Wheel | 58648-001 |
| 12 | Push nut | 54877001 |
| 13 | Bar Knob | 32141-01 |
| 14 | Spacer | 32106-001 |
| 15 | Washer lock ¼ | 1036 |
| 16 | Screw ¼-20 x 1-3/4 | 32111-001 |
YES REPLACEMENT PARTS LIST & EXPLODED VIEWS
| Ref No. | Description | Part No. | Qty. |
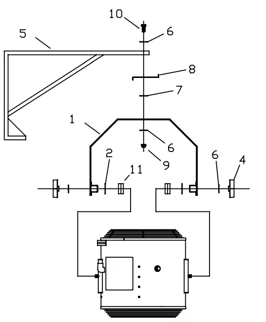
| 1 | Hanger | 32145-003 | 1 |
| 2 | Washer rubber | 32123-001 | 2 |
| 3 | |||
| 4 | Bar knob | 32141-001 | 2 |
| 5 | Mounting bracket | 57074-102 | 1 |
| 6 | Washer fender | 32142-001 | 4 |
| 7 | Washer nylon | 32143-001 | 1 |
| 8 | Rotating stop | 32144-001 | 1 |
| 9 | Nut stop ½-13 | 43923-001 | 1 |
| 10 | Screw ½-13 x 1-1/2 | 28953-004 | 1 |
| 11 | Rotating Stop – Side | 32146-001 | 2 |
To convert an FES unit to a YES unit order the Fostoria kit Model WMK-YES p/n 04804102.
MAINTENANCE
Other than periodic cleaning of the exterior, no maintenance is required for these heaters.
- Do not hose these units down.
- Remove dust and dirt from inside heater with compressed air.
- Do not operate these heaters without the grills or the wiring compartment cover in place.
- Replace or repair feeder cable or cord set if visible damage is observed.
- Motor bearings are permanently lubricated.
ELECTRICAL SHOCK HAZARD
- Serious injury or death may occur.
- Disconnect from electrical supply before servicing or cleaning these heaters.
- Do not operate without grills and access covers fastened in place.
FAQS
is this power cord ready and what are the dimensions of this heater?
No power cord. Dimensions from floor to top of handle: 39″ Width from wheel to wheel: 27″ From front to back: 23″
what size breaker and wire are needed for this heater?
One question you have to ask is how far the heater is from the power source. In my application, the distance was under 50′ so I did not need to factor in voltage drop. I have a 120/208 3 phase system. I used Number 6, 4 conductors SO cord, and a 60 amp 3 phase breaker
Can this be ceiling mounted? They show it ceiling mounted in the pictures but they don’t mention the inclusion of mounting hardware.
Yes there is a universal mount that converts portables to wall or ceiling mount. You can find it in our store.
How noisy is the heater?
It gets pretty loud. Used it for a painting project in a warehouse with no heat. Does the job well but loud humming from the fan.
Does this come already mounted on the wheels or does that have to be purchased separately?
Includes two 10″ wheels
Is this heater Explosion proof and safe for paint booth?
It is not explosion proof or safe for a paint booth.
what size breaker does it need and what size electrical wire from electrical box to unit?
240v. There is a special cord with a special plug that fits the outlet. You probably need an electrician to wire a special outlet.
how many sq feet does this cover also, I have 3 phase, would it be more economical to use 3 phase heater?
coverage is about 1,000 sq ft with a 30 degree rise. electricity will cost the same either way. electric fan coil heaters are an equal KW per BTU no matter the voltage or amperage. this is 10kw for 32,000 BTU
it is usually better to have single phase if you are going to use the heater at multiple building locations because not all buildings have 3 phase power.
Is the cable included How long is it?
The electric cord for this unit is not included.
How many amps does it require? i.e., would 40 amp 240 volt breaker be adequate?
Loren: 40amp is adequate as the unit draws 36amps, 50amp breaker is recommended.
Does this model come with the cord?
10’L power cord with 50-amp plug is pre-wired at factory
Does the tpi corporation fes 1524 1a come with a plugged power cord?
The 1524 does not come with a power cord.

























