PENDANT LIGHT
IPL1097A03XX13
10/21
INSTRUCTIONS PERTAINING TO RISK OF FIRE OR INJURY TO PERSONS READ ALL INSTRUCTIONS
IMPORTANT SAFETY INSTRUCTIONS SAVE THESE INSTRUCTIONS
TOOLS AND MATERIALS REQUIRED:
![]()
Wiring supplies as required by local electrical code
SAFETY PRECAUTIONS:
- TURN OFF ELECTRICAL POWER BEFORE STARTING INSTALLATION OF LIGHT FIXTURE.
- THIS PRODUCT MUST BE INSTALLED IN ACCORDANCE WITH THE APPLICABLE INSTALLATION CODE BY A PERSON FAMILIAR WITH THE CONSTRUCTION AND OPERATION OF THE PRODUCT AND THE HAZARDS INVOLVED.
- CONNECT THE GROUND WIRES (BARE COPPER OR GREEN) FROM YOUR FIXTURE TO THE GROUND WIRE (BARE COPPER OR GREEN) OR GROUND SCREW IN THE ELECTRICAL BOX.
- TO CLEAN THE FIXTURE, TURN OFF THE POWER, WAIT FOR IT TO COOL, AND WIPE THE FIXTURE WITH A CLEAN, SOFT CLOTH.
NOTE: Product may not look exactly as shown in figures.
INSTALLATION:

Note: Determine desired mounting option prior to proceeding with installation.
- A. INSTALLATION FOR PENDANT MOUNT
i. Position the cover in place. Install the length of rod that is required by threading wire through the rod and screwing it to the fixture. Install swivel to the rod, ensuring that the sleeve is at the swivel.
B. INSTALLATION FOR SEMI FLUSH MOUNT
i. Position the cover in place. Place the canopy over the nipple on the fixture and secure in place with the star washer, ground wire and hex nut.
- Loosen “B”. Adjust stud to the desired length and lock in place with “B”. Mount the mounting bracket to outlet box using electrical box screws (not included). Make sure the tuds on the mounting bracket are facing out from the electrical box.

- Connect the ground wires (bare copper or green) from your fixture to the ground wire (bare copper or green) or ground screw in the electrical box.
Connect the black wire or wire with marking) from the fixture to the black wire in the electrical box and connect the white wire from the fixture to the white wire in the electrical box.
- Once connections of wires are completed, carefully tuck wires and wire nuts into the electrical box making sure no bare wire (on the black and white) is visible at the wire nuts.
- Position fixture over studs on mounting bracket assembly. A secure fixture in place with star washers and cap nuts.

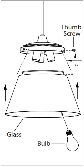
- Remove the thumb screws that are already on the fixture. Attach the glass shade to the fixture using the thumb screws (tighten with fingers only).
- Install specified bulb type and wattage (not included).
NEED HELP?
Call or Email us first
Our service team is ready to answer your questions…
1-800-265-1833 (English) / 1-800-567-2513 (French)
IN CANADA – [email protected]
IN USA – [email protected]
Tel: (613) 342-5424,
Fax: (800) 263-4598
Monday – Friday 8Am_5pm E.S.T





















