Whirlpool WFG525S0HT Freestanding Gas Range Control

FEATURE GUIDE
WARNING: To reduce the risk of fire, electric shock, or injury to persons, read the IMPORTANT SAFETY INSTRUCTIONS, located in your appliance’s Owner’s Manual, before operating this appliance.
These instructions cover several models. Your model may have some or all of the items listed. Refer to these instructions or the Frequently Asked Questions (FAQs) section of our website at www.whirlpool.com for more detailed instructions. In Canada, visit our website at www.whirlpool.ca
WARNING: Food Poisoning Hazard
Do not let food sit for more than one hour before or after cooking.
Doing so can result in food poisoning or sickness.



AquaLift® Self-Cleaning Technology
AquaLift® Self-Cleaning Technology is a first-of-its-kind cleaning solution designed to minimize the time, temperature, and odors that ordinarily come with traditional self-cleaning methods. With AquaLift® Self-Cleaning Technology, an innovative coating on the interior of the oven is activated with heat and water to release baked-on soil. To use AquaLift® Self-Cleaning Technology, simply wipe out loose debris, pour water into the oven bottom, and run the AquaLift® Self-Cleaning cycle. When the cycle finishes in under 1 hour at a lower temperature than in traditional self-cleaning methods, just wipe out the remaining water and loose debris. See the “Clean Cycle” section in the Owner’s Manual for more detailed instructions. For additional information, frequently asked questions and videos on using AquaLift® Self-Cleaning Technology, visit our website at http://whirlpoolcorp.com/aqualift
Preheating
When beginning a Bake, Convect Bake, or Convect Roast cycle, the oven will begin preheating after Start is pressed. The oven will take approximately 12 to 15 minutes to reach 350°F (177°C) with all of the oven racks provided with your oven inside the oven cavity. Higher temperatures will take longer to preheat. The preheat cycle rapidly increases the oven temperature. The actual oven temperature will go above your set temperature to offset the heat lost when your oven door is opened to insert food. This ensures that when you place your food in the oven, the oven will begin at the proper temperature. Insert your food when the preheat tone sounds. Do not open the door during preheat before the tone sounds.
Surface Temperatures
When the range is in use, all range surfaces may become hot, such as the knobs and oven door.
Baking, Warming or Storage Drawer
When the oven is in use, the drawer may become hot. Do not store plastics, cloth, or other items that could melt or burn in the drawer.
Oven Vent
The oven vent releases hot air and moisture from the oven, and should not be blocked or covered. Do not set plastics, paper, or other items that could melt or burn near the oven vent.
Sealed Surface Burners

A. Burner cap
B. Burner base
C. Alignment pins
D. Igniter
E. Gas tube opening
IMPORTANT: Do not obstruct the flow of combustion and ventilation air around the burner grate edges.
Burner cap: Always keep the burner cap in place when using a surface burner. A clean burner cap will help avoid poor ignition and uneven flames. Always clean the burner cap after a spillover and routinely remove and clean the caps according to the “General Cleaning” section.
Alignment: Be sure to align the gas tube opening in the burner base with the orifice holder on the cooktop and the igniter electrode with the notch in the burner base.
Gas tube opening: Gas must flow freely throughout the gas tube opening for the burner to light properly. Keep this area free of soil, and do not allow spills, food, cleaning agents, or any other material to enter the gas tube opening. Keep spillovers out of the gas tube by always using a burner cap.

Burner ports: Check burner flames occasionally for proper size and shape as shown in the previous illustration. A good flame is blue in color, not yellow. Keep this area free of soil and do not allow spills, food, cleaning agents, or any other material to enter the burner ports.
To Clean:
IMPORTANT: Before cleaning, make sure all controls are off and the oven and cooktop are cool. Do not use oven cleaners, bleach, or rust removers.
- Remove the burner cap from the burner base and clean according to the “General Cleaning” section in the Owner’s Manual.
- Clean the gas tube opening with a damp cloth.
- Clean clogged burner ports with a straight pin as shown.
Do not enlarge or distort the port. Do not use a wooden toothpick. If the burner needs to be adjusted, contact a trained repair specialist.
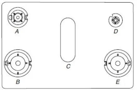
- Replace the burner base. Each round burner base is marked with a letter indicating the burner size. See the following illustration for burner positions.
A. Medium (Semi Rapid)
B. Large (Ultra Rapid)
C. Oval (OV)
D. Small (Auxiliary)
E. Large (Ultra Rapid) - Replace the burner cap, making sure the alignment pins are properly aligned with the burner cap.
A. Incorrect
B. Correct - Place the burner caps on the appropriate burner bases.
IMPORTANT: The bottom of the small and medium caps are different. Do not put the wrong size burner cap on the burner base.
- Turn on the burner. If the burner does not light, check cap alignment. If the burner still does not light, do not service the sealed burner yourself. Contact a trained repair specialist.
EZ-2-Lift™ Hinged Cast Iron Grates
The grates must be properly positioned before cooking. In the proper position, the grates should be flush and level. Improper installation of the grates may result in chipping or scratching of the cooktop.
Your cooktop comes with hinged grates for easier cleaning. The grates pivot to the side for easy access under the grates.
The grates will stop once they are moved to their vertical (fully open) position. A 20″ (50.8 cm) minimum clearance from the countertop to the bottom of the upper cabinets/appliances is needed to fully open the grates.

Be sure to return the grates to their normal (down) position once cleaning is complete.
The grates are removable for cleaning.
To attach the grates to their hinges, insert the grate slot over the hinge pin on the side of the cooktop. Be sure to keep the grate angled above the cooktop to avoid scratching the cooktop until the grate is seated on the hinge pin. Then position the grate down onto the cooktop.

A. Grate slot
B. Hinge pin
Although the burner grates are durable, they will gradually lose their shine and/or discolor due to the high temperatures of the gas flame.
Cookware
IMPORTANT: Do not leave empty cookware on a hot surface cooking area, element or surface burner.
Ideal cookware should have a flat bottom, straight sides and a well-fitting lid, and the material should be of medium-to-heavy thickness.
Rough finishes may scratch the cooktop or grates. Aluminum and copper may be used as a core or base in cookware. However, when used as a base they can leave permanent marks on the grates.
Cookware material is a factor in how quickly and evenly heat is transferred, which affects cooking results. A nonstick finish has the same characteristics as its base material. For example, aluminum cookware with a nonstick finish will take on the properties of aluminum.
Cookware with nonstick surfaces should not be used under the broiler.
Check for flatness by placing the straight edge of a ruler across the bottom of the cookware. While you rotate the ruler, no space or light should be visible between it and the cookware.

Use the following chart as a guide for cookware material characteristics.

For best results, the cookware should be centered above the burner with the bottom sitting level on the grate. The flame should be adjusted so that it does not extend up the sides of the pan.

Home Canning
When canning for long periods, alternate the use of surface burners between batches. This allows time for the most recently used areas to cool.
- Center the canner on the grate above the burner.
- Do not place canner on 2 surface burners at the same time.
- For more information, contact your local agricultural extension office or refer to published home canning guides. Companies that manufacture home canning products can also offer assistance.
Oven Use
Odors and smoke are normal when the oven is used the first few times or when it is heavily soiled.
IMPORTANT: The health of some birds is extremely sensitive to the fumes given off. Exposure to the fumes may result in death to certain birds. Always move birds to another closed and well-ventilated room.
NOTE: The convection fan will shut off when the oven door is opened. If the oven door remains open for too long, the heating elements will shut off until the oven door is closed. All timers, including any active Cook Time or Timed Cook functions, will continue to count down.
Electronic Oven Controls
Control Display
The display will flash when powered up or after a power loss. Press the Cancel keypad to clear. When the oven is not in use, the time of day is displayed.
Fahrenheit and Celsius
The temperature is preset to Fahrenheit but can be changed to Celsius.
To change: Press and hold the Temp/Time up arrow keypad for 5 seconds. “°C” or “°F” will appear on the display. Repeat to change back.
To exit mode, press the Cancel keypad.
Keypress Tones
Activates or turns off the tones when a keypad is pressed.
To change: Press and hold LIGHT for 5 seconds. Repeat to change back.
To exit mode, press the Cancel keypad.
Demo Mode
IMPORTANT: This feature is intended for use on the sales floor with 120 V power connection and permits the control features to be demonstrated without the oven turning on. If this feature is activated, the oven will not work.
To change: Press the Cancel keypad, the Cancel keypad, the Temp/Time up arrow keypad, and TIMER SET/OFF. Repeat to change back and end Demo mode.
Tones
Tones are audible signals, indicating the following:
One Tone
- Valid keypad press
- Oven is preheated (long tone)
- Function has been entered.
- Reminder (on some models), repeating every 20 seconds after the end-of-cycle tones
Three Tones
Invalid keypad press
Four Tones
End of cycle
On some models: Use the Clock/Tools keypad to change the tone settings.
Oven Temperature Offset Control
IMPORTANT: Do not use a thermometer to measure oven temperature. Elements will cycle on and off as needed to provide consistent temperature but may run slightly hot or cool at any point in time due to this cycling. Most thermometers are slow to react to temperature change and will not provide an accurate reading due to this cycling.
The oven provides accurate temperatures; however, it may cook faster or slower than your previous oven, so the temperature can be adjusted to personalize it for your cooking needs. It can be changed to Fahrenheit or Celsius.
To Adjust Oven Temperature:
- Press and hold the Temp/Time down arrow keypad for 5 seconds until the oven display shows the current setting, for example “0°F CAL” or “00.”
- Press the Temp/Time up or down arrow keypad to increase or to decrease the temperature in 5°F (3°C) amounts. The adjustment can be set between 30°F (18°C) and -30°F (-18°C).
- Press the Start keypad.
Sabbath Mode
For guidance on usage and a complete list of models with Sabbath mode, visit www.star-k.org
The Sabbath mode sets the oven to remain on in a Bake setting until turned off. A Timed Bake can also be set to keep the oven on for only part of the Sabbath. The Oven Control Lockout feature will be disabled during the Sabbath mode. After the Sabbath mode is set, no tones will sound, the display will not show the temperature, the Kitchen Timer mode will be canceled (if active), and only the following keypads will function:
- Temp/Time up and down arrow keypads
- Cancel
When the oven door is opened or closed, the oven light will not turn on or off and the heating elements will not turn on or off immediately.
When power is restored after a power failure, the oven will return to Sabbath mode and remain Sabbath compliant with the bake elements off until the Cancel keypad is pressed.
Pressing the Cancel keypad at any time returns the oven to the normal cooking mode (not Sabbath compliant).
Before entering the Sabbath mode, it must be decided if the oven light is to be on or off for the entire Sabbath mode period. If the light is on when entering Sabbath mode, it will remain on for the entire time Sabbath mode is in use. If the light is off when entering Sabbath mode, it will remain off for the entire time Sabbath mode is in use. Opening the oven door or pressing LIGHT will not affect the oven light once Sabbath mode has been entered.
On the Holiday, the oven temperature can be changed once the oven is in Sabbath mode by pressing the Temp/Time up or down arrow keypad. The oven temperature will change 25°F (14°C) each time the Temp/Time up and down arrow keypads are pressed. Press the Start keypad to activate the new temperature. The display will not change and there will be no sounds during this adjustment.
To Activate and Bake Using Sabbath Mode:
- Press BAKE.
- Press the Temp/Time up or down arrow keypad.
- Press the Start keypad.
- Press and hold TIMER SET/OFF for 5 seconds. “SAb” will flash in the display.
- Press the Start keypad while “SAb” is flashing to enter Sabbath mode; otherwise, the entire cycle cancels out. “SAb” will stop flashing and remain on in the display. The oven is now in Sabbath mode and is Sabbath compliant.
Pressing the Cancel keypad at any time returns the oven to the normal cooking mode (not Sabbath compliant).
NOTE: On some models: If “SAb” does not appear in your display, the Sabbath mode is not active. After Sabbath mode is deactivated, you must activate Sabbath mode by completing steps 1 through 5.
To Set a Timed Bake Using Sabbath Mode (on some models):
- Press BAKE.
- Press the Temp/Time up or down arrow keypad to enter a temperature other than the one displayed.
- Press COOK TIME. The Cook Time oven indicator light will light up.
- Press the Temp/Time up or down arrow keypad to enter a cook time length.
- Press the Start keypad.
- Press and hold TIMER SET/OFF for 5 seconds. “SAb” will flash in the display.
- Press the Start keypad while “SAb” is flashing to enter Sabbath mode; otherwise, the entire cycle cancels out. “SAb” will stop flashing and remain on in the display. The oven is now in Sabbath mode and is Sabbath compliant. The Bake, On, and Cook Time indicator lights will be displayed.
When the set cook time ends, the oven will shut off automatically and the indicator lights will turn off, indicating the end of the cycle.
Pressing the Cancel keypad at any time returns the oven to the normal cooking mode (not Sabbath mode compliant).
NOTE: If “SAb” does not appear in your display, the Sabbath mode is not active. After Sabbath mode is deactivated, you must activate Sabbath mode by completing steps 1 through 5.
To Set a Delayed Timed Bake Using Sabbath Mode (on some models):
- Press BAKE.
- Press the Temp/Time up or down arrow keypad to enter a temperature other than the one displayed.
- Press COOK TIME. The Cook Time oven indicator light will light up.
- Press the Temp/Time up or down arrow keypad to enter a cook time length.
- Press DELAY START. The Delay indicator light will light up.
- Press the Temp/Time up or down arrow keypad to enter a start time.
- Press the Start keypad.
- Press and hold TIMER SET/OFF for 5 seconds. “SAb” will flash in the display.
- Press the Start keypad while “SAb” is flashing to enter Sabbath mode; otherwise, the entire cycle cancels out. “SAb” will stop flashing and remain on in the display. The oven is now in Sabbath mode and is Sabbath compliant. The On and Delay indicator lights will be displayed.
When the start time is reached, the Bake, On, and Cook Time indicator lights will automatically turn on. When the set cook time ends, the oven will shut off automatically and the indicator lights will turn off, indicating the end of the cycle.
Pressing the Cancel keypad at any time returns the oven to the normal cooking mode (not Sabbath mode compliant).
NOTE: On some models: If “SAb” does not appear in your display, the Sabbath mode is not active. After Sabbath mode is deactivated, you must activate Sabbath mode by completing steps 1 through 5.
Keep Warm
NOTE: The convection fan will shut off when the oven door is opened. If the oven door remains open for too long, the heating elements will shut off until the oven door is closed. All timers, including any active Cook Time or Timed Cook functions, will continue to count down.
IMPORTANT: Food must be at serving temperature before placing it in the warmed oven. Food may be held up to 1 hour; however, breads and casseroles may become too dry if left in the oven during the Keep Warm function. For best results, cover food.
The Keep Warm feature allows hot cooked foods to stay at serving temperature.
To Use:
- Press KEEP WARM.
- Press Temp/Time up or down arrow keypad until desired temperature is reached. A tone will sound if the minimum or maximum temperature is reached.
- Press the Start keypad.
- Place food in the oven.
- Press the Cancel keypad when finished (on some models).
NOTE: The temperature may be changed at any time by pressing the Temp/Time up or down arrow keypad to reach the desired temperature and then pressing the Start keypad.
Positioning Racks and Bakeware
Use the following illustrations and chart as a guide.

The oven has seven positions for a flat rack, as shown in the previous illustration and the following table.
Flat Rack Position Type of Food
7 Broiling/searing meats, hamburgers, steaks
6 Broiled meats, poultry, fish
3 or 4 Most baked goods, casseroles, frozen foods
2 Roasted meats
1 Large roasts or poultry
IMPORTANT: If your model has a Max Capacity Oven Rack, the recessed ends must be placed in the rack position above the desired position of the food. See the following illustration.

A. Ends of rack in position 3
B. Food in position 2
IMPORTANT: These rack positions are for flat racks. If a Max Capacity Oven Rack is used, the rack position must be adjusted as shown in the previous figure.
Bakeware
To cook food evenly, hot air must be able to circulate. Allow 2″ (5 cm) of space around bakeware and oven walls. Make sure that no bakeware piece is directly over another.
Multiple Rack Cooking
Two-rack (non-convection): Use rack positions 2 and 5 or 3 and 6.
Two-rack (convection): Use rack positions 2 and 5 or 3 and 6.
Three-rack (convection): Use rack positions 2 and 7 and a Max Capacity Oven Rack in rack position 5.
Baking and Roasting
Temperature Management System
The temperature management system electronically regulates the oven heat levels during preheat and bake to maintain a precise temperature range for optimal cooking results. The bake and broil elements cycle on and off in intervals. The bake element will glow red when cycling on; the broil element will not. This feature is automatically activated when the oven is in use.
Before baking and roasting, position racks according to the “Positioning Racks and Bakeware” section. When roasting, it is not necessary to wait for the oven to preheat and food may be placed in the oven immediately, unless preheat is recommended in the recipe.
Preheating
When Start is pressed, the oven will begin preheating. Once 100°F (35°C) is reached, the display temperature will increase as the actual temperature of the oven increases. When the preheat temperature is reached, a tone will sound, and the selected temperature will appear on the display. The time necessary to preheat the oven to 350°F (177°C) is approximately 10 to 15 minutes. Factors that have an impact on preheat times are: room temperature, starting oven temperature, and the number of oven racks. Unused oven racks can be removed prior to preheating your oven to reduce the preheat times.
Frozen Bake™
Frozen Bake™ Technology automatically adjusts the manufacturer’s bake time by combining preheating and baking, to deliver great packaged frozen food results without the wait. There are six programmed food options to choose from: Pizza, Lasagna, Nuggets, Fries, Pie, and Meal. The Frozen Bake™ cycles have been customized to work only with these foods. When using Frozen Bake™ Technology, it is important that you follow all manufacturer’s instructions including venting, covering, stirring or placing on a baking sheet to ensure a good result. When cooking frozen meals, only cook items that provide instructions for cooking in a conventional oven. Place your dish in the center of the rack and select one of the rack positions recommended for Frozen Bake in the “Positioning Racks and Bakeware” section and bake only one package or pan at a time. Use the temperature and maximum bake time from the package.
A tone will alert you to check the food for doneness before the cook time is complete and again at the end of the cook time. The display will prompt you to add additional cook time if desired or needed at end the cycle.
Broiling
When broiling, preheat the oven for 5 minutes before putting food in, unless recommended otherwise in the recipe. Position food on grid in a broiler pan, and then place it in the center of the oven rack.
IMPORTANT: Close the door to ensure proper broiling temperature.
Changing the temperature when broiling allows more precise control when cooking. The lower the broil setting, the slower the cooking. Thicker cuts and unevenly shaped pieces of meat, fish, and poultry may cook better at lower broil settings. Use racks 6 or 7 for broiling. Refer to the “Positioning Racks and Bakeware” section for more information.
For best results, use a broiler pan and grid. It is designed to drain juices and help avoid spatter and smoke.
If you would like to purchase a broiler pan, one may be ordered. See the Quick Start Guide for contact information.
NOTE: Odors and smoke are normal the first few times the oven is used or if the oven is heavily soiled.
Convection Baking and Roasting (on some models)
In a convection oven, the fan-circulated hot air continually distributes heat more evenly than the natural movement of air in a standard thermal oven. This movement of hot air helps maintain a consistent temperature throughout the oven, cooking foods more evenly, crisping surfaces while sealing in moisture, and yielding crustier breads.

With convection cooking, most foods can be cooked at a temperature 25°F (15°C) lower than in a standard thermal oven and cooking time can be shortened by up to 30%.
During convection baking or roasting, the bake and broil elements cycle on and off in intervals to maintain the oven temperature, while the fan circulates the hot air.
If the oven door is opened during convection baking or roasting, the fan will turn off immediately. It will come back on when the oven door is closed.
NOTE: The convection fan will turn on approximately 5 minutes into any convection cycle.
Cook Time
To Set a Timed Cook:
- Press BAKE. The Bake indicator light will light up.
- Press the Temp/Time “up” or “down” arrow keypad to enter a temperature other than the one displayed.
- Press COOK TIME. The Cook Time oven indicator light will light up.
- Press the Temp/Time “up” or “down” arrow keypad to enter the length of time to cook.
- Press the Start keypad. The display will count down the time. When the time ends, the oven will shut off automatically.
- Press the Cancel keypad to clear the display.
To Set a Delayed Timed Cook:
Before setting, make sure the clock is set to the correct time of day. See “Clock” keypad feature in the “Feature Guide” section.
- Press BAKE.
- Press the Temp/Time “up” or “down” arrow keypad to enter a temperature other than the one displayed.
- Press COOK TIME. The cook time oven indicator light will light up.
- Press Temp/Time “up” or “down” arrow keypad to enter the length of time to cook.
- Press DELAY START. The Delay Oven indicator light will light up.
- Press Temp/Time “up” or “down” arrow keypad to enter the time of day to start.
- Press the Start keypad.
When the start time is reached, the oven will automatically turn on. The Temperature and/or Cook Time settings can be changed anytime after the oven turns on by repeating steps 2-4 and pressing the Start keypad. To change to a different delay time, cancel the features and repeat steps 1-7. When the set cook time ends, the oven will shut off automatically. - Press the Cancel keypad to clear the display.


A. Medium (Semi Rapid)
A. Incorrect



















