STIHL BGA 45 Battey Powered Blower with Integrated Lithium

Overview
Blower and Charging Cable
The rechargeable battery is built into the blower.

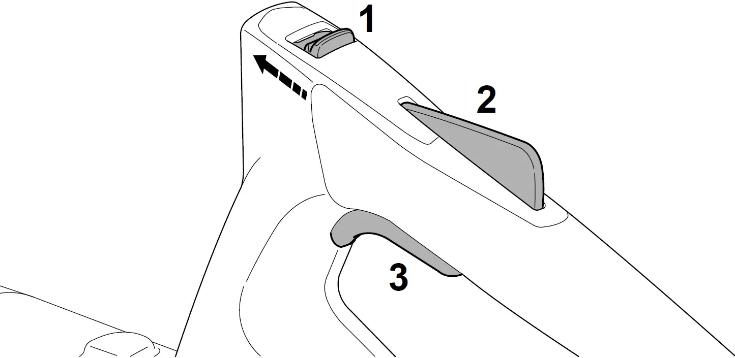
- Release Slide
Operated together with the trigger lockout to unlock the trigger. - Trigger
The trigger switches the blower on and off. - Trigger Lockout
Locks trigger in position. - LEDs
Indicate blower’s state of charge and mal‐functions. - Button
Activates the LEDs on the blower. - Intake Screen
Protects the operator from moving parts inside the blower. - Charging Socket
Accommodates the charger plug. - Activation Key
Activates the blower. - Key Socket
Accommodates the activation key. - Control Handle
For operating, controlling and carrying the blower. - Blower tube
Directs the airstream. - Nozzle
Directs and concentrates the airstream. - Charger Plug
Connects charging cable to charger socket. - Connecting Cable
Connects charger plug to appliance plug. - Appliance Plug
Connects charging cable to wall outlet. - Charging Cable
Serves to charge the blower.
Safety Precautions
Introduction
This product was designed for safe operation and features safety devices. Nevertheless, you should observe the following safety precautions in order to avoid possible dangers.
Intended Use
The STIHL BGA 45 blower is designed for blow-sweeping leaves, grass, paper and similar matter.
Do not use the blower in the rain.
A built-in battery supplies the blower with power.
The STIHL LK 45 charging cable recharges the STIHL BGA 45 blower.
WARNING
- Charging cables or power supply units not explicitly approved for the blower by STIHL may cause a fire or explosion. This can result in serious or fatal injuries and damage to property.
- Always recharge a STIHL BGA 45 blower with a STIHL LK 45 charging cable.
- Using the blower or the charging cable for purposes for which they were not designed may result in serious or fatal injuries and damage to property.
- Use the blower and charging cable as described in this instruction manual.
The Operator
WARNING
- Users without adequate training or instruction cannot recognize or assess the risks involved in using the blower and charging cable. The user or other persons may sustain serious or fatal injuries.
- Read, understand and save the instruction manual.
- If you pass the blower and charging cable on to another user: Always give them the instruction manual.
- Make sure the user meets the following requirements:
- The user must be rested.
- The user must be in good physical condition and mental health to operate and work with the blower and the charging cable. If the user’s physical, sensory or mental ability is restricted, he or she may work only under the super‐vision of or as instructed by a responsible person.
- The user is able to recognize and assess the risks involved in using the blower and charging cable.
- The user must be of legal age or is being trained in a trade under supervision in accordance with national rules and regulations.
- The user has received instruction from a STIHL servicing dealer or other experienced user before working with the blower and using the charging cable for the first time.
- The user must not be under the influence of alcohol, medication or drugs.
- If you have any queries: Contact a STIHL servicing dealer for assistance.
Clothing and Equipment
WARNING
- Long hair can be sucked into the blower during operation. This can result in serious injuries.
- Tie up long hair so that it is above shoulder level.
- Objects can be thrown through the air at high speed during operation. This can result in personal injury.
- Wear close-fitting safety glasses. Suitable glasses that have been tested and labeled in accordance with EN 166 or national standards are available from retailers.
- Wear long trousers.
- Dust can be whipped up during operation: Whipped up dust can damage the respiratory passages and cause allergic reactions.
- If dust is generated: Wear a dust respirator mask.
- Unsuitable clothing can snag on wood, brush or the blower. Not wearing suitable clothing may result in serious injury.
- Wear snug-fitting clothing.
- Do not wear a scarf or jewelry.
- Wearing unsuitable footwear may cause you to slip or stumble. This can result in personal injury.
- Wear sturdy enclosed footwear with non-slip soles.
Work Area and Surroundings
Blower
- Bystanders, children and animals are not aware of the dangers of the blower and objects being thrown into the air and cannot assess them. This may result in serious injury to bystanders, children and animals and damage to property.
- Do not allow bystanders, children or animals within 5 meters of the work area.
- Maintain a clearance of 5 meters from objects.
- Do not leave the blower unattended.
- Ensure that children cannot play with the blower.
- The blower is not waterproof. If you work in the rain or in a damp environment, an electric shock may occur. This can result in injuries to the user and may damage the blower.
- Do not work in the rain or in a damp environment.
- Electrical components of the blower can produce sparks. Sparks may cause fires and explosions in highly flammable or explosive environments. Persons may be seriously or fatally injured and property may be damaged.
- Do not work in a highly flammable or explosive environment.
Charging Cable
- Uninvolved bystanders, children and animals may not be aware of and able to understand the dangers of a charging cable or electric cur‐rent. Bystanders, children and animals may be seriously or fatally injured.
- Keep bystanders, children and animals away from the work area.
- Do not leave the charging cable unattended.
- Make sure that children cannot play with the charging cable.
- The charging cable is not protected against all ambient conditions. If the charging cable is exposed to certain ambient conditions, it may catch fire or explode. This could result in serious injury to people and damage to property.
- Protect the charging cable from rain and moisture.
- Operate the charging cable in a dry place, indoors only.
- Do not operate the charging cable in an easily combustible or explosive environment.
- Use and store the charging cable at a temperature between 0°C and 40°C.
Safe Condition
Blower
The blower is in a safe condition if the following conditions are fulfilled:
- The blower is undamaged.
- Blower must be clean and dry.
- The controls function properly and have not been modified.
- Original STIHL accessories are fitted.
- The accessories are correctly attached.
WARNING
- If not in safe condition, components may no longer operate correctly and safety devices may be disabled. This may result in serous or fatal injury to people.
- Never use a damaged blower.
- Do not charge a damaged blower.
- If the blower is dirty or wet: Clean the blower and allow it to dry.
- Do not modify the blower. Exception: Mounting a blower tube and nozzle approved for this blower model.
- If the controls do not function properly: Do not work with the blower.
- Fit original STIHL accessories designed for this blower model.
- Attach accessories as described in this User Manual or in the User Manual for the accessories.
- Do not insert objects into the openings of the blower.
- Never connect or short-circuit the keyslot contacts with metallic objects.
- Do not open the blower.
- Replace worn or damaged labels.
- If you have any doubts, be sure to consult a STIHL dealer.
Charging Cable
The charging cable is in a safe condition if the following points are observed:
- Charging cable is undamaged.
- Charging cable is clean and dry.
WARNING
- If the product does not comply with safety requirements, components will no longer function properly or safety devices may be rendered inoperative. This can result in serious or fatal injuries.
- Do not use a damaged charging cable.
- If the charging cable is dirty or wet: Clean the charging cable and allow it to dry.
- Do not modify the charging cable.
- Never bridge the charging cable’s contacts with metallic objects (short circuit).
- Do not open the charging cable.
Built-in Battery
WARNING
- The built-in battery is not protected against all ambient conditions. If the builtin battery is exposed to certain ambient conditions, the blower may catch fire or explode. This can result in serious or fatal injuries and damage to property.
- Protect the blower from heat and fire.
- Do not throw the blower into a fire.
- Use and store the blower at a temperature between 0°C and +50°C.
- Keep the blower away from metallic objects.
- Protect the blower from rain and damp – do not immerse it in fluids.
- Do not expose blower to high pressure.
- Do not expose blower to microwaves.
- Protect the blower from chemicals and salts.
- Never transport a damaged blower.
- Fluid may escape from a damaged battery. The fluid can cause irritation if it contacts the skin or eyes.
- Avoid contact with the fluid.
- In case of contact with the skin: Wash affected areas with plenty of water and soap.
- In case of contact with the eyes: Rinse eyes with plenty of water for at least 15 minutes and seek medical advice.
- A damaged or defective battery may smell unusual, emit smoke or burn. This can result in serious or fatal injuries and damage to property.
- If the blower smells unusual or emits smoke: Do not use the blower and keep it away from combustible substances.
- If the blower catches fire: Extinguish the blower with a fire extinguisher or water.
Working
- In certain situations, the user may no longer be able to concentrate on their work. This may result in the user stumbling, falling and suffer‐ing serious injury.
- Keep calm and plan your work.
- If light and visibility are poor: Do not work with the blower.
- Do not use the blower on your own.
- Do not work above shoulder height.
- Watch out for obstacles.
- Work standing on the ground and keep your balance. If you have to work at a height: Use a mobile elevating work platform or secure scaffolding.
- If you start feeling fatigue: Take a break. If you start feeling fatigue: Take a break.
- Blow in direction of the wind.
- Objects can be ejected at high speed during operation. This can result in injuries to persons and animals and damage to property.
- Do not direct air blast towards people, animals or objects.
- If the blower starts behaving differently or in an unusual way while operating, the blower may be in an unsafe condition. This could result in serious injury to people and damage to property.
- Stop work, remove the activation key and contact your STIHL servicing dealer.
- Vibrations may occur during blower operation.
- Take breaks.
- If signs of a circulatory disturbance occur: Consult a doctor.
- The dust whipped up may cause the blower to be electrostatically charged. In certain conditions (e.g. dry environment) the blower may discharge suddenly and emit sparks. Sparks may cause fires and explosions in highly flammable or explosive environments. Persons may be seriously or fatally injured and property may be damaged.
- Do not work in a highly flammable or explosive environment.
Charging
- Contact with live components may occur for the following reasons:
- Connecting cable is damaged.
- Plug is damaged.
- Wall outlet is not properly installed.
Contact with live components can result in an electric shock. This may result in serious or fatal injuries. - Check that the connecting cable and plug are not damaged.
- Insert the plug in a properly installed wall outlet.
- Overvoltage can occur in the charging cable if the line voltage or frequency are incorrect during charging. The charging cable may be dam‐aged.
- Make sure the line voltage and frequency agree with the data on the charging cable’s rating label.
- A damaged or defective charging cable may produce an unusual smell or emit smoke during the charging process. This may result in personal injuries and damage to property.
- Disconnect the plug from the wall outlet.
- The charging cable can overheat and cause a fire if heat dissipation is inadequate. This can result in serious or fatal injuries and damage to property.
- Do not cover the charging cable.
- If several charging cables are connected to one wall outlet, electric cables may be over‐loaded during the charging process. The cables can overheat and cause a fire. This can result in serious or fatal injuries and damage to property.
- Connect the charging cable to a single wall outlet.
- Do not connect the charging cable to multiple sockets.
Transporting
- The blower can turn over or move while being transported. This may result in personal injuries and damage to property.
- Remove the activation key.
- Pack the blower in packaging or a transport box in such a way that it cannot move.
- Secure the packaging or transport box with lashing straps or a net so that the packaging or transport box cannot move.
Storing
Blower
- Children are not aware of and cannot assess the dangers of a blower and can be seriously injured.
- Remove the activation key.
- Store the blower out of the reach of children.
- Dampness can corrode the electrical contacts in the activation key socket and metal components. The blower may be damaged.
- Remove the activation key.
- Store the blower in a clean and dry condition.
- The blower is not protected against all ambient conditions. The blower may be damaged if it is exposed to certain ambient conditions.
- Store the blower in a clean and dry condition.
- Store the blower in a closed location.
- Store the activation key separately from the blower.
Charging Cable
- Children are not aware of and cannot assess the dangers of a charging cable. Children may sustain serious or fatal injuries.
- Keep the charging cable out of the reach of children.
- The charging cable is not protected against all ambient conditions. The charging cable may be damaged if it is exposed to certain ambient conditions.
- If the charging cable is hot: Allow the charging cable to cool down.
- Store the charging cable in a clean and dry condition.
- Store the charging cable in a confined space.
- Store the charging cable within temperature range of 0°C to +40°C.
Cleaning, Maintenance and Repair
- The blower may start unintentionally if the activation key remains inserted during cleaning, maintenance or repair operations. This could result in serious injury to people and damage to property.
- Remove activation key.
- Harsh detergents, cleaning with a water jet or sharp objects can damage the blower and charging cable. If the blower or charging cable are not cleaned correctly, components may no longer function properly or safety devices may be rendered inoperative. They may cause serious injury to persons.
- Clean the blower and charging cable as described in this instruction manual.
- If the blower or charging cable are not serviced or repaired correctly, components may no longer function properly or safety devices may be rendered inoperative. This may result in serious or fatal injury to people.
- Do not attempt to service or repair the blower or charging cable.
- If the blower or the charging cable require servicing or repairs: Contact your STIHL servicing dealer for assistance.
Preparing the Blower for Operation
Preparing the Blower for Operation
The following steps must be performed before commencing work:
- Ensure that the following components are in safe condition:
- Blower
- Charging cable
- Check the built-in battery
- Fully charge the blower
- Clean blower
- Mount the blower tube and nozzle
- Check the controls
- If it is not possible to carry out these steps, do not use the blower. Consult a STIHL servicing dealer.
Charging the Blower, LEDs
Charging the Blower
The charging time depends on several factors, e.g. temperature of the blower or ambient temperature. The actual charging time may differ from the specified charging time. For specified charging times see www.stihl.com/charging-times.
The charging process starts automatically when the plug is inserted in a wall outlet and the charging cable is connected to the blower. The charging process stops automatically when the blower is fully charged.
The blower and charging cable heat up during the charging process.
- Remove the activation key.

- Insert the plug (2) in a convenient wall outlet (1).
- Position the connecting cable (3).
- Insert the charger plug (4) in the charge socket (5).
The LEDs (6) glow green and show the state of charge. - If the LEDs (6) stop glowing: Disconnect the charger plug (4) from the charge socket (5). The blower is fully charged.
- Disconnect the plug (2) from the wall outlet (1).
State of Charge

- Press the button (1).
The LEDs (5) glow green for about 5 seconds and indicate the state of charge. - If the LED on the right flashes green:
Recharge the blower.
LEDs
The LEDs can indicate the state of charge or malfunctions in the blower. The LEDs can glow or flash green or red.
The state of charge is indicated when the LEDs glow or flash green.
- If the LEDs glow or flash red: Troubleshooting.
Malfunction in blower.
Assembling the Blower
Mounting the Blower Tube and Nozzle
- Switch off the blower and remove the activation key.

- Line up the hole (2) and the lug (3).
- Push the nozzle (1) onto the blower tube (4). The nozzle (1) engages audibly and can no longer be removed.
- Line up the lug (6) and the slot (5).
- Push the blower tube (4) onto the housing (7).
- Rotate nozzle (4) in direction of until it engages.
There is no need to remove the blower tube again.
Inserting and Removing Activation Key
Inserting the Activation Key

- Insert the activation key (1) in the socket (2).
Removing the Activation Key
- Stand the blower on a level surface.
- Remove the activation key.
- Keep the activation key out of the reach of children.
Switching the Blower On/Off
Switching On
- Hold the blower with one hand on the control handle – wrap you thumb around the handle.

- Push the release slide (1) in the direction of the blower tube with your thumb and hold it there.
- Depress the trigger lockout (2) with your hand and hold it there.
You can let go of the release slide (1). - Pull the trigger (3) with your index finger and hold it there.
The blower accelerates and air flows from the nozzle.
Switching Off
- Release the trigger and lockout lever at the same time.
No air flows from the nozzle. - If air continues to flow from nozzle: Remove the activation key and contact your STIHL servicing dealer.
Blower has a malfunction.
Testing the Blower and Battery
Checking the Controls
Release slide, trigger lockout and trigger
- Remove the activation key.
- Attempt to pull the trigger lever without depressing the release slide and the trigger lockout.
- If the trigger can be pulled: Do not use the blower and contact your STIHL servicing dealer.
- Release slide or trigger lockout is faulty.
- Push the release slide in the direction of the blower tube with your thumb and hold it there.
- Depress the trigger lockout and hold it in that position.
- Pull the trigger.
- Let go of the trigger, trigger lockout and release slide.
- If the trigger, trigger lockout or release slide is stiff or does not spring back to the idle position: Do not use the blower and contact your STIHL servicing dealer.
The trigger, trigger lockout or release slide has a malfunction.
Switching On
- Insert the activation key.
- Push the release slide in the direction of the blower tube with your thumb and hold it there.
- Depress the trigger lockout and hold it in that position.
- Pull the trigger and hold it there.
Air flows from the nozzle. - If 3 LEDs flash red: Remove the activation key and contact your STIHL servicing dealer. Malfunction in blower.
- Release the trigger.
No air flows from the nozzle. - If air continues to flow from nozzle: Remove the activation key and contact your STIHL servicing dealer.
Blower has a malfunction.
Checking the Built-In Battery
- Press the button.
The LEDs glow or flash. - If the LEDs do not glow or flash: Do not use the blower and contact your STIHL servicing dealer.
There is a malfunction in the built-in battery.
Operating the Blower
Holding and Controlling the Blower

- Hold and control the blower with one hand on the control handle – wrap your thumb around the handle.
Blow-Sweeping

- Point the nozzle at the ground.
- Walk slowly and steadily forwards.
After Finishing Work
After Finishing Work
- Switch off the blower and remove the activation key.
- Clean the blower.
Transporting
Transporting the Blower
- Switch off the blower and remove the activation key.
Carrying the Blower
- Carry blower by the control handle in one hand.
Transporting the Blower in a Vehicle
- Secure the blower so that it cannot topple over and cannot move.
- If the blower need to be packed: Observe the following points when packing the blower:
- Packaging or transport box must be non-conductive.
- Make sure the blower cannot shift inside the packaging or transport box.
- Secure the packaging or transport box in such a way that the packaging or transport box cannot move.
Owing to the built-in battery, the blower is subject to the requirements for transporting dangerous goods. The blower is classified as UN 3481 (lithium-ion batteries in equipment) and has been tested pursuant to UN Manual Tests and Criteria Part III, Subsection 38.3.
The transport regulations can be found in www.stihl.com/safety-data-sheets.
Storing
Storing the Blower
STIHL recommends that you store the blower with a charge between 40% and 60% (2 LEDs glow green).
- Switch off the blower and remove the activation key.
- Observe the following points when storing the blower:
- Blower is out of the reach of children.
- Blower is clean and dry.
- Charging cable is in an enclosed space.
- Blower is in a temperature range between 0°C and +50°C.
Storing the Charging Cable
- Disconnect the plug from the wall outlet.
- Observe the following points when storing the charging cable:
- Charging cable is out of the reach of children.
- Charging cable is clean and dry.
- Charging cable is in an enclosed space.
- Charging cable is separated from the blower.
- Charging cable is in a temperature range between 0°C and +40°C.
Cleaning
Cleaning the Blower
- Switch off the blower and remove the activation key.
- Clean blower with a damp cloth.
- Clean vents with a paintbrush.
- Clean the shield with a paintbrush or soft brush.
Cleaning the Charging Cable
- Disconnect the plug from the wall outlet.
- Disconnect the charger plug from the charge socket.
- Clean the charging cable with a damp cloth.
Maintenance and Repairs
Maintenance Intervals
The maintenance intervals are dependent on the environmental and operating conditions. STIHL recommends the following maintenance intervals:
Every 12 months
- Have the blower checked by a STIHL servicing dealer.
Servicing and Repairing the Blower
The blower cannot be serviced or repaired by the user.
- If your blower has a malfunction or is damaged or requires servicing: Contact your STIHL servicing dealer.
Servicing and Repairing the Charging Cable
The charging cable requires no servicing and cannot be repaired.
- If the charging cable is defective or damaged: Replace the charging cable.
Troubleshooting
Troubleshooting Blower or Charging Cable
Condition | LEDs on blower | Cause | Remedy |
| Blower does not start when switched on | 1 LED flashes green. | Blower has low charge. |
|
| 3 LEDs glow red. | Blower is too hot. |
| |
| 3 LEDs flash red. | There is a electrical malfunction. |
| |
| Blower is damp. |
| ||
| Blower cuts out during operation | 3 LEDs glow red. | Blower is too hot. |
|
| There is a electrical malfunction. |
| ||
| Blower runtime is too short | The blower is not fully charged. |
| |
| Normal blower life has been exceeded. |
| ||
| Blower is not being charged. | 3 LEDs glow red. | Blower is too hot. |
|
| Malfunction in blower or charging cable. |
|
Specifications
STIHL BGA 45 Blower
- Weight: 2.2 kg
- Air speed with nozzle mounted: 38 m/s
- Battery technology: Lithium-ion
- Voltage: 18 V
- Capacity in Ah: see rating label
- Energy content in Wh: see rating label
- Permissible temperature range for operation and storage: 0°C up to 50°C
If the blower is used at temperatures higher than 30°C, the battery runtime may be shortened and the blower’s performance reduced.
Consult www.stihl.com/battery-life for the respective running time.
STIHL LK 45 Charging Cable
- Voltage: 100-240 V, 50‑-60 Hz
- Power rating: 14.6 W
- Charge current: 0.65 A
- Permissible temperature range for operation and storage: 0°C up to 40°C
For charging times see www.stihl.com/charging-times.
Noise and Vibration Data
K-value for sound pressure level is 2 dB(A). K-value for sound power level is 2 dB(A). K-value for vibration level is 2 m/s².
STIHL recommends that you wear hearing protection.
- Sound pressure level LpA measured according to EN 50636-2-100: 76 dB(A)
- Sound power level LwA measured according to EN 50636-2-100: 87 dB(A)
- Vibration measurement ahv measured according to EN 506362100; control handle: 3.2 m/s²
The vibration values quoted above have been measured according to a standardized test procedure and may be used to compare electric power tools. Depending on the type of usage, the vibrations that actually occur may differ from the values quoted. The vibration values quoted may be used for an initial assessment of the user’s exposure to vibrations. The actual expo‐sure to vibrations has to be estimated. This process may also take into account times during which the electric power tool is switched off and times during which it is switched on but running off load.
Information on compliance with Vibration Directive 2002/44/EC is available at www.stihl.com/vib.
REACH
REACH is an EC regulation and stands for the Registration, Evaluation, Authorization and Restriction of Chemical substances.
For information on compliance with the REACH regulation see www.stihl.com/reach.
Spare Parts and Accessories
STIHL recommends the use of original STIHL spare parts and accessories.
Despite ongoing market observation, STIHL is unable to judge the reliability, safety and suitabil‐ity of other manufacturers’ spare parts and accessories; accordingly, STIHL cannot warrant for the use of those parts.
Original STIHL spare parts and original STIHL accessories are available from STIHL dealers.
Disposal
Disposing of Blower and Charging Cable
Contact the local authorities or your STIHL dealer for information on disposal.
Improper disposal can be harmful to health and pollute the environment.
The blower contains a built-in rechargeable battery which must be disposed of separately.
- Return the blower to a STIHL servicing dealer for disposal.
The STIHL dealer removes the built-in battery from the blower for separate disposal. - Take STIHL products including packaging to a suitable collection point for recycling in accordance with local regulations.
- Do not dispose with domestic waste.
EC Declaration of Conformity
STIHL BGA 45 Blower
ANDREAS STIHL AG & Co. KG Badstraße 115
D-71336 Waiblingen
Germany
declare under our sole responsibility that
- Type: Cordless blower
- Manufacturer’s brand: STIHL
- Model: BGA 45
- Serial number: 4513
conforms to the specifications of Directives 2011/65/EU, 2006/42/EC, 2014/30/EU and 2000/14/EC and has been developed and built in compliance with the versions of the following standards valid at the production date:
EN 55014‑1, EN 55014‑2, EN 60335‑1 and
EN 50636‑2‑100.
The measured and guaranteed equivalent sound power level has been determined in accordance with Directive 2000/14/EC, Annex V.
- Measured sound power level: 86 dB(A)
- Guaranteed sound power level: 89 dB(A)
The technical documents are stored at ANDREAS STIHL AG & Co. KG Produktzulas‐sung.
The year of construction, the country of manufacture and the machine number are shown on the blower.























