MOXA EDS-4014 Series EtherDevice Layer 2 Managed Switches

EDS-4014 Series Quick Installation Guide
The Moxa EtherDeviceTM Switch is a powerful and reliable industrial Ethernet switch designed for use in harsh environments. This quick installation guide provides important information on how to install and mount the EDS-4014 Series, as well as wiring requirements and default settings.
Package Checklist
Before beginning the installation process, please ensure that all components are present and accounted for. The package should include:
- EDS-4014 Series switch
- DIN rail mounting kit
- Wall mount plates
- Reset button tool
Default Settings
The EDS-4014 Series switch comes with the following default settings:
- IP address: 192.168.0.1
- Subnet mask: 255.255.255.0
- Username: admin
- Password: admin
Panel Views of EDS-4014 Series
The EDS-4014 Series switch features the following front panel and bottom panel views:
Front Panel View
- 100/1000BaseT(X) LED indicator
- 10BaseT(X) LED indicator
- 10/100BaseT(X) ports, ports 1 to 8
- 100/1000BaseSFP ports, ports G1 to G4
- 1000BaseT(X) LED indicator
- 1000/2500BaseSFP ports, ports QG1 and QG2
- 1000/2500BaseSFP LED indicator
- Grounding connector screw
- Terminal blocks for power input, digital input, and relay
- LED indicators: STATE (S), FAULT (F), PWR1 (P1), PWR2 (P2),
MSTR/HEAD (M/H), CPLR/TAIL (C/T), SYNC - Console port (RJ45, RS-232)
- USB storage port (type A, currently disabled)
- Model name
Bottom Panel View
- microSD card slot (currently disabled)
- Reset button
- DIP switches for Turbo Ring, Ring Master, and Ring Coupler
DIN-rail Mounting
The DIN-rail mounting kit is fixed to the back panel of the EDS device when you take it out of the box. To mount the EDS device on corrosion-free mounting rails that meet the EN 60715 standard, follow the steps below:
- Insert the upper lip of the DIN rail into the DIN-rail mounting kit.
- Press the EDS device toward the DIN rail until it snaps into place.
To remove the EDS device from the DIN rail, follow these steps:
- Pull down the latch on the mounting kit with a screwdriver.
- Slightly pull the EDS device forward and lift up to remove it from the DIN rail.
Note that the DIN rail kit now utilizes a quick-release mechanism to make it easier for users to remove the DIN rail from the EDS device.
Wall Mounting (Optional)
If you prefer to mount the Moxa EDS device on a wall, follow these steps:
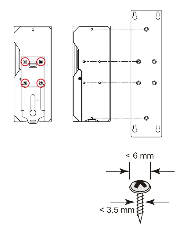
- Remove the DIN rail attachment plate from the rear panel of the EDS device.
- Mounting the EDS device on a wall requires six screws. Use the EDS device, with wall mount plates attached, as a guide to mark the correct locations of the six screws. The heads of the screws should be less than 6.0 mm in diameter, and the shafts should be less than 3.5 mm in diameter.
- Before tightening the screws into the wall, make sure the screw head and shank size are suitable by inserting the screw through one of the keyhole-shaped apertures of the Wall Mounting Plates. Do not screw the screws in all the way–leave about 2 mm to allow room for sliding the wall mount panel between the wall and the screws.
- Once the screws are fixed to the wall, insert the four screw heads through the wide parts of the keyhole-shaped apertures, and then slide the EDS device downwards. Tighten the four screws for more stability.
Wiring Requirements
When wiring the EDS-4014 Series switch, please take the following precautions:
- External metal parts are hot. Take the necessary precautions if you are required to handle the device.
Technical Support Contact Information
If you encounter any issues during the installation or usage of the EDS-4014 Series switch, please contact Moxa technical support by visiting www.moxa.com/support.
Package Checklist
The EDS-4014 Series industrial DIN-rail EtherDevice Switch (EDS) is shipped with the following items. If any of these items are missing or damaged, please contact your customer service representative for assistance.
- 1 EDS-4014 Ethernet switch
- Quick installation guide (printed)
- Warranty card
- Substance disclosure table
- Product certificate of quality inspection (Simplified Chinese)
- Product notices (Simplified Chinese)
NOTE You can find information and software downloads on the relevant product pages located on Moxa’s website: www.moxa.com
Default Settings
- IP address: 192.168.127.253
- Subnet Mask: 255.255.255.0
- Username: admin
- Password: moxa
Panel Views of EDS-4014 Series
Front Panel View

- 100/1000BaseT(X) LED indicator
- 10BaseT(X) LED indicator
- 10/100BaseT(X) ports, ports 1 to 8
- 100/1000BaseSFP ports, ports G1 to G4
- 1000BaseT(X) LED indicator
- 1000/2500BaseSFP ports, ports QG1 and QG2
- 1000/2500BaseSFP LED indicator
- Grounding connector screw
- Terminal blocks for power input, digital input, and relay
- LED indicators: STATE (S), FAULT (F), PWR1 (P1), PWR2 (P2), MSTR/HEAD (M/H), CPLR/TAIL (C/T), SYNC
- Console port (RJ45, RS-232)
- USB storage port (type A, currently disabled)
- Model name
Bottom Panel View

- microSD card slot (currently disabled)
- Reset button
- DIP switches for Turbo Ring, Ring Master, and Ring Coupler
Mounting Dimensions

DIN-rail Mounting
The DIN-rail mounting kit is fixed to the back panel of the EDS device when you take it out of the box. Mount the EDS device on corrosion free mounting rails that meet the EN 60715 standard.
Installation
STEP 1—Insert the upper lip of the DIN rail into the DIN-rail mounting kit.
STEP 2—Press the EDS device towards the DIN rail until it snaps into place.
Removal
STEP 1—Pull down the latch on the mounting kit with a screwdriver.
STEP 2 & 3—Slightly pull the EDS device forward and lift up to remove it from the DIN rail.

NOTE Our DIN rail kit now utilizes a quick-release mechanism to make it easier for users to remove the DIN rail from the EDS device.
Wall Mounting (Optional)
For some applications, you will find it convenient to mount the Moxa EDS device on a wall, as shown in the following illustrations:
STEP 1—Remove the DIN rail attachment plate from the rear panel of the EDS device, as illustrated in the diagram on the right.
STEP 2—Mounting the EDS device on a wall requires six screws. Use the EDS device, with wall mount plates attached, as a guide to mark the correct locations of the six screws. The heads of the screws should be less than 6.0 mm in diameter, and the shafts should be less than 3.5 mm in diameter, as shown in the figure on at right.
NOTE Before tightening the screws into the wall, make sure the screw head and shank size are suitable by inserting the screw through one of the keyhole-shaped apertures of the Wall Mounting Plates.
NOTE Do not screw the screws in all the way—leave about 2 mm to allow room for sliding the wall mount panel between the wall and the screws.
STEP 3—Once the screws are fixed to the wall, insert the four screw heads through the wide parts of the keyhole-shaped apertures, and then slide the EDS device downwards, as indicated in the figure at the right. Tighten the four screws for more stability.

Wiring Requirements
ATTENTION
Safety First! External metal parts are hot. Take the necessary precautions if you are required to handle the device.
ATTENTION
In order to ensure reliable operations, please make sure the operating temperature of the environment does not exceed the specifications. When mounting an EDS device with other operating units in a cabinet without forced ventilation, a minimum of 4 cm space on both the left and right of the switch is recommended.
Safety First
Be sure to disconnect the power cord before installing and/or wiring your EDS device. Calculate the maximum possible current in each power wire and common wire. Observe all electrical codes dictating the maximum current allowable for each wire size. If the current goes above the maximum ratings, the wiring could overheat, causing serious damage to your equipment.
Be sure to read and follow these important points below:
- Use separate paths to route wiring for power and devices. If power wiring and device wiring paths must cross, make sure the wires are perpendicular at the intersection point.
NOTE Do not run signal or communications wiring and power wiring through the same wire conduit. To avoid interference, wires with different signal characteristics should be routed separately.
- You can use the type of signal transmitted through a wire to determine which wires should be kept separate. The rule of thumb is that wiring that shares similar electrical characteristics can be bundled together.
- You should separate input wiring from output wiring.
- We advise that you label the wiring to all devices in your system.
Grounding the Moxa EDS Series
Grounding and wire routing help limit the effects of noise due to electromagnetic interference (EMI). Run the ground connection from the ground screw to the grounding surface prior to connecting devices.
ATTENTION
This product is intended to be mounted to a well-grounded mounting surface such as a metal panel.
Suggested Wire Type for Wiring Relay Contact (RELAY), Digital Input (DI), and Power Inputs (P1/P2)
The EDS device includes two 4-pin 3.5 mm pin-pitch terminal blocks. When wiring the relay contact (RELAY), digital input (DI), and power inputs (P1/P2), we suggest using the cable type AWG 18-24 and the corresponding pin-type cable terminals.
NOTE The wire must be able to withstand at least 105°C and the torque value should be 4.5 lb-in (0.51 N-m).
NOTE We suggest the length of the pin type cable terminal is 8 mm. In order to tighten the wire properly, ① use a small flathead screwdriver to press the push-in button beside each terminal of the terminal block connector before and during ② inserting the wire. ③ Release the screwdriver after the wire has been fully inserted. Please refer to the diagram below.

Wiring the Relay Contact
The EDS device has one set of relay output. This relay contact uses two contacts of the terminal block on the EDS’s power module. Refer to the section for detailed instructions on how to connect the wires to the terminal block connector, and how to attach the terminal block connector to the terminal block receptor.

Relay
The two contacts of the 4-pin terminal block connectors are used to detect user-configured events. The two wires attached to the fault contacts form an open circuit when a user-configured event is triggered or there is no power supply to the switch. If a user configured the event does not occur, the fault circuit remains closed.
Wiring the Redundant Power Inputs
The EDS device includes both high-voltage and low-voltage products. For the low-voltage (LV models) products, there are two power inputs for redundancy; for the high-voltage (HV models) products, there is only one power input. Refer to the instructions and diagram below on how to connect the wires to the terminal block connector on the receptor.

STEP 1: Insert the Positive/Negative DC or Line/Neutral AC wires into the V+/V- or L/N terminals, respectively.
STEP 2: To keep the DC or AC wires from pulling loose, use a small flat-blade screwdriver to tighten the wire clamp screws on the front of the terminal block connector.
STEP 3: Insert the plastic terminal block connector prongs into the terminal block receptor, which is located on the EDS devices’ right side.
Wiring the Digital Inputs
The EDS device has one set of digital input (DI). The DI consists of two contacts of the 4-pin terminal block connector on the EDS’s right-side panel. Refer to the instructions and diagram below on how to connect the wires to the terminal block connector on the receptor.

STEP 1: Insert the negative (ground)/positive DI wires into the ┴/I terminals, respectively.
STEP 2: To keep the DI wires from pulling loose, use a small flat-blade screwdriver to tighten the wire-clamp button on the front of the terminal block connector.
STEP 3: Insert the plastic terminal block connector prongs into the terminal block receptor, which is located on the EDS devices’ right side.
Rotating the Power Module
The power module for the EDS device can be rotated to make it easier to fit your field site application.
Step 1: Remove the two screws that fasten the power module to the EDS device and remove the module.
Step 2: Turn the power module clockwise so that the power, digital input, and relay output connectors can be moved upwards.
Step 3: Replace the module back on to the EDS device.
Step 4: Fasten two screws on to the module.

Communication Connections
Each EDS-4014 Series switch has various types of communication ports:
- RJ45 console port (RS-232 interface)
- USB storage port (type A connector, currently disabled)
- 10/100BaseT(X) Ethernet ports
- 100/1000BaseSFP ports
- 1000/2500BaseSFP slots
- microSD card slot (currently disabled)
Console Port Connection
The EDS device has one RJ45 console port (RS-232), located on the front panel. Use either an RJ45-to-DB9 (see the cable following wiring diagrams) to connect the EDS’s console port to your PC’s COM port. You may then use a console terminal program, such as Moxa PComm Terminal Emulator, to access the EDS that has a baud rate of 115200
RJ45 Console Port Pinouts
| Pin | Description |
| 1 | DSR |
| 2 | RTS |
| 3 | – |
| 4 | TxD |
| 5 | RxD |
| 6 | GND |
| 7 | CTS |
| 8 | DTR |

USB Connection
NOTE The USB function is currently reserved and may be required in the future. It should be noted that this port cannot be used for charging any devices.
10/100BaseT(X) Ethernet Port Connection
The 10/100BaseT(X) ports located on the front panel of the switch are used to connect to Ethernet-enabled devices. Most users will choose to configure these ports for Auto MDI/MDI-X mode, in which case the port’s pinouts are adjusted automatically depending on the type of Ethernet cable used (straight-through or cross-over), and the type of device (NIC-type or HUB/Switch-type) connected to the port. In the following, we give pinouts for both MDI (NIC-type) ports and MDI-X (HUB/Switch-type) ports. We also give cable wiring diagrams for straight-through and cross-over Ethernet cables.
10/100Base T(x) RJ45 Pinouts
MDI Port Pinouts
| Pin | Signal |
| 1 | Tx+ |
| 2 | Tx- |
| 3 | Rx+ |
| 6 | Rx- |
MDI-X Port Pinouts
| Pin | Signal |
| 1 | Rx+ |
| 2 | Rx- |
| 3 | Tx+ |
| 6 | Tx-
|
8-pin RJ45

RJ45 (8-pin) to RJ45 (8-pin) Straight-through Cable Wiring

RJ45 (8-pin) to RJ45 (8-pin) Cross-over Cable Wiring

100/1000BaseSFP and 1000/2500BaseSFP (mini-GBIC) Fiber Port
The Gigabit Ethernet fiber ports on the switch are 100/1000BaseSFP and 1000/2500BaseSFP fiber ports, which must use 100M,1G, 2.5G mini-GBIC fiber transceivers to work properly. The concept behind the LC port and cable is quite straightforward. Suppose that you are connecting devices I and II; contrary to electrical signals, optical signals do not require a circuit in order to transmit data. Consequently, one of the optical lines is used to transmit data from device I to device II, and the other optical line is used to transmit data from device II to device I, for full-duplex transmission. Remember to connect the Tx (transmit) port of device I to the Rx (receive) port of device II, and the Rx (receive) port of device I to the Tx (transmit) port of device II. If you make your own cable, we suggest labeling the two sides of the same line with the same letter (A-to-A and B-to-B, as shown below, or A1-to-A2 and B1-to-B2).
LC-Port Pinouts LC-Port to LC-Port Cable Wiring

ATTENTION
This is a Class 1 Laser/LED product. To avoid causing serious damage to your eyes, do not stare directly into the Laser Beam.
Reset Button
There are two functions available on the Reset Button. One is to reset the Ethernet switch to the factory default settings by pressing and holding the Reset button for 5 seconds. Use a pointed object, such as a straightened paper clip or toothpick, to depress the Reset button. This will cause the STATE LED to blink once a second. After depressing the button for 5 continuous seconds, the STATE LED will start to blink rapidly. This indicates that factory default settings have been loaded and you can release the reset button. The other function is to reboot the device by depressing the reset button for less than five seconds.
Turbo Ring DIP Switch Settings
The EDS devices are plug-and-play managed redundant Ethernet switches. The proprietary Turbo Ring protocol was developed by Moxa to provide better network reliability and faster recovery time. Moxa Turbo Ring’s recovery time is less than 50 ms (Turbo Ring V2) — compared to a 3- to 5-minute recovery time for commercial switches— decreasing the possible loss caused by network failures in an industrial setting. There are five Hardware DIP Switches for Turbo Ring on the bottom panel of the EDS device that can help setup the Turbo Ring easily within seconds. If you do not want to use a hardware DIP switch to setup the Turbo Ring, you can use a web browser, telnet, or console to disable this function.
NOTE Please refer to the Turbo Ring section in User’s Manual for more detail information about the setting and usage of Turbo Ring V2.
Turbo Ring DIP Switch Settings

- The default setting for each DIP Switch is OFF. The following table explains the effect of setting the DIP Switch to the ON position.
- Remove the rubber cover on the bottom panel of the device to expose the DIP switches.
DIP Switch Settings
| DIP 1 | DIP 2 | DIP 3 | DIP 4 | DIP 5 |
| ON: Enables the | ON: Enables | ON: | ON: Activates | |
| default “Ring | this EDS as | Enables the | DIP switch 2, | |
| Coupling | the Ring | default | 3, and 4 to | |
| (backup)” port | Master. | “Ring | configure | |
| Reserved for future use | when DIP switch 4 is already enabled. | Coupling” port. | Turbo Ring V2 settings. | |
| OFF: Enables the default Ring | OFF: This EDS will not | OFF: This EDS will not | OFF: DIP switch 2, 3, | |
| Coupling | be the Ring | be the Ring | and 4 will be | |
| (primary) port | Master. | Coupler. | disabled. | |
| when DIP switch 4 | ||||
| is already enabled. |
NOTE You must enable the Turbo Ring (DIP switch 5) first before using the DIP switch to activate the Master and Coupler functions.
NOTE If you do not enable any of the EDS switches to be the Ring Master, the Turbo Ring protocol will automatically choose the EDS switch with the smallest MAC address range to be the Ring Master. If you accidentally enable more than one switch to be the Ring Master, these switches will auto-negotiate to determine which one will be the Ring Master.
LED Indicators
The front panel of the Moxa EDS-4014 Series contains several LED indicators. The function of each LED is described in the following table:
Device LED Indicators
| LED | Color | State | Description |
|
STATE |
Green | On | When system has passed power- on self-test (POST) and is ready to run. |
| Blinking (1 time/sec) | Press the reset button for five seconds to reset to factory default settings | ||
| Blinking (4 times/sec) | When pressing the reset button depress for 5 seconds to reset to factory default. | ||
| Off | N/A | ||
| Red | On | The system has initially failed the boot-up process • System Info. Read Fail or EEPROM information error |
| LED | Color | State | Description |
|
FAULT |
Red |
On | 1. The relay contact has been triggered 2. The ingress rate limit has been exceeded and the port has entered shut down mode 3. Invalid Ring port connection |
| Off | When the system boots up and runs correctly or a user- configured event is not triggered. | ||
| P1 | Amber | On | Power is being supplied to power input PWR. |
| Off | Power is not being supplied to power input PWR. | ||
| P2 | Amber | On | Power is being supplied to power input PWR. |
| Off | Power is not being supplied to power input PWR. | ||
|
MSTR/ HEAD (M/H) |
Green | On | When the switch is Master/Head/Root of Turbo Ring/Turbo Chain/Fast RSTP. |
|
Blinking (4 times/sec) | 1. The switch has become the Master of Turbo Ring after Turbo Ring has gone down 2. The switch is set as Head of Turbo Chain and Turbo Chain has gone down 3. The switch is set as the Turbo Ring’s Member and the corresponding Ring port is down 4. The switch is set as the Turbo Chain’s Member/ Tail and the corresponding Head- end Chain port is down. | ||
| Off | When the switch is not the Master/Head/Root of this Turbo Ring/ Turbo Chain/Fast RSTP. | ||
|
CPLR/ TAIL |
Green |
On | 1. The switch’s ring coupling or dual homing function is enabled. 2. The switch is set as the Tail of Turbo Chain. |
|
Blinking (4 times/sec) | 1. The switch is set as the Tail of Turbo Chain and the Chain has gone down. 2. The switch is set as the Turbo Chain’s Member/ Head and the corresponding Tail- end Chain port is down. | ||
| Off | When the switch disables the coupling or tail role of Turbo Chain. |
| LED | Color | State | Description |
| System LED (Except PWR) | Green + Amber + Red | Blinking (2 times/sec) | The switch is being discovered/located by the locator function. |
| System LED (Except PWR) | Green + Amber + Red | Rotate On -> Off Sequentially | The switch is importing/exporting a file via ABC-02-USB or SD card (currently disabled). |
Ports LED Indicators
| LED | Color | State | Description |
| 10M/ 100M/ 1000M Copper top LED |
Green | On | When the port is active and links at 1000Mbps. |
| Blinking (4 times/sec) | When the port’s data is being transmitted at 1000Mbps. | ||
| Off | When the port is inactive or link down. | ||
| 10M/ 100M/ 1000M Copper bottom LED |
Amber | On | When the port is active and links at 10/100Mbps. |
| Blinking (4 times/sec) | When the port’s data is being transmitted at 10/100Mbps. | ||
| Off | When the port is inactive or link down. | ||
|
100M/ 1000M (SFP port) |
Green | On | When the port is active and links at 1,000Mbps. |
| Blinking (4 times/sec) | When the port’s data is being transmitted at 1,000Mbps. | ||
| Off | When the port is inactive or link down. | ||
|
Amber | On | When the port is active and links at 100Mbps. | |
| Blinking (4 times/sec) | When the port’s data is being transmitted at 100Mbps. | ||
| Off | When the port is inactive or link down. | ||
|
1000M/ 2500M (SFP port) |
Green | On | When the port is active and links at 2500Mbps. |
| Blinking (4 times/sec) | When the port’s data is being transmitted at 2500Mbps. | ||
| Off | When the port is inactive or link down. | ||
|
Amber | On | When the port is active and links at 1000Mbps. | |
| Blinking (4 times/sec) | When the port’s data is being transmitted at 1000Mbps. | ||
| Off | When the port is inactive or link down. |
Specifications
| Interface | |
| RJ45 Ports | 10/100/1000BaseT(X) |
| Fiber Ports | 100/1000BaseSFP 1000/2500BaseSFP |
| Console Port | RS-232 (RJ45) |
| Button | Reset button |
| LED Indicators | STATE (S), FAULT (F), PWR1 (P1), PWR2 (P2), MSTR/HEAD (M/H), CPLR/TAIL (C/T), SYNC |
| Alarm Contact | 1 normally open electromagnetic relay output with current carrying capacity of 1 A @ 24 VDC |
| Digital Input | 1 isolated digital input: +13 to +30V for state “1” -30 to +3V for state “0” Max. input current: 8 mA |
| Power | |
| Pre-installed Power Module | -LV/-LV-T models: PWR-100–LV -HV/-HV-T models: PWR-105-HV-I |
| Note | The EDS-4014 Series supports modular power supplies. The model names and power parameters are determined by the installed power module. For example: EDS-4014-T + PWR-100-LV = EDS-4014-LV-T EDS-4014-T + PWR-105-HV-I = EDS-4014-HV-T If you install a different power module, refer to the specifications of the corresponding model. For example, if you replace the power module of the EDS-4014-LV-T with the PWR-105-HV-I, refer to the specifications of the EDS-4014-HV-T. |
| Rated Voltage | -LV/-LV-T models: 12/24/48 VDC, redundant dual inputs -HV/-HV-T models: 110/220 VDC/VAC, single input |
| Operating Voltage | -LV/-LV-T models: 9.6 to 60 VDC -HV/-HV-T models: 88 to 300 VDC, 85 to 264 VAC |
| Rated Current | -LV/-LV-T models: 12-48 VDC, 1.50-0.40 A or 24 VDC, 0.70 A -HV/-HV-T models: 110-220 VAC, 50-60 Hz, 0.30- 0.20 A or 110-220 VDC, 0.30-0.20 A |
| Power Consumption | EDS-4014-4GS-2QGS-LV(-T) models: 12.15 W EDS-4014-4GS-2QGS-HV(-T) models: 14.44 W |
| Inrush Current | Max. 0.58 A @ 48 VDC (0.1 – 1 ms) (Applied to – LV models) |
| Overload Current Protection at Input | Present |
| Reverse Polarity Protection | Present |
| Connection | 2 removable 4-contact terminal blocks |
| Physical Characteristics | |
| Housing | Metal, IP40 protection |
| Dimension | 55 x 140 x 122.5 mm (2.17 x 5.51 x 4.82 in) |
| Weight | 846 g (1.87 lb) |
| Installation | DIN-rail mounting, wall mounting (with optional kit) |
| Environmental Limits | |
| Operating Temperature | -10 to 60°C (14 to 140°F) for standard models -40 to 75°C (-40 to 167°F) for -T models |
| Storage Temperature | -40 to 85°C (-40 to 185°F) |
| Ambient Relative Humidity | 5 to 95% (non-condensing) |
| Altitude | Up to 2000 m Note: Please contact Moxa if you require products guaranteed to function properly at higher altitude. |
| Regulatory Approvals | |
| Industrial Cybersecurity | IEC 62443-4-1, IEC 62443-4-2 |
| Safety | UL 61010-2-201, EN 62368-1(LVD) |
| EMC | EN 55022/24, EN 61000-6-2/6-4 |
| EMI | FCC Part 15 Subpart B Class A |
| EMS | EN 61000-4-2 (ESD) Level 4 EN 61000-4-3 (RS) Level 3 EN 61000-4-4 (EFT) Level 4 EN 61000-4-5 (Surge) Level 4 EN 61000-4-6 (CS) Level 3 EN 61000-4-8 Level 4 |
| Shock | IEC 60068-2-27 |
| Free Fall | IEC 60068-2-32 |
| Vibration | IEC 60068-2-6 |
| Rail Traffic (Wayside) | EN 50121-4 |
| Traffic Control | NEMA TS2 |
| Warranty | |
| Warranty | 5 years |
ATTENTION
This device complies with Part 15 of the FCC rules.
Operation is subject to the following conditions:
- This device may not cause harmful interference.
- This device must accept any interference received including interference that may cause undesired operation.
Technical Support Contact Information www.moxa.com/support
![]()




















