vivo Y52 Smartphone

Product Overview

Note
There may be some differences depending on your phone model. The pictures used in these instructions are for reference only. Please refer to the actual product in use.
Introduction to keys and widgets
- Ambient light sensor & Proximity sensor: Automatically detect the intensity of the ambient light, and adjust the brightness of the screen with the ambient light.
When making phone calls, this sensor automatically detects the distance between you and your phone. If you re too close to your phone, it will switch off your screen to avoid unintentional triggering of certain functions. The sensor is inactive in headset and hands free mode.
It is normal for the light at the top of the screen to flash briefly when dialing or calling. This indicates the screen’s infrared is working. - Volume button: You can adjust the volume using the volume button.
- Front camera/Rear camera: You can take photos and record videos.
- Receiver: You can hear the caller through the receiver when on the phone.
- Power button : Long press the Power button in power off mode to turn on the mobile phone.
Long press the button in boot mode to turn off the phone or reboot the phone.
Note
When the phone can not be used normally, simultaneously long press [Power button] and [Volume button -] more than 10 seconds to force the device to restart . - Card tray: Install/Remove the cards.
- Pin port: Insert the pin into the pin jack on the side body, and press it inwards to eject the card tray.
- Secondary microphone/@Main microphone: Transfer sound when you make calls.
- Rear flash: Flashlight source.
- Speaker: Playing sound.
- USB port: Connect earphones, PCs, chargers, and other devices.
- Fingerprint sensor: The button has the fingerprint recognition function, which can be used to unlock the phone instead of the password.
Installation and Preparation
Procedure for installing SIM
Note: You may have a sing e or dual SIM Phone based on the needs o your region or carrier, but the differences between the tWO versions are not fully covered in the instructions. The pictures used in these instructions are for reference only and may differ from your phone.
This phone supports hot swapping of Nano card (SIM1/SIM2). When the phone is on, it can automatically recognize a Nano card (SIM1/SIM2) when you plug the card in.
This phone supports Nano card (SIM1/SIM2).
- Insert the pin into the SIM pin port on the side body, and press it inwards to eject the SIM card tray; Remove the card tray.

- Follow the arrow direction shown in the diagram and fit the angled corner of your SIM card into the angled corner of the tray.

- Touch screen facing up, follow the direction of the arrow to install the tray (with Nano card ) into the phone.

Note
- The back cover is not removable, so as not to damage the machine.
- Put SIM card into card tray, then mount card tray into the phone. It is forbidden to insert SIM card to the phone directly.
- You are suggested not to cut your SIM card by yourself. If the Nano card (SIM1/SIM2) does not match, please go to the carrier to change a standard Nano card.
- The phone uses a “Dual card dual standby single-pass” design, with means the two card in the phone cannot be used in the same time for voice service nor data connection service. When one of the two cards is in voice communication, the other card cannot be used to answer any calls. If there is an incoming call to the other card, the caller may hear messages such as “The number you called is not at service”, “The subscriber you dialed can not be connected for the moment, please redial later”. When one of the two cards isin data connection state, the other card can use the data connection service. For this reason the above phone “Dual card dual standby single-pass” design caused, regardless of the operator’s network status. Single-channel is adopted because the phone uses single-chip design, which can significantly improve the battery life and energy efficiency. The user is encouraged to consult local operators to enable services like “Missed call reminder”, “Incoming call reminder” and “Secretarial service” to avoid the issue of missing calls without alerts under the aforesaid cond.
Connect headphones
Plug the headphone plug into the headphone jack on the phone, ensuring that the headphone plug is fully inserted.
Charge phone
Insert one end of the data cable into the USB port on the phone and the other end into the charger or a compatible device. The phone will start to charge. After charging is complete, disconnect the phone from the charger or the compatible device and remove the charger from the socket.
Note
Please use the data cable and charger that came with the phone.
Antenna
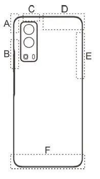
This phone is equipped with a built-in antenna. Please do not touch the antenna when it is transmitting or receiving signals. Touching the antenna may affect communication quality, cause the phone to operate using a power level higher than needed as well as shorten the battery life. The antenna is located inside the circle marked with dotted lines. Please do not cover this area when holding the phone, as shown in the picture below:
A. GPS antenna; B/C. Wi-Fi/Communication antenna; D/E/F. Communication antenna.
Note
The pictures used in these instructions are for reference only and may differ from your phone. Please be subject to your phone.
Status bar icons and notifications
Meaning of status icons
The status bar at the top of the screen provides some basic status information of the phone, including signal strength, system time and battery power.
| Signal strength | ||
| SIM card has no signal | ||
| Airplane mode turned on | ||
| Connected to Wi-Fi | ||
| 2G Network type icon* | |||
| 3G Network type icon* | ||
| 4G Network type icon* | ||
| 5G Network type icon* | ||
| Connect to Bluetooth device | ||
| Vibration mode enabled | ||
| Silent mode enabled | ||
| Do not disturb mode enabled | ||
| You have a new message | ||
| Alarm on | ||
| Battery power | ||
| Charging | ||
Note
Network symbol is displayed to indicate current operators and network settings. The 5G icon isfor illustrative purposes only and can only be shown on 5G network supported mobile phones.
View notifications
When you receive a new event notification, its content will be displayed on the status bar. You can slide down the status bar and tap the notification to view details.
Introducing the home screen
When no app is open on your phone, your home screen will be displayed. This device supports multiple home screens. Swipe left or right to switch between these home screens. Swipe up on the home screen to view all the apps on your phone.
Change home screen settings
Tap and hold a blank area of the home screen to change your home screen settings, add widgets, or choose a wallpaper.
Search on the home screen
Tap the Google search bar and enter what you want to search.
Add apps to the home screen
In the app drawer, tap an app and drag it to wherever you want.
Shortcut Center on the home screen
You can swipe down from the top of the screen to reveal the home screen shortcut center. In Shortcut Center, you can tap an icon to quickly turn on/off the function corresponding to that icon.
Desktop apps
i Manager
From the i Manager home page, tap
to go to the “Settings”, where you can adjust the detailed settings of i Manager and view more relevant information.
You can tap any function as you need on the home screen of i Manager to enter the Execute or Settings interface, providing you with a safe, green mobile life.
Camera
- Use the camera to take photos and videos so that you can record the wonderful moments in your life anytime.
- Go to “Camera” interface and you can zoom the camera frame in/out and adjust the focal length in the following ways:
- Use two fingers to zoom in/out on the screen;
- The camera can automatically focus on objects and displays a rectangular box to indicate focus area. You can also tap the screen to manually set the focus position and lock the focused area onto the objects you want to highlight.
Albums
You can view the photos and videos you have captured and the various images stored on your storage devices.
Note
Picture location information is only available for pictures which include geographical location information.
Slideshow
- Go to “Photos”, open a photo/video, tap “More > Slideshow”.
- Go to “Albums”, open a photo/video in a folder, tap “More > Slideshow”.
Share and delete
- In the hotos screen, tap
or press and hold a photo/video to enter the editing mode; select multiple photos or videos, and tap / 
- In the “Albums” screen, go to a folder, tap
or press and hold a photo/video to enter the editing mode; select multiple photos or videos, and tap /. 
Edit image
In the “Photos” or “Albums” screen, open an image to view, tap the view image screen to show/hide buttons and edit the image.
Calculator
Enter “Calculator” interface. Tap numbers and functions just like you would with a standard calculator. The standard calculator is displayed by default. You can hold the phone horizontally to display the scientific calculator.
Recorder
The recorder allows you to use the built-in microphone and use the phone as a portable recording device. Enter ” Recorder” interface. You can then perform the following operations on the recorder:
Tap
to start recording. Tap
to pause recording, and tap
to stop and save recording.
Play recording
Choose a recording file, then tap
to play/pause.
Drag the slider on the progress bar to go forwards or backwards.
Share and delete recording
Tap and hold to select the corresponding recording file, and then tap. ![]()
Set recording as ringtone
Long press a recording file, then tap ” >Set as ringtone” in the pop-up window to set it as the ringtone.
Clock
The clock consists of four functions:
- Alarm: You can tap
to add several alarm clocks. In the interface of alarm clock, click at ,You can finish detailed settings according to your habits. - Clock: You can tap
to add times for different cities. - Timer: You can use the timer as a countdown clock.
- Stopwatch: Click
to start timing, and click
to time respectively.
Compass
You can check out directions, longitude, latitude, and the horizontal line with the compass. Before using the function, please make sure your phone is in horizontal condition and away from electromagnetic interference, to ensure accuracy.
Note
- Please turn on network connection and location service before checking your current location.
- When under severe interference, the compass will be switched to the calibration window; the compass will resume after calibration.
- The digital compass can only be used to assist navigation. Please do not use it to determine an accurate location, proximity, distance or directions. vivo.com
You can learn more about vivo and our products in Home/Products You can feedback on the Suppor page and find solutions to common problems.
Note
Before using this function, please enable network access on your phone.
Google apps
Google provides entertainment, social networking and other apps. Some apps may require you to sign in to your Google account for further access.
For more information on apps, use their help pages.
Introducing some features
- Chrome/Google: You can search and visit webpages through Google Chrome.
- Gmail: You can send and receive emails through Google Mail services.
- Maps: Google Maps helps find your location and nearby facilities. You can also fill in your commute information to get traffic information in advance.
- YT Music: YouTube Music has the coolest new music and videos for you. Stream or save music to your device.
- YouTube: You can enjoy the videos shared by others or upload your own on YouTube.
- Photos: Google Photos is the perfect place to edit and manage your photos and videos from all sources.
- Assistant: Google Assistant can help you send SMS messages, make phone calls, and plan routes all with your voice.
- Duo: Google Duo helps you in touch with friends and family through videos calls.
- Files: Files helps you manage, share and clean up your saved files and apps.
- Google pay: Google Pay puts together all payment methods supported by Google so you can enjoy quick and secure payments after entering your bank information once.
- Calendar: After you set reminders, Calendar can remind you of upcoming events by sending you a notification.
- Play Store: After logging in, you can find the latest Android apps, games, movies, music and other amazing content. You can search for and download any content according to your personal needs.
Note
App availability and functions may vary depending on your region and service provider.
Settings
Network internet
WLAN
You can enable or disable Wi-Fi under “Wi-Fi”. Choose a network connection after enabling Wi-Fi. If a Wi-Fi network is encrypted then
is displayed and you need to enter the password. When your phone is connected to a Wi-Fi network, the signal strength of the Wi-Fi network
will be displayed in the status bar at the top of the screen. The more bars you see, the stronger the signal. If there is no Wi-Fi network available, or you have disabled Wi-Fi, your phone will try to connect to the Internet via a cellular data network. Once your phone is connected to a Wi-Fi network, it will connect to the network automatically when in range.
SIM card and mobile network
View the current SIM card status and change SIM card settings here.
Mobile data: When the cellular data connection is activated, you can use network-related applications such as Browser and Email via a data network. Your operator may impose charges on the service, please consult your operator for more details.
Hots pot & tethering
You can share the phone’s internet connection by creating a Wi-Fi hotspot
Airplane mode
- In the “Settings> Network & internet” interface, you can enable or disable the “Airplane mode”.
- You can swipe down from the stop of the screen to reveal the home screen shortcut center. Then you can tap the Airplane mode to enable or disable this function.
Note
Open the “Airplane mode” can save battery power
VPN
An organization’s internal VPN allows you to communicate private information securely over a public network. For example, you may need to configure a VPN to access your work emails. You can tap ” VPN ” to configure the VPN.
Bluetooth & devices
Bluetooth
You can then send data including files, contacts, pictures and music via Bluetooth.
Smart Mirroring
- Local file mirroring: This function allows you to mirror media files on your phone to be played on your device.
- Phone screen mirroring: Content on your phone screen can be displayed on your device synchronously. You can directly touch the screen controls on your phone to proceed.
OTG
OTG is short for On-The-Go, OTG technology realizes data transfer among storage devices.eg. Connect digital camera to the printer, connect both devices USB interface, we can print the photo by OTG. OTG enables you to connect external storage device with your phone. Enable you can operate pictures, videos and music files in your storage device.
Printing
You can use some apps on your phone to print. Before printing, please add a printer that can obtain data via the internet.
Display brightness
You can adjust the system settings such as screen brightness, auto-lock time of the phone.
Lock screen wallpaper
You can view or change system default themes or wallpapers here. You can also set the lock screen as you like.
Dynamic effects
A variety of animation styles are provided under the corresponding feature. You can select and apply your favorite style.
Sound
You can set your preferred sounds profile in “Settings >Sound”.
Apps notifications
All and services installed on your phone will be listed, you can adjust the detailed settings as you like. You can use this function to manage and set app permissions
Battery
View and change battery settings such as battery usage and power consumption here
Storage
Go to “Storage” interface, you can check the memory usage of the storage devices, as well as format the storage devices. All data will be cleared after the phone storage has been formatted. Please make sure that you have backed up important data before formatting.
Security
Update security settings to keep your phone secure.
Security status
View app security scan and update status here. Use “Find My Device” to remotely locate your device
Device security
You can set a screen lock or register your fingerprint or face for further security
Privacy
Here is a collection of functional settings for the security of the phone, such as system security and privacy security. You can adjust the settings according to your personal needs.
Location
You can set for location function under “Settings > Location”. After opening the function, apps such as Maps and Camera as well as third-party location-based apps can collect and use location data. When you do not need location data, you can disable function to save battery power.
Note
The location service will use the larger network traffic that is recommended for you to use the Wi-Fi network.
ultra Game Mode
You can add games to Game Box manually so they can use Game Box functions. Tap the add button to select games.
Shortcuts accessibility
- S-capture
You can adjust the settings by going to “S-capture”. You can also learn more about screenshot modes via “S capture> Instructions”. - Smart split
The split screen makes you handle two apps easily at the same time. On the interfaces of some apps, an incoming message will show as a floating icon. Tap the icon and the screen will split into two, and the two apps will display at the same time. - Smart Motion
You can go to “Smart Motion” to configure the smart motion. - Quick action
Open “Quick action”, when the screen goes black, press and hold [Volume button -] to open self customization feature, this setting can’t be used while the music is playing - Easy Touch
When “Easy Touch” is enabled, you can adjust the detailed settings as you like. - Task timer
You can make detailed settings for “Task timer” in ” Task timer”. When you have set “Scheduled power on/off”, your phone will turn on or off at the set time. When the set time has been reached, your phone will ask you to confirm whether you want to power off. You can choose “Cancel” to stop the phone from turning off. If no specific instructions are received, the phone will turn off after 60 seconds. - One-handed
You can go to “One-handed” to configure this function. You can tap the switch to select whether to display one handed interface for corresponding options. - Accessibility
Using the screen reader, the zoom gesture, the screen color corrector and other accessibility functions can help you make better use of your phone.
Digital Well being parental controls
You can check the usage of the device here and adjust the settings of some functions to reduce the interference the device causes to you. You can also set up Parental Control to control and manage the use of the phone by your child.
Google
You can adjust some of the functional configurations provided by Google here. Tap on
the home screen to learn about detailed solutions to related problems.
Accounts
Add account
To add an account, tap “Add account” and choose the account. You can choose to add multiple accounts. You need to register and log into a Google account to use some functions on the phone.
Automatically sync app data
When “Automatically sync app data” is activated, applications can synchronize data automatically.
Note
Please turn on network connection before using this function. Auto-sync will consume power and incur data usage. It is suggested that you turn off this function after you have finished syncing.
System
- System navigation
Selecting “Gesture navigation” will hide the navigation keys; selecting “3-button navigation” will show the navigation keys. You can set the navigation key according to your preference at “System navigation”. - Languages & input
You can set the system language in “Languages & input”. Tap ”Languages
” to choose a language. - Date & time
You can go to ” Date & timely to configure your phone s date and time. - Backup data/Restore data
You can back up apps and data on your phone to the Google server, and restore backed up information to your phone. - Reset options
Reset your phone here. Please tap the corresponding reset options for details. - Multiple users
Once this feature is enabled, you can share your phone with added users. Each user will have their own space on your phone.
About phone
Go to “About phone”, You can learn a variety of information related to the phone.For legal information, go to “About phone > Legal information”. Customer service: You can find the phone manual, E-warranty card and other information here to make better use of your phone.
Note
Before using this function, please enable network access on your phone.
Developer options
Developer options” is used by Android developers. Enabling set options under “Developer options” may lead to crash or abnormality to your apps or device. Please use it with caution. Before use PC tool to manage the device, please enable “USB debugging”. “USB debugging” switch is under “Developer options” menu. Steps to call up “Developer options” menu:
- Enter “Settings >About phone>Software information”.
- Click seven times at Build number
- Developer options menu will be appeared in Settings >System.
System update
You can use “System update” to easily and quickly upgrade your phone system. First, enable Wi-Fi or data network. Then go to “Settings” and tap “System update”. The phone will automatically detect new software version, which you can simply download and install.
Note
A recovery or system update that is not performed by vivo may cause security risks. It is recommended that you back up important data to a storage device before upgrading. System update consume a large amount of data, you’re suggested to use Wi-Fi.
Device Maintenance
About maintenance
It is important to understand mobile phone maintenance and servicing thoroughly so that you can use your phone safely and effectively and extend its service life as much as possible. For details on maintenance and troubleshooting, please refer to “Important Information and Warranty Card”.
Phone and accessories
This phone uses the Android operating system. To view the phone’s version, go to “Settings > About phone”.
In “Settings > About phone > Legal information > Safety information”, you can learn the safety considerations for this device to help you use it in a safer way.
Help
If you encounter any problems when using your phone, contact your network carrier or contact vivo after-sales service center. Please enter “Settings >About phone> Customer service> Service Center” interface to find service hotline.
Supported file formats
| Video recordings | mp4 |
| Pictures | pn,g jpg, bmp, gif |
| Sound recordings | m4a |
| Music | mp3. ogg . wav midi . flac . m4a . aac. amr. awb. mp2 |
| Video | avi, mp4, 3gp |
Instructions for connecting to USB
Connect to a PC using a USB cable, swipe down to show the notification drawer, tap the charging connection notification in silent notifications,select “File transfer” on the redirected page, and then you can manage the files on your phone using the PC.
Windows
- With Windows 7 and above, users do not need to install any drivers. You can double click “Computer” (Win 7) or “This Computer” (Win 10) on the desktop to view your device, and then double-click it to copy and manage the files on your phone.
- With Windows XP, users need to install the MTP driver. Go to www.vivo.com on your computer, select the Support” tab, and type USB in the search box to find the link for the MTP driver. Download and install the driver to manage the files on your phone using your computer.
Note
To use the function properly, computers running Windows XP need to install Windows Media Player 1 1 or above.
Mac
- Mac OS users need to download “Android File Transfer. dmg” to manage the phone files.
- Visit vivo official website ww.vivo.com, select “Support” page, and click on “USB” download the Mac system MTP management tool. After the download is completed, you can open it to use the computer to manage the phone files.
Linux
Manage the phone files using mtpfs software:
- Install tool “sudo apt-get install mtp-tools mtpfs”;
- Create new directory “sudo mkdir /media/mtp”,
- Modify the directory permission “sudo chmod 755 /media/mtp”,
- Install device “sudo mtpfs -o allow other /media/mtp”, then you can manage the phone files in the file manager;
- Unload device “sudomount /media/mtp”.
During installation, do not disconnect the USB data cable between the phone and the computer. If it cannot be used after being installed, please restart the computer or reinstall.




































