
USE AND CARE GUIDE
7.5 INCH DIMMABLE WHITE ROUND CEILING LIGHT
WITH SELECTABLE COLOR

Safety Information
For your safety, always remember to:
- Turn off the power supply at the fuse or circuit breaker box before you install the fixture.
- Ground the fixture to avoid potential electric shocks and to ensure reliable starting.
- Double-check all connections to be sure they are tight and correct.
- Wear rubber soled shoes and work on a sturdy wooden ladder.
- Account for small parts and destroy packing material, as these may be hazardous to children.
This fixture is designed for use in a circuit protected by a fuse or circuit breaker. It is also designed to be installed in accordance with local electrical codes. If you are unsure about your wiring, consult a qualified electrician or local electrical inspector, and check your local electrical code.
FCC STATEMENT
This device complies with part 15 of the FCC Rules. Operation is subject to the following two conditions: (1) This device may not cause harmful interference, and (2) this device must accept any interference received, including interference that may cause undesired operation. Note: This equipment has been tested and found to comply with the limits for a Class B digital device, pursuant to part 15 of the FCC Rules. These limits are designed to provide reasonable protection against harmful interference in a residential installation. This equipment generates, uses and can radiate radio frequency energy and, if not installed and used in accordance with the instructions, may cause harmful interference to radio communications. However, there is no guarantee that interference will not occur in a particular installation. If this equipment does cause harmful interference to radio or television reception, which can be determined by turning the equipment off and on, the user is encouraged to try to correct the interference by one or more of the following measures: Reorient or relocate the receiving antenna. Increase the separation between the equipment and receiver. Connect the equipment into an outlet on a circuit different from that to which the receiver is connected. Consult the dealer or an experienced radio/TV technician for help. Any changes or modifications not expressly approved by the manufacturer could void the user’s authority to operate the equipment. Feit Electric Company, 4901 Gregg Road, Pico Rivera, CA 90660. www.feit.com. CAN ICES-005 (B).
WARNING: RISK OF SHOCK. House electric current can cause painful shock or serious injury unless handled properly.
CAUTION: Turn off the main power at the circuit breaker before installing the fixture, in order to prevent possible shock.
NOTICE: All electrical connections must be in accordance with local and National Electrical Code (N.E.C.) standards. If you are unfamiliar with proper electrical wiring connections obtain the services of a qualified electrician.
Remove the fixture and the mounting package from the box and make sure that no parts are missing by referencing the illustrations on the installation instructions.
WARNING: Risk of fire. Use only on 120 volt 60Hz circuits. Suitable for damp locations. Before installing your lighting fixture, thoroughly review enclosed installation manual. If you do not have sufficient electrical wiring experience, please refer to a doit-yourself wiring handbook or have your fixture installed by a qualified licensed electrician. All electrical connections must be in accordance with Local and National Electrical Code (NEC) Standards. Reliable operating temperature is 0˚F –120˚F. If flickering occurs in low level dimming, increase light level. Compatible with most dimmers including Leviton 6681-IW, Lutron S-600P and Lutron DVCL153. Dimmable to 10% with most dimmers.
Limited Warranty
This product is warrantied to be free from defects in workmanship and materials for up to 5 years from date of purchase. If the product fails within the warranty period, please contact Feit Electric at [email protected], visit feit.com/contact-us or call 1-866-326-BULB (2852) for instructions on replacement or refund. REPLACEMENT OR REFUND IS YOUR SOLE REMEDY. EXCEPT TO THE EXTENT PROHIBITED BY APPLICABLE LAW, ANY IMPLIED WARRANTIES ARE LIMITED IN DURATION TO THE DURATION OF THIS WARRANTY. LIABILITY FOR INCIDENTAL OR CONSEQUENTIAL DAMAGES IS HEREBY EXPRESSLY EXCLUDED. Some states and provinces do not allow the exclusion of incidental or consequential damages, so the above limitation or exclusion may not apply to you. This warranty gives you specific legal rights, and you may also have other rights which vary from state to state or province to province.
Pre-Installation
TOOLS REQUIRED

Phillips screwdriver
HARDWARE INCLUDED
NOTE: Hardware not shown to actual size.

| Part | Description | Quantity |
| AA | Fixture | 1 |
| BB | Mounting bracket | 1 |
| CC | 4 in. mounting clip spring | 2 |
| DD | 5 & 6 in. torsion springs | 2 |
| EE | E26 adapter with male connector | 1 |
| FF | Stripped wires with male connector | 1 |
| GG | Ground wire | 1 |
| HH | Mounting bracket screws | 2 |
| II | 5 & 6 in. torsion spring screws | 2 |
| JJ | 4 in. mounting clip screws | 4 |
| KK | Ground wire screw | 1 |
| LL | Wire connectors | 3 |
Junction Box Installation
- Turning off the power
□ Turn the power OFF at the switch and fuse box or the circuit breaker. - Choosing a color temperature
□ Use the slide switch to choose a color temperature before installing. The choices are Soft White (SW), Bright White (BW), and Daylight (DL). You can also choose to adjust the color temperature from the wall switch (SWITCH) (See Fig. 1).
- Connecting the wires
□ Identify the wiring: (Black – line voltage, White – neutral and Green – ground)
□ Connect the stripped wires with male connector (FF) to the two wires coming from the J-box: Black – line voltage to Black, White – neutral to White, using wire connectors provided (LL).
□ Ensure the fixture is properly grounded according to local code requirements. Connect the ground wire (GG) to the mounting bracket (BB) as shown in Fig.2 and connect to the ground wire in the J-box with the wire connectors provided (LL).
- Installing the mounting bracket to the junction box
□ Install the mounting bracket (BB) to the J-box by inserting the two mounting bracket screws (HH) through the slots in the mounting bracket.
□ Make sure the mounting bracket (BB) is installed with the label faced downwards (See Fig. 3).
- Installing the fixture to the mounting bracket
□ Secure the fixture (AA) to the mounting bracket (BB) by pressing the fixture into the mounting bracket until the clips on the fixture engage together. Make sure the fixture is firmly locked into place (See Fig. 4).
4 in. Recessed Can Installation
- Turning off the power
□ Turn the power OFF at the switch and fuse box or the circuit breaker.
□ Remove the existing trim installed in the recessed housing. - Choosing a color temperature
□ Use the slide switch to choose a color temperature before installing. The settings are Soft White (SW), Bright White (BW) and Daylight (DL) or you can choose to adjust the color temperature from the wall switch (SWITCH) (See Fig.1).
- Remove the mounting bracket
□ Remove the mounting bracket (BB) from the fixture (AA) (See Fig.2).
- Installing the 4 in. clip springs to the mounting bracket
□ Install the 4 in. clip springs (CC) to the mounting bracket (BB) using the four clip spring screws (JJ) provided (See Fig. 3).
□ Make sure the mounting bracket (BB) is installed with the label faced downwards (See Fig. 4).
- Installing the adapter and connect the terminals
□ Install the E26 adapter (EE) into the socket (See Fig. 5).
□ Connect the two terminals together (See Fig. 6).
- Installing the fixture into the recessed housing
□ Install the fixture back into the mounting bracket (BB).
□ Gently push the fixture (AA) into the recessed housing (See Fig. 7).
5/6 in. Recessed Can Installation
- Turning off the power
□ Turn the power OFF at the switch and fuse box or the circuit breaker.
□ Remove the existing trim installed in the recessed housing. - Choosing a color temperature
□ Use the slide switch to choose a color temperature before installing. The options are Soft White (SW), Bright White (BW), and Daylight (DL). You can also choose to adjust the color temperature from the wall switch (SWITCH) (See Fig.1).
- Remove the mounting bracket
□ Remove the mounting bracket (BB) from the fixture (AA) (See Fig.2).
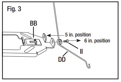
- Adjusting the torsion springs
□ Insert the torsion springs (DD) into mounting bracket (BB).
□ The position of the torsion springs will vary depending on the diameter of the recessed housing. See Figure 3 for the correct position.
- Installing the adapter and Connecting the terminals
□ Install the E26 adapter (EE) into the socket (See Fig.4).
□ Connect the two terminals together (See Fig. 5).
- Installing the fixture into the recessed housing
□ Install torsion spring into fixture bracket.
□ Gently push the fixture into the recessed housing (See Fig. 6).

Changing the Color Settings

NOTICE: The toggle switch is located on the back of the fixture.
4-way color changing:
- You can lock in one color temperature, change among multiple color temperatures, dim from 1%100%, memorize the last color temperature and reset automatically.
- Light Switch Marks on the lamp represent: SW (Soft White) – BW (Bright White) – DL (Daylight) – Switch (Light Switch)
- When the slide switch is set to SW (Soft White), the color temperature is set at 3000K.
- When the slide switch is set to BW (Bright White), the color temperature is set at 4000K.
- When the slide switch is set to DL (Daylight), the color temperature is set at 5000K.
- When the slide switch is set to SWITCH, the color temperature can be changed from SW-BW-DL with your existing light switch.
To change color temperatures using your existing light switch:
A. Set the slide switch on the back of the fixture to SWITCH.
B. Toggle your light switch ON and OFF within 0.5-3 seconds to cycle though the three different color temperatures.
C. If the fixture is left ON for over 10 seconds then turned OFF, the fixture will remember the last color temperature selected and will display that color when turned on again.
D. The reset function is used when using multiple Color Selectable lighting products operating from the same light switch. In the event that multiple fixtures are not displaying the same color at the same time, the fixtures must be RESET using your existing light switch. Simply toggle the wall switch ON and OFF
7 times, leaving it in the ON position for 2 second intervals. (ex: With the fixture in the ON position, toggle the wall switch OFF then ON, leaving it ON for 2 seconds, then OFF then ON, leaving it ON for 2 seconds. (Repeat 7 times.)
WWW.FEIT.COM
Please contact 1-866-326-BULB (2852) for further assistance.
FEIT ELECTRIC COMPANY
PICO RIVERA, CA
1-866-326-BULB (2852)
www.feit.com
































