PHILIPS 322031716 Massive Instyle Plano Ceiling Bathroom Light User Manual
Included Items

Tools Needed

Precautions

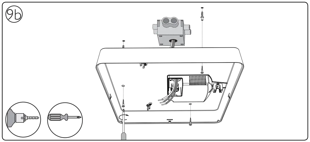
Assembly Instruction













Philips Lighting Contact Centre
Int. Business Reply Service
I.B.R.S. / C.C.R.I. Numéro 10461
5600 VB Eindhoven
Pays-Bas / The Netherlands
http://www.philips.com/homelighting
+800 7445 4775
4404.018.32551
Last update: 04/04/13

















