Mercia Garden Groundsman

General Instructions
BEFORE YOU START PLEASE READ INSTRUCTIONS CAREFULLY
- Check the pack and make sure you have all the parts listed.
- When you are ready to start, make sure you have the right tools at hand (not supplied) including a Phillips screwdriver, Stanley knife, wood saw, step ladder and drill with 2mm bit.
- Ensure there is plenty of space and a clean dry area for assembly.
TIMBER
As with all natural materials, timber can be affected during various weather conditions. For the duration of heavy or extended periods of rain, swelling of the wood panels may occur. Warping of the wood may also occur during excessive dry spells due to an interior moisture loss. Unfortunately, these processes cannot be avoided but can be helped. It is suggested that the outdoor building is sprayed with water during extended periods of warm sunshine and sheltered as much as possible during rain or snow.
Our buildings are pre treated with a water based treatment**; this only helps to protect the product during transit and for upto 3 months against mould. To validate your guarantee and ensure longevity of the product, it is ESSENTIAL the building is treated with a wood preserver within the first three months of assembly and thereafter in accordance with the manufactures recommendations. Care must be taken to ensure the product is placed on a suitable base.
BUILDING A BASE
When thinking about where the building and base is going to be constructed:
Ensure that there will be access to all sides for maintenance work and annual treatment.
Ensure the base is level and is built on firm ground, to prevent distortion. Refer to diagrams for the base dimensions, The base should be slightly smaller than the external measurement of the building, i.e. The cladding should overlap the base, creating a run off for water. It is also recommended that the floor be at least 25mm above the surrounding ground level to avoid flooding.
TYPES OF BASE
- Concrete 75mm laid on top of 75mm hard-core.
- Slabs laid on 50mm of sharp sand.
Whilst all products manufactured are made to the highest standards of Safety and in the case of children’s products independently tested to EN71 level, we cannot accept responsibility for your safety whilst erecting or using this product.
Refer to the instruction pages for your specific product code
- For ease of assembly, you MUST pilot drill all screw holes and ensure all screw heads are countersunk.
- Winter = High Moisture = Expansion
Summer = Low Moisture = Contraction - CAUTION
Every effort has been made during the manufacturing process to eliminate the prospect of splinters on rough surfaces of the timber. You are strongly advised to wear gloves when working with or handling rough sawn timber.
**Protim Aquatan T5 (621)**
Your building has been treated with Aquatan.
Aquatan is a water-based concentrate which is diluted with water, the building as been treated by the correct application of Aquatan solution and then allowed to dry.
Aquatan is a decorative finish to colour the wood, which is applied industrially to timber fence panels and garden buildings.
Aquatan undiluted contains: boric acid, sodium hydroxide 32% solution, aqueos mixture of sodium dioctyl sulphosuccinat and alcohols: 2, 4, 6-trichlorophenol.
Overall Dimensions:
- Length = 3147mm
- Width = 1969mm
- Height = 2094mm
Base Dimensions:
- Length = 3044mm
- Width = 1851mm
Content Box


Pre-Assembly
Fix the door strips on top the front of the door gable using 4x40mm screws per strip. The frames should sit 13mm from the door aperture.
Attach the doors to the building using the T-hinges and 7x30mm screws per hinge.
*Tip: build the roof support “Step 5” by lining the components against the back of the door gable.
Step 1:
Remove transportation blocks from the bottom of each panel before assembling the building.
Step 2:

Place the floor panels onto a firm & level base, ensure the base has suitable drainage free from areas where standing water can collect.
Secure the floors together using 10x50mm screws fixing in an alternating pattern.
Step 3:

- Place the plain gable and the window panels onto the floor and secure using 6x50mm screws.
- DO NOT secure the building to the floor until the roof is fixed in place.
* Window panels can be placed on either side of the building.
Step 4:

Using the same method outlined in Step 3, fix the plain sides & the door gable using 12x50mm screws.
DO NOT secure the building to the floor until the roof is fixed in place.
Step 5:
Fix the roof panels to the building. Ensure the framing fits into the slot at the top of the gables.
Secure in place using 12x30mm screws per roof panel.
Step 6:

Now That the roof is fixed secure the building to the floor with 24x50mm screws.
* Ensure to screw in alignment with the floor bearers.
Step 7:

Cut the felt into 3 sheets and lay onto the roof as shown in the diagram ensuring there is 50mm overhang around the sides.
Fix using 180x felt tacks at 100mm intervals.
Step 8:

Attach the cover trims to the building using 3x40mm screws per strip.
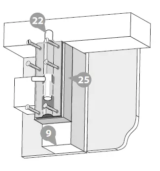
Step 9:
Fix the fascia blocks to roof using 2x30mm screws per block. Ensure the blocks are flush to the edge of the roof.
Attach the fascia’s and finial’s to the front and back of the building with 12x30mm screws.
Step 10:

To fix the lock in place. Screw the Staple to the Door Gable or Slave door.
Making sure the Hasp is in line with the staple and screw into the Door or Master door.
To lock the Door, place the Hasp over the Staple and twist into the lock position as shown.
Step 11:

Attach the bolt block to the top of the slave door with 2x30mm screws.
Align the tower bolts onto the block and fix using 6x30mm screws.
Step 12:

Opening Window
Place the window strip 11mm over the window opening and fix in place with 3x30mm screws per strip.
Ste
6x30mm Screws
If you would like the windows to be opening use the butt hinges to attach the window to the strip. Fix the hinges to the strip using 30mm screws and 16mm to fit the hinges to the window frame.
Fixed Window: If you would like the windows to be fixed instead of opening, secure the window to panel using 4x30mm screws per window.
Step 13:
Fix the casement stay to the window and then align the fixings to the window panel framing. Ensure the casement stay fits onto the fixings when closed before securing in place.
Step 14:

Line the ridge bar centrally between the roofs, support with the roof block at each gable end, fixing in place using 5x50mm screws per block.
secure the bunk support with the “L” brackets at each end, fitting them into place using 4x30mm screws per “L” bracket.



















