
Chargers HTY-2128 4-in-1 Charging Station for Airpods Apple Watch Cellphone

Features
- Fast wireless charging and USB-C charging, AirPods charging stand, and Apple Watch charging stand multifunctional in one, which can realize wireless phone fast charging and ordinary USB charging at the same time, and charge AirPods and Apple Watch at the same time. The mobile phone model can be intelligently identified, and the wireless charging supports 10W/15Wfast charging, 7.5W Apple fast charging, and 5W ordinary charging.
- Adopting a retractable structure, the charging cables of AirPods and Apple Watch are hidden in the casing, the whole product is more concise, and the desktop will not be messy.
- The mobile phone wireless charging coil is far away from the heat source to better improve the charging efficiency. It can be charged upright or down, which is convenient and fast.
- Designed a charging location for AirPods and Apple Watch. AirPods is plugged and charged. The base is compatible with new and old AirPods and does not block the screen of the Apple Watch.
- A built-in magnetic isolation sheet for wireless charging increases the magnetic flux of the coil, and the conversion rate can reach 80%. The built-in circuit is equipped with multiple protections, over-voltage protection, input over-current protection, output over-current protection, anti-ripple, short circuit protection, anti-electromagnetic protection and anti-static protection, charging is safer.
Product Specifications
- Model: HTY-2128
- Name:4 in1 Charging Station for AirPods,Apple Watch,CellPhone Material:ABS + PC(anti-flame retardant)
- Weight: 0.55(lb)
- Dimensions: 211*153*55.5(mm)
- Input Voltage:Adapter:100-240V AC 50 / 60HZ Station:9VDC 4A
- Output Power: 15W (5V 3A) + (15W,10W,7.5W,5W) (varies according to different mobile phone models)
- Wireless Charging Distance: 3-8mm
Cellphone Charging Schematic Diagram


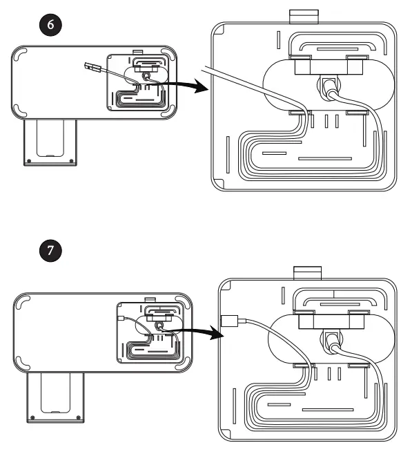
AirPods Charging Base Assembly Steps

Apple Watch Charging Stand Assembly Steps
NOTE
- Please check whether the charged device is compatible with the product voltage firstly.
- Before using the wireless charger, please check whether there is a metal object on the back of the phone. When there is a metal piece or other metal material on the back of the charged phone, the wireless charger will start up the FOD foreign object detection function and the phone will not be charged normally.
- To ensure safety and efficiency, it is strongly recommended to use the original charging cable or a third-party certified charging cable to power the device.
- Only use for indoor and dry environments, avoid using in high temperature, humidity, and oily environment. It is forbidden to use after seeping liquid or throwing into fire. Pay attention to moisture and waterproofing.
- It is strictly forbidden to place the product in a strong magnetic field environment.
- Avoid placing it in the reach of infants and children.
- Non-professionals are not allowed to disassemble and repair without authorization
Package List
- USB-C Charging Station * 1 Manual * 1
- AC-DC Adapter *1
- USB Charging Cable * 1
Wireless charging compatible with mobile phone models
Apple: iPhone13/ iPhone13 pro/ iPhone13 pro max/ iPhone12/ iPhone12 pro/ iPhone12 pro max/ iPhone11/ iPhone11 pro/ iPhone11 pro max/ iPhone x/ iPhone xs/iPhone xs max/ iPhone XR/ iPhone8 / iPhone 8 Plus Samsung: Galaxy S10/Galaxy S10+/Galaxy S9/Galaxy S9+/Galaxy S8/Galaxy S8+/Galaxy S7/Galaxy S7 edge/Galaxy S6/Galaxy S6 edge
- Nokia: Lumia Series 735/820/822/830/920/929/1020/1520
- SONY: Z3V/Z4V
- Google: Nexus 4/Nexus 5/Nexus 6/Nexus 7
- LG: G pro/G2 (US Version) /G3(US Version)
- MOTO: Droid 5
- HTC: One Mini 2/One M8 Eye(Mobile 4G/M3Et) /One E9(E9t Mobile 4G) /Butterfly3(Mobile 4G)/HTC Droid DNA(US Version)/HTC 8X(US Version) /Butterfly(US Version)
- FCC Caution: Any changes or modifications not expressly approved by the party responsible for compliance could void the user’s authority to operate this equipment.
This device complies with Part 15 of the FCC Rules. Operation is subject to the following two conditions:
- This device may not cause harmful interference, and
- this device must accept any interference received, including interference that may cause undesired operation.
FCC RF exposure statement:
The equipment complies with the FCC Radiation exposure limit set forth for uncontrolled environments. This equipment should be installed and operated with a minimum distance of 20cm between the radiator and your body.


























