
EST. NEW YORK 1937
Shea Soft Curling Wand
CI4740
remington-europe.com
CI4740 Shea Soft Curling Wand

Thank you for buying your new Remington® product. Please read these instructions carefully and keep them safe. Remove all packaging before use.
WARNING: This appliance is hot. Keep out of reach of children at all times.
IMPORTANT SAFEGUARDS
- This appliance can be used by children aged from 8 years and above and persons with reduced physical, sensory or mental capabilities or lack of experience and knowledge if they have been supervised/instructed and understand the hazards involved. Children shall not play with the appliance. Cleaning and user maintenance shall not be done by children unless they are older than 8 and supervised. Keep the appliance and cable out of reach of children under 8 years.
Do not use this appliance near bathtubs, showers, basins or other vessels containing water. - When the appliance is used in a bathroom, unplug it after use since the proximity of water presents a hazard even when the appliance is switched off.
- For additional protection, the installation of a residual current device (RCD) having a rated residual operating current not exceeding 30 mA is advisable in the electrical circuit supplying the bathroom*.
* Currently, the fitting in a bathroom of an electrical socket suitable or capable of operating the appliance is not permitted in the UK (see BS7671). - Burn hazard. Keep the appliance out of reach from young children, particularly during use and while cooling down.
- Never leave the appliance unattended when it is connected to the power supply.
- Always place the appliance with its stand, if any, on a heat-resistant, stable flat surface.
- If the supply cord of this unit becomes damaged, discontinue use immediately and return the appliance to your nearest authorised Remington® service dealer for repair or replacement in order to avoid a hazard.
- Do not allow any part of the appliance touch the face, neck or scalp.
- Keep the power plug and cord away from heated surfaces.
- Do not use attachments other than those we supply.
- Do not use the appliance if it is damaged or malfunctions.
- Do not twist or kink the cable, or wrap it round the appliance. Check the cord regularly for any sign damage.
- CAUTION: Always remove the appliance from the storage pouch/sleeve before heating and allow it to fully cool before placing it back.
- This appliance is not intended for commercial or salon use.
- WARNING: Contains traces of nuts.
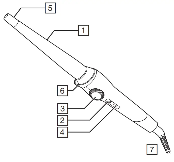
PARTS
- Advanced ceramic coated barrel
- On-off switch
- Temperature controls
- Ready indicator light
- Cool tip
- Stand
- Swivel cord
Not shown:
- Styling glove
- Storage pouch
ADDITIONAL FEATURES
- Fast heat up—ready to use in 30 seconds.
- Automatic safety shut off – this unit will switch itself off if no button is pressed or it is left on after 60 minutes.
- Worldwide voltage: for home or abroad. At 120V times and temperatures may vary.
INSTRUCTIONS FOR USE
- Before use, ensure the hair is clean, dry and tangle-free.
- For extra protection use a heat protection spray.
- Hairsprays contain flammable material – do not use while using this product.
- Section the hair prior to styling. Style the lower layers first.
- Use the glove to avoid any accidental burns.
1. Plug in the appliance and slide the switch to turn on.
2. Start styling on lower temperatures first. Select appropriate temperature for your hair type using the controls on the side of the product.
3. To increase the temperature rotate the temperature controls to the right moving the temperature level indicator towards the top temperature. To decrease the temperature rotate the controls to the left moving the temperature level indicator towards the lowest temperature.
Temperature Wheel settings:
- 130 = Lowest temperature
- 200 = Maximum temperature
Recommended Temperatures
| Temperature | Hair type |
| 130°C – 150°C | Thin / fine, damaged or bleached hair |
| 160°C – 180°C | Normal, healthy hair |
| 190°C – 200°C | Thick and difficult to style hair |
Caution: the hottest temperatures should only be used by experienced stylers.
4. The indicator light will stop flashing once the desired temperature is reached.
5. Hold the handle and wrap the hair around the heated barrel.
6. Wait about 10 seconds for curl to form.
7. Unwind the hair and release the curl.
8. Repeat this around the head to create as many curls as desired.
9. Allow the hair to cool before styling.
10. When finished slide the switch down to turn off and unplug the appliance.
STORAGE, CLEANING AND MAINTENANCE
Let the appliance cool down before cleaning and storing away
- Wipe all the surfaces with a damp cloth.
- Don’t use harsh or abrasive cleaning agents or solvents.
RECYCLING
To avoid environmental and health problems due to hazardous substances, appliances and rechargeable and non-rechargeable batteries marked with one of these symbols must not be disposed of with unsorted municipal waste. Always dispose of electrical and electronic products and, where applicable, rechargeable and non-rechargeable batteries, at an appropriate official recycling/collection point.
Ref. No. CI4740
Type No. CI23AW
120-240В~50/60Гц 39 Вт ![]()
22/INT/ CI4740 T22-7002487-B Version 04 /22
Remington® is a Registered Trade Mark of Spectrum Brands,Inc., or one of its subsidiaries
Russell Hobbs Deutschland GmbH, Am Unisyspark 1, 65843 Sulzbach, Germany remington-europe.com
© 2022 Spectrum Brands, Inc.

















