Breville LPF308 AirDynamic 3D Connect Air Circulator

BREVILLE RECOMMENDS SAFETY FIRST
At Breville we are very safety conscious. We design and manufacture consumer products with the safety of you, our valued customer, foremost in mind. In addition, we ask that you exercise a degree of care and adhere to the following precautions.
IMPORTANT SAFEGUARDS
READ ALL INSTRUCTIONS BEFORE USE AND SAVE FOR FUTURE REFERENCE
- Carefully read all instructions before operating the air circulator for the first time and save for future reference.
- Remove and safely discard any packaging material and promotional labels before using the air circulator for the first time.
- To eliminate a choking hazard for young children, remove and safely discard the protective cover fitted to the power plug of this air circulator.
- When unpacking the air circulator, check to see you have received all the items listed in the parts list, before discarding the packaging.
- Do not place the air circulator near the edge of a bench or table during operation. Ensure that the surface is level, stable, clean and free of water and other substances.
- Always ensure the air circulator is properly assembled before use. Follow the instructions provided in this book.
- This air circulator is intended for household use only and not for commercial or industrial use.
- Use only the charger supplied with this appliance to recharge this air circulator.
- Disconnect the power plug before dismantling, assembling or before cleaning and when the air circulator is not in use.
- Avoid touching moving parts of the air circulator.
- Never insert fingers, pencils or any other objects through the guards whenever the power plug is connected, in particular while the air circulator is switched on.
- The air circulator must not be used if the guards are not fastened correctly, according to instructions provided in this book.
- When positioning the rear grille on the motor shaft, always ensure the carry handle on the grille is positioned in the upright position.
- Ensure the fan blade engages fully onto the shaft. Please note this may require some force to ensure it is fully engaged.
- The air circulator must not be used if the base is not fastened correctly, according to the instructions provided in this book.
- Do not operate in the presence of explosives and/or flammable fumes or liquids.
- Do not unplug the air circulator by pulling on the cord.
- Never carry the air circulator by the cord or yank to disconnect from an outlet; instead, grasp the plug and pull to disconnect. Do not pull the cord around sharp edges or corners.
- Allow the fan blade to stop completely, always switch off at the power outlet, and then unplug the air circulator from the outlet:
- Before attempting to move the air circulator
- Before cleaning and maintenance unless otherwise specified in this booklet
- Immediately after use.
- To prevent damage to the air circulator do not use alkaline cleaning agents when cleaning, uses a soft cloth and mild detergent.
- Do not place anything, on top of the air circulator when assembled, when in use and when stored.
- Store the unit out of reach of children.
- Keep the air circulator clean. Follow the cleaning instructions provided in this book.
IMPORTANT SAFEGUARDS FOR ALL ELECTRICAL APPLIANCES
- Fully unwind the power cord before use.
- Connect only to a 230V or 240V power outlet.
- The appliance must be used on a properly grounded outlet. If it is not sure, please consult a qualified electrician.
- Do not, under any circumstances, modify the power plug or use a power plug adapter.
- Do not place this appliance on or near a heat source, such as hot plate, oven or heaters.
- Position the appliance at a minimum distance of 20cm away from walls, curtains and other heat or steam sensitive materials and provide adequate space above and on all sides for air circulation.
- Do not let the power cord hang over the edge of a bench or table, touch hot surfaces or become knotted.
- This appliance is for household use only. Do not use this appliance for anything other than its intended use. Do not use in moving vehicles or boats. Do not use outdoors.
Misuse may cause injury. - The appliance is not intended for use by persons (including children) with reduced physical, sensory or mental capabilities, or lack of experience and knowledge, unless they have been given supervision or instruction concerning use of the appliance by a person responsible for their safety.
- Children should be supervised to ensure that they do not play with the appliance.
- Always turn the appliance to the OFF position, switch off at the power outlet and unplug at the power outlet when the appliance is not in use.
- Before cleaning, always turn the appliance to the OFF position, switch off at the power outlet, unplug at the power outlet and remove the power cord, if detachable, from the appliance and allow all parts to cool.
- To protect against electric shock, do not immerse the power cord, power plug or appliance in water or any other liquid or allow moisture to come in contact with the part, unless it is recommended in the cleaning instructions.
- Any maintenance other than cleaning should be performed at an authorised Breville Service Centre.
- It is recommended to regularly inspect the appliance. To avoid a hazard, do not use the appliance if power cord, power plug or appliance becomes damaged in any way. Return the entire appliance to the nearest authorized Breville service centre for examination and / or repair.
- The installation of a residual current device (safety switch) is recommended to provide additional safety protection when using electrical appliances. It is advisable that a safety switch with a rated residual operating current not exceeding 30mA be installed in the electrical circuit supplying the appliance. See a qualified electrician for professional advice.
- During electrical storms, the appliance should be disconnected from the power source at the wall socket to prevent any electrical surges that may arise during the storm and which may inadvertently cause damage to the appliance and its electronic componentry.
FOR HOUSEHOLD USE ONLY SAVE THESE INSTRUCTIONS
Components
A. Front grille
B. Pedestal tube
C. Control panel with LED display
D. Anti-topple base
E. Allen Key with Hex and Phillips bit
F. Remote control
G. Rear grille
H. Fan blades
I. Rear grille locking nut
J. Motor shaft
K. Blade cap
L. Motor shaft pin
M. Circulator motor head
N. Power inlet
O. Hexagon screw
P. Power adaptor
Q. Phillips screws (including 1 spare)
Control Panel

A. VERTICAL OSCILLATION
B. HORIZONTAL OSCILLATION
C. TIMER
D. NATURAL MODE
E. POWER ON/OFF
F. SMART ECO MODE
G. UP / WI-FI
H. DOWN
I. TURBO SPEED
J. LED DISPLAY
Features
WHAT IS AN AIR CIRCULATOR?
Traditional fans will move air that is directly in contact with them, pulling air from behind to the front, with the benefit of cooling being felt only when directly facing you. Usually traditional fans are only used during the warmer months. Air circulators on the other hand, work to keep all air in a room in motion, moving around constantly and creating an air circulation pattern that will make the whole room more comfortable. By using a 3D air circulation, your Breville air circulator ensures constant movement of the air in the room, reducing cold and warm spots that are found in many rooms. By circulating both stale indoor air and fresh outdoor air (from open windows), Breville air circulators also work on improving ventilation.
The Breville pedestal air circulator is perfect to use all year round, as it regulates temperature, clears stuffy air and creates a safe environment for the whole family.
WHERE TO POSITION YOUR AIR CIRCULATOR
WARMER MONTHS:
Cool air tends to sink to the floor. During warm weather, point the air circulator facing towards a wall on high speed, angled halfway between the ceiling and floor. The circulator will efficiently cool the room down by forcing the cool air to move, creating air circulation patterns. When using an air conditioner, point the air circulator from the back of the room towards the bottom of the air conditioner at a 30° angle to intensify the cool air and distribute the cool air faster and more efficiently around the room. Use the horizontal oscillation for even better distribution.
COOLER MONTHS:
Warm air naturally rises towards the ceiling. When using a heater, the warm air produced will move up. Point the air circulator fan up at a 90° angle. By pointing the air circulator upwards, the hot air will circulate with the cooler air near the floor, resulting in better distribution of room temperature.
Assembly
BEFORE FIRST USE
Before using your Breville pedestal air circulator for the first time, remove all packaging material and promotional labels. Check for any missing or damaged parts as per the components list.
IMPORTANT:
When unpacking the air circulator, check to see you have received all the items listed in the components list, before discarding the packaging.
ASSEMBLING THE PEDESTAL STAND AND BASE
- Align the connector on the bottom of the pedestal tube with the connector on the top of the anti-topple base and push together (Fig 1).

- Safely turn the assembled anti-topple base on its side and securely tighten the assembly using the hexagon screw and the Allen key provided (Fig 2). Return the unit back to an upright position.

ASSEMBLING THE AIR CIRCULATOR HEAD
- Remove the blade cap from the motor shaft by turning clockwise. Remove the rear grille locking nut by turning it counter-clockwise (Fig 3).

- Separate the front grille by turning the front grille counter-clockwise (Fig 4). Remove packaging and the fan blade and put aside.

- To place the rear grille onto the motor head, align the motor head with the locating tab on the rear grille. Ensure the upward arrow mark on the motor head aligns with the upward arrow mark on the rear grille.
- Refit the rear grille locking nut and secure the rear grille by turning the locking nut clockwise (Fig 5). Make sure the rear grille has not slipped off the locating pins before tightening. This should be done by hand. Do not use force to secure.

- Align the grooves found at the back centre of the blade with the motor shaft pin and push all the way down.
NOTE: The back of the blade can be distinguished from the front by a distinctive O symbol found on the blade fin. - Refit and secure the blade cap onto the motor shaft by turning counter-clockwise (Fig 6). This should be done by hand. Do not use force.

- Place the front grille onto the rear grille so that the left line mark on the top of the rear grille is aligned with the line mark on the front grille. Turn clockwise to lock into place.
HINT: Once the front and rear grilles are assembled correctly, the Breville logo will be straight. - Securely tighten the assembled grilles using the Phillips screw and the Allen key provided (Fig 7).

- Connect the power adaptor into the power inlet found on the anti-topple base. The air circulator is now ready for use.
Operation
OPERATING YOUR BREVILLE AIR CIRCULATOR
- Place the air circulator on a flat surface. Use the Where to Position Your Air Circulator section in this book for positioning depending on requirements.
- Insert the power plug into a 230V or 240V power outlet and switch the power outlet on. The LED display will illuminate to display the current room temperature. The air circulator is now in standby mode.
- Touch the button to turn the air circulator on. The air circulator will automatically start in NORMAL mode at fan speed 1.
NOTE: To return to standby mode at any time during operation, touch the button.
CAUTION:
Never insert fingers, pencils or any other objects through the guards whenever the power plug is connected, in particular while the air circulator is switched on.
ROOM AMBIENT TEMPERATURE
Your Breville Air Circulator is fitted with a temperature sensor that detects the room temperature which will display through the LED display. The figure displayed is only an indication of the room temperature and will vary depending on the location of the air circulator in the room. The LED display shows ambient temperature only, or cycles to show the ambient temperature and the setting depending on the selected mode.
Functions
MODE
This Breville AirDynamic 3D™ Connect air circulator has 4 modes: NORMAL, TURBO, NATURAL and SMART ECO. The air circulator will start automatically on NORMAL mode on speed 1 once it is switched on.
NORMAL MODE
NORMAL mode has 8 fan speed settings; setting 1 for lowest fan speed up to setting 8 for the highest fan speed. To choose a fan speed, touch the or buttons until the desired speed number is reached and the speed will adjust automatically. NORMAL mode is the default mode settings for this air circulator. In NORMAL mode, none of the buttons NATURAL, SMART ECO or TURBO illuminate on the control panel.
TURBO MODE
TURBO mode creates extra comfort on a hot day. On TURBO mode, the air circulator will run at the highest speed (8) automatically. Touch the button and the light will illuminate to indicate it is activated.
NATURAL MODE
Continuous air flow can create a chilling effect on the skin and a discomfort when exposed for too long. NATURAL mode generates a gentle breeze to maintain body temperature, by simulating a wind blowing rhythm, automatically alternating wind speeds according to pre-programed cycles. NATURAL mode has 3 variations. When the unit is on, to activate NATURAL mode, touch the button. The light will illuminate on the NATURAL button on the control panel and the default NATURAL cycle program 1 (n1) will display on the LED display. The fan speed will operate automatically according to the natural cycle 1 (n1) program.
To select NATURAL cycle program 2 (n2) and NATURAL cycle program 3 (n3), touch the button and ‘n2’ and ‘n3’ will display respectively. To stop NATURAL mode and return to NORMAL mode, touch the button until no lights illuminate on the NATURAL button on the control panel. Diagram showing NATURAL cycle programs: 
SMART ECO MODE
SMART ECO mode will automatically adjust the fan speed depending on the ambient room temperature. This program delivers the optimal cycle to save energy and operate quietly and efficiently, when possible. SMART ECO mode is ideal to use during sleep or when left on for a long period of time. When the unit is on, to activate SMART ECO mode, touch the button and the light will illuminate on the button. The air circulator will automatically adjust the fan speed based on the following programmed rules.
| Ambient T (°C) | Air circulator speed |
| < 26 | Speed 1 |
| 26 – 28 | Cycle between speed 2, speed 3 and speed 4. Operation for 5 secs on each speed. |
| 29 – 34 | Cycle between speed 5, speed 6 and speed 7. Operating for 5 secs on each speed. |
| > 35 | Speed 8 |
NOTE: Fan speed in this mode cannot be manually adjusted. To stop SMART ECO mode and return to NORMAL mode, touch the button until no light illuminates on the button.
AUTO-OFF TIMER
The Breville Air Circulator comes with a 12-hour auto-off timer that can be set in onehour intervals. To set the timer, press the button until the desired hour is displayed on the display screen. Once the timer icon stops flashing, the timer will be set. The timer will start on the selected mode, and the selected speed and will stop automatically once the time has elapsed.
To set the timer, press the button repeatedly until the desired number of hours is displayed on the LED display. Light flashes on the TIMER button on the control panel during setting and the light flashing will stop when timer is set. The auto-off timer will start on the selected mode and will stop automatically once the time has elapsed. The LED display will display the set circulator mode once the auto-off timer begins. To check the pre-set time left on the LED display, touch the button once.
NOTE: The display will revert back to the current room temperature. To display the remaining time, press the TIMER button once. To cancel the auto off time anytime, press the button until ‘0’ is displayed on the LED display and the green light above the TIMER button no longer illuminates within a few seconds.
NOTE
- To run the air circulator continuously, do not set the timer or set the timer to ‘0’.
- All modes can be adjusted at any time after the timer is set.
- The air circulator will stop and switch to standby mode once the set time has elapsed.
OSCILLATION AND 3D AIR CIRCULATION
The Breville Air Circulator can oscillate left to right and up and down. The oscillations can be set on any MODE. To activate the left to right oscillation, touch the button once. The air circulator will move left to right continuously.
- To activate the up and down oscillation, touch the button once. The air circulator will start to move up and down continuously.
- To achieve 3D air circulation, activate both horizontal and vertical oscillations. This will set a unique air circulation pattern.
- When the air circulator is turned off, it returns to its initial position automatically.
- To set the orientation of your air circulator, touch the respective oscillation button again. The oscillator will stay at your preferred position.
REMOTE CONTROL
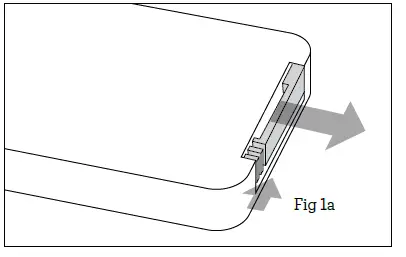
The Breville air circulator comes with a remote control. This remote control features the same buttons as the control panel (except the Wi-Fi function) on the air circulator and can be used the same way. The remote control includes 1 x CR2032 3V Lithium battery. This Lithium battery is protected by an isolating slip. Before first using the remote control, remove the battery isolating slip by pulling the slip outwards away from the remote control. To check and/or to replace the battery, open up the battery compartment at the back of the remote by forming a good grip of the remote, pushing the small arched groove to the right and simultaneously pushing out the battery compartment cover by pushing the rectangular groove outwards (Fig 1a). Insert the battery paying attention to the polarity (+ and -).
Reinsert the battery compartment into the remote control ensuring that the + symbol is facing upwards when inserted (Fig 1b). Make sure the battery compartment is correctly secured.
NOTE: To use the remote control, it must be pointed at the control panel and must be used within five meters of the unit.
WARNING
KEEP BATTERIES OUT OF REACH OF CHILDREN
Swallowing may lead to serious injury in as little as 2 hours or death, due to chemical burns and potential perforation of the oesophagus. If you suspect your child has swallowed or inserted a button battery immediately call the 24-hour Poisons Information Centre on 13 11 26 for fast, expert advice. Examine devices and make sure the battery compartment is correctly secured, e.g. that the screw or other mechanical fastener is tightened. Do not use if compartment is not secure. Dispose of used button batteries immediately and safely. Flat batteries can still be dangerous. Tell others about the risk associated with button batteries and how to keep their children safe.
Wi-Fi Connectivity
The AirDynamic 3D™ Connect air circulator can offer remote operation by using a home Wi-Fi connection and the Breville Home Connect™ app downloaded to a compatible mobile phone through the Google Play store or Apple App store. To go straight to the appropriate app store, Scan the QR code below. For instructions on how to use the app, scan the QR code below, refer to the Quick Start Guide that can be found in the box or go to: tinyurl.com/HomeConnectQuickStart
NOTE:
- The Breville Home Connect™ app is compatible with mobile phones running Android® 5.0 or later and iOS devices 9.0 or later.
- To control the air circulator using the app, the air circulator must be plugged in to an active power outlet.
SET UP YOUR AIR CIRCULATOR
- Ensure the mobile device is connected to a home Wi-Fi network.
- The air circulator must be on standby mode. Once on standby, the symbol will flash fast on the display panel. The air circulator is now ready to connect.
- Log into your Breville Home Connect™ app account and stay on the “Home” page. To add the air circulator to the list, touch ‘Add Device’ or the symbol found in the top right-hand corner of the screen. Follow the prompts in the app.

- If the connection is successful, the air circulator will appear in the main page of the app and the symbol light on the air circulator will illuminate.
- If connection is unsuccessful, touch and hold the button for 5 seconds until the symbol is flashing slowly. Follow the prompts in the app to connect in a different mode.
Care, Cleaning & Storage
CARE AND CLEANING
Always switch the Breville air circulator off. Switch off at the power outlet and unplug from the power outlet prior to cleaning the motor head, pedestal tube, anti-topple base, grilles and fan blades. To clean the outside of the air circulator, wipe the exterior with a soft, damp cloth. Never use an abrasive cleaner. To clean the fan blades and remove dust that may have accumulated, use a soft, damp cloth or a vacuum cleaner with the brush attachment. If access to the fan blades is required, loosen the front and rear grilles screw then unlock the front grille from the rear grille. Always reassemble correctly before using.
STORAGE
When not in use, store the air circulator upright in a cool, clean and dry location.



























