
QUICK START GUIDE
Please be sure to read the enclosed Shark® Owner’s Guide prior to using your robot.
SHARO ION ROBOT
EASE OF A ROBOT. PERFORMANCE OF A SHARK.®
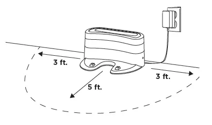
STEP 1: SET UP YOUR CHARGING DOCK
Place with its back against the wall in an open, central location. Connect charger cord to port on back, then plug in cord.

Note: Placing your dock in a central location with a wide view to your home will improve your robot’s ability to return to the dock.
STEP 2: INSTALL THE SIDE BRUSHES
Snap the 2 included side brushes onto the posts on the bottom of the robot.

STEP 3: CHARGE YOUR ROBOT
Turn the power switch on and place your robot on the dock. When all 3 indicator lights illuminate steadily in blue, charging is complete.
Press Clean to send the robot into action.

STEP 4: PREP YOUR HOME FOR CLEANING
With Auto-Sense™ Navigation technology, your robot maneuvers around obstructions and navigates its way out of tight spaces as it cleans. To help your robot complete its mission, prep your floor by removing all obstacles, such as loose power cords, clothes, toys, and low-hanging drapes.

STEP 5: DOWNLOAD THE SHARKCLEAN™ APP
Download the easy-to-use SharkClean app on your iPhone™ or Android™—schedule or start cleaning from anywhere. Just search SharkClean in the app store.

- Tips, Tricks, and FAQs
- Troubleshooting
- Voice control setup for the Google Assistant and Amazon Alexa
CAN’T CONNECT?
Restart your phone
Reboot your robot
- Lift the robot off the dock, and turn off the power switch on the side of the robot. After 10 seconds, turn the power back on and return the robot to the dock.
Reboot your router
- Unplug the router’s power cable for 10 seconds, then plug it back in. Allow several minutes for your router to completely reboot and for your robot to reconnect.
Don’t forget to register your robot at registeryourshark.com
For assistance, contact us at 800-798-7398 or visit us online at sharkclean.com
AV753_QSG_MP_Mv4
ION ROBOT® EASE OF A ROBOT. PERFORMANCE OF A SHARK.® CONGRATULATIONS ON YOUR NEW SHARK ION ROBOT
© 2020 SharkNinja Operating LLC EASE OF A ROBOT. PERFORMANCE OF A SHARK., SHARK, and SHARK ION ROBOT are registered trademarks of SharkNinja Operating LLC. AUTO-SENSE and SHARKCLEAN are trademarks of SharkNinja Operating LLC. AMAZON, ALEXA, and all related logos are trademarks of Amazon.com, Inc. or its affiliates.
APPLE, the Apple logo and iPhone are trademarks of Apple Inc., registered in the U.S. and other countries. APP STORE is a service mark of Apple Inc., registered in the
U.S. and other countries. GOOGLE, GOOGLE ASSISTANT, GOOGLE PLAY, the Google Play logo, and Android are trademarks of GOOGLE LLC.
Download
Shark AV753 / AV752 Series ION Robot Vacuum:
Quick Start Guide – [Download PDF]
Owner’s Guide – [Download PDF]



















