
KMD55 Karaoke Disco Microphone
Ref. nr.: 130.142, 130.144, 130.146 
INSTRUCTION MANUAL
Congratulations on the purchase of this Fenton product. Please read this manual thoroughly prior to using the unit in order to benefit fully from all features.
Read the manual prior to using the unit. Follow the instructions in order not to invalidate the warranty. Take all precautions to avoid fire and/or electrical shock. Repairs must only be carried out by a qualified technician in order to avoid electrical shock. Keep the manual for future reference.
SAFETY INSTRUCTIONS
- Tapping or dropping the microphone can permanently damage your microphone.
- Resist the urge to swing the microphone around by the cord!
- Warning – To avoid microphone feedback do not hold the microphone too close to the speaker.
- If the brightness is glaring, turn on room lights or turn off an LED light to show
The unit has been certified CE. It is prohibited to make any changes to the unit. They would invalidate the CE certificate and their guarantee!
NOTE: To make sure that the unit will function normally, it must be used in rooms with a temperature between 5°C/41°F and 35°C/95°F.
Electric products must not be put into household waste. Please bring them to a recycling center. Ask your local authorities or your dealer about the way to proceed. The specifications are typical. The actual values can slightly change from one unit to the other. Specifications can be changed without prior notice.
Do not attempt to make any repairs yourself. This would invalid your warranty. Do not make any changes to the unit. This would also invalidate your warranty. The warranty is not applicable in case of accidents or damages caused by inappropriate use or disrespect of the warnings contained in this manual. Fenton cannot be held responsible for personal injuries caused by a disrespect of the safety recommendations and warnings. This is also applicable to all damages in whatever form.
UNPACKING INSTRUCTION
CAUTION! Immediately upon receiving the product, carefully unpack the carton, check the contents to ensure that all parts are present, and have been received in good condition. Notify the shipper immediately and retain the packing material for inspection if any parts appear damaged from shipping or the package itself shows signs of mishandling. Save the package and all packing materials. In the event that the product must be returned to the factory, it is important that the product be returned to the original factory box and packed.
If the device has been exposed to drastic temperature fluctuation (e.g. after transportation), do not switch it on immediately. The arising condensation water might damage your device.
CONNECTING AND USING THE MICROPHONE
Connect the microphone plug to a 6.35mm (1/4”) jack microphone input.
The microphone on/off
To turn the microphone off, you can press and slide the MIC On-Off switch to OFF.
Microphone light
LED disco lights on the front of the microphone grip synchronize to music/ voice or use it in random selection modes.
- RANDOM FLASH ON, press the LIGHT SHOW button.
- RAVE or LIGHT ON, press the LIGHT SHOW button again
- MUSIC FLASH ON, press the LIGHT SHOW button again.
- To turn off the LED light show, press the LIGHT SHOW button again.
Note: If the brightness is glaring, turn on room lights or turn off the LED light show.
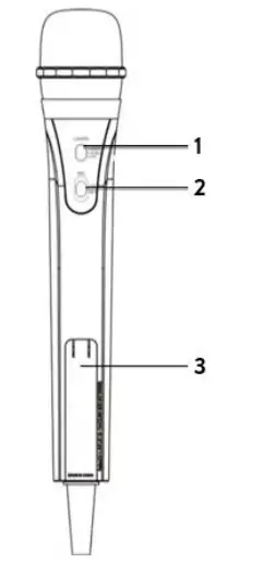
1. Light show
2. Microphone ON / OFF
3. Battery compartment
TECHNICAL SPECIFICATION
Battery : 3x AAA LR03
Type : Dynamic microphone
Dimensions : 55 x 55 x 310mm
Weight : 0.2 kg
The specifications are typical. The actual values can slightly change from one unit to the other. Specifications can be changed without prior notice.|
The products referred to in this manual conform to the European Community Directives to which they are subject:
Electromagnetic Compatibility (EMC) 2014/30/EU
Restriction of Hazardous Substances (RoHS) 2011/65/EU
Specifications and design are subject to change without prior notice.
www.tronios.com
Copyright © 2020 by Tronios The Netherlands


















