ROVUS Storm Vac V2 / Storm Vac V2 White

PICTURES




Please read this manual thoroughly before using and save it for future reference.
WARNINGS
- This appliance can be used by children aged from 8 years and above and persons with reduced physical, sensory or mental capabilities or lack of experience and knowledge if they have been given supervision or instruction concerning use of the appliance in a safe way and understand the hazards involved.
- Children shall not play with the appliance.
- Cleaning and user maintenance shall not be made by children without supervision.
- This device is intended for household, indoor and dry use only.
- Sparks inside the motor can ignite flammable vapors or dust. Do not vacuum or use this product near flammable or combustible liquids (e.g., gasoline or other fuels, lighter fluid, cleaners, oilbased paints), gases (e.g., natural gas, hydrogen), explosive dust (e.g., coal dust, magnesium dust, grain dust, gunpowder) or any smoke and fire sources.
- Never vacuum toxic materials as the vapors or dust may cause a health hazard.
- Do not use the device to vacuum clean plaster, cement, etc. that can harden on coming into contact with water and can thus hamper the normal functioning of the machine.
- This product is not a toy. Close attention is necessary when used by or near children or pets. Never use this product on persons or pets.
- Plug in power supply that corresponds to the rated one on product only.
- If the supply cord is damaged, it must be replaced immediately by authorized and qualified person only.
- If the device is not working as it should, has received a sharp blow, has been dropped, damaged, left outdoors or dropped into water, do not use it.
- This device should never be switched on or stay plugged in power supply when not in use, while replacing accessories or during cleaning.
- Do not attempt any modification or repair by yourself and ensure that all repair is conducted only by appropriately qualified technician.
- Keep the product away from heated surfaces.
- Regularly remove blockages caused by dust, fluff, hair etc. because they greatly reduce device’s suction power and/or general performance.
- Although the device has been checked its usage and consequences are strictly user responsibility.
PARTS
(see Picture 1)
- Brush head
- Dust container
- Filters (3a = dust filter; 3b = motor filter)
- Dust container release button
- Power switch
- Handle tube release button
- Handle tube
- Plug hook
- Power cable storage hooks
- Power cable
- Handheld unit
- Crevice tool
- Crevice tool holder
BEFORE USE
Always disconnect the appliance from the power supply before assembling or disassembling accessories.
NOTE: This product can be used either as stick or handheld vacuum cleaner. For the handheld option there is no need for assembly, for the stick option please follow (see Picture 2):
Step 1: Insert the bottom end of the handle tube (7) into the handheld unit (11) and push it down until you hear a “click” sound.
To remove the handle tube (7) from the handheld unit (11) press and hold at the top of the Handle tube release button (6) while pulling handle tube upwards.
Step 2: Insert the brush head (1) into the handheld unit’s nozzle and push them together. To remove it just pull the brush head out of the handheld unit’s nozzle.
NOTE: In case you want or need to use the crevice tool attachment (12), just replace the brush head (1) with the crevice tool by following instructions above.
USAGE
Before use, make sure that filter and accessories are properly installed.
A) Stick Mode
- Plug the device into the power supply.
- Assemble the device according to the instructions “BEFORE USE”.
- Slide the power switch (in “I” position) to turn on the appliance (see Picture 3).
- To switch off the device, slide the power switch in opposite direction: “0”.
- Use the device as an upright vacuum cleaner to vacuum floors and carpets.
B) Handheld Mode
- Ensure the appliance is switched off and unplug from the power supply.
- Disassemble the handle tube and brush head from the handheld unit according to the instructions “BEFORE USE”.
- Plug the handheld unit in the power supply and then switch it on by sliding the power switch in “I” position.
- To switch off the device, slide the power switch in opposite direction: “0”.
- Use the device as a handheld vacuum cleaner to clean couches, stairs and hard-to-reach places.
CLEANING AND MAINTENANCE
To achieve the best performance, empty the dust container and clean the filter after each use.
When suction becomes weak, empty the dust container. Failure to do this will impair the efficiency of the device. Always switch off and unplug the appliance from the power supply before carrying out any maintenance or cleaning.
Clean the outside of the device with a damp cloth. Dry thoroughly before use.
Never immerse the device in the water.
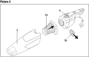
Follow instructions below how to clean dust container and filters (see Picture 4):
Step 1: To remove the dust container (2), first pull away the brush head (1).
Step 2: Press the dust container release button (4) and slide away the dust container (2).
Step 3: Pull out the dust filter (3a) from dust container.
Step 4: Empty the dust from the dust container.
Step 5: Clean the dust filter and dust container under running water. Dry thoroughly.
NOTE: Do not use abrasive or chemical cleaning agents.
Step 6: Reposition the filter back into the dust container.
NOTE: Never operate the device without dust cup filter in place.
Step 7: Slide the motor filter (3b) out from the handheld unit and clean it (by shaking) or rinse it with warm water. Dry thoroughly before sliding it back.
Step 8: Attach the dust container (2) to the handheld unit (11) (»click« sound).
NOTES: Do not use washing machine to clean filters. Do not use hair dryer to dry the filters.
TROUBLESHOOTING
Please check the following details before you have your appliance repaired by an authorized servicing agent.
| ISSUE | POSSIBLE CAUSE | POSSIBLE SOLUTION |
| Device does not work. |
|
|
| Suction power becomes weak. |
|
|
| Device is overheating. |
|
|
| Dust is coming out of the device. |
|
|
TECHNICAL INFORMATION
| Product name | ROVUS STORM VAC V2 / ROVUS STORM VAC V2 WHITE |
| Model no. | VSC02B16T-50 |
| ID | 110063732 / 110064040 |
| Voltage | 220 – 240 V~ |
| Frequency | 50-60 Hz |
| Power | 500 W |
| Country of origin | P.R.C. |
| Rovus trademark owner, Importer to EU, Distributor | Top Shop International SA, Via al Mulino 22, CH-6814 Cadempino, Switzerland |
| Production date and Batch no. can be found on the product. | |
Product must be kept dry and not exposed to direct sunlight during transport and storage.
![]()



















