Dainolite PST-264LP Preston 4 Light Incandescent

PST-264LP
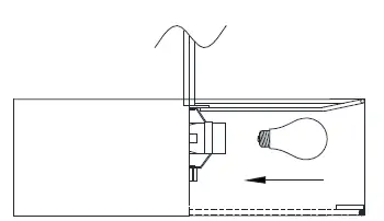
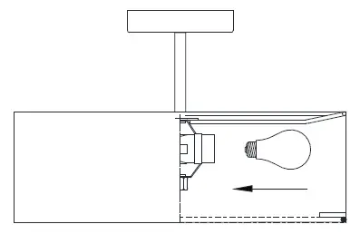
PARTS

POWER OFF

INSTALLATION INSTRUCTIONS



- 4x 60W Max E26
- Not included
- LED compatible


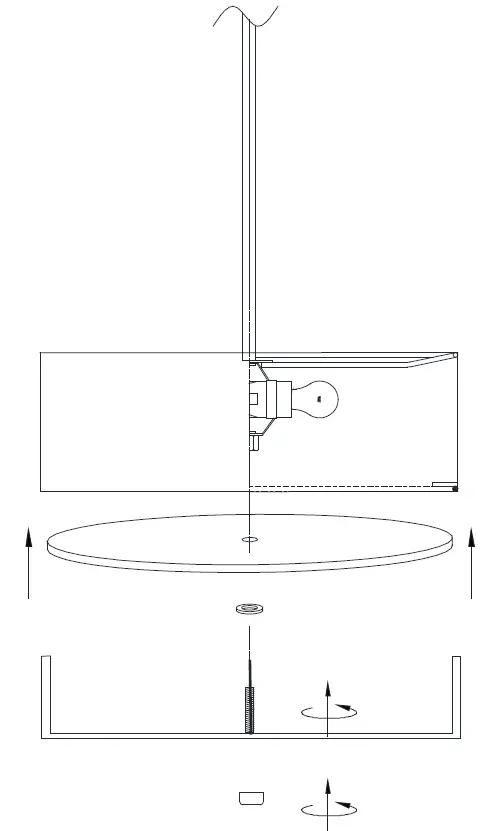
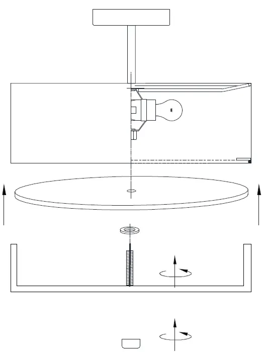
DIMENSION

PST-264LP Semi-Flush
PARTS

POWER OFF

INSTALLATION INSTRUCTION



- 4x 60W Max E26
- Not included
- LED compatible


DIMENSION

Warning
This product must be installed in accordance with the applicable installation code by a person familiar with the construction and operation of the product and the hazards involved.
DO NOT RETURN THE PRODUCT TO THE RETAILER.
For Warranty
Contact the factory directly in the wiring: Email [email protected]. Include a copy of your purchase invoice and describe the defect. A factory person will contact you directly to advise what further action will be taken.
For missing hardware or broken glass: Contact the factory directly in the wiring: Email [email protected]. The missing or broken parts will be shipped to you directly on the same day as receipt of your email (weekend excluded).
CONTACTS
- 1401 Courtney Park Drive East, Mississauga, Ontario, Canada L5T 2E4
- Tel: (905) 564-1262
- Fax: (905) 564-1299
- Email: [email protected]
- Web: dainolite.ca



















