FERM JSM1014 Pendulum Action Jigsaw
OVERVIEW





Thank you for buying this Ferm product.
By doing so you now have an excellent product, delivered by one of Europe‘s leading suppliers. All products delivered to you by Ferm are manufactured according to the highest standards of performance and safety. As part of our philosophy, we also provide excellent customer service, backed by our comprehensive warranty. We hope you will enjoy using this product for many years to come.
SAFETY WARNINGS
WARNING
Read the enclosed safety warnings, the additional safety warnings and the instructions.
Failure to follow the safety warnings and the instructions may result in electric shock, fire and/or serious injury.
Keep the safety warnings and the instructions for future reference.
The following symbols are used in the user manual or on the product:

ADDITIONAL SAFETY WARNINGS FOR JIGSAWS
- Do not work materials containing asbestos. Asbestos is considered carcinogenic.
- Wear safety goggles, hearing protection and if necessary other protective means, such as safety gloves, safety shoes, etc.
- Before use, remove all nails and other metal objects from the workpiece.
- Make sure that the workpiece is properly supported or fixed.
- Do not use the machine without the guard.
- Inspect the saw blade before each use. Do not use saw blades which are bent, cracked, or otherwise damaged.
- Make sure that the saw blade is properly mounted.
- Only use saw blades that are suitable for use with the machine.
- Only use saw blades with the correct dimensions.
- Do not use other accessories than saw blades.
- Do not use saw blades made of HSS steel.
- Do not use the machine on workpieces requiring a maximum sawing depth that exceeds the maximum sawing depth of the saw blade.
- Hold the machine by the insulated gripping surfaces where the saw blade may contact hidden wiring or the mains cable. If the saw blade contacts a ‘live‘ wire, the exposed metal parts of the machine can also become ‘live‘. Risk of electric shock.
- Let the machine run at no load in a safe area after mounting the saw blade. If the machine vibrates strongly, immediately switch off the machine, remove the main plug from the mains, and try to solve the problem.
- Beware that the saw blade continues to rotate for a short period after switching off the machine. Do not attempt to bring the saw blade to a standstill yourself.
Kickback
Kickback is the upward and backward movement of the saw blade when the saw blade unexpectedly touches an object.
Securely hold the machine during use.
Keep your attention focused on the operation.
Kickback is usually caused by:
- unintentionally touching complex objects or materials with the rotating saw blade;
- a blunt saw blade;
- a saw blade that is not correctly mounted;
- sawing into a previous cut;
- a lack of attention to the operation;
- an unstable stance.
ELECTRICAL SAFETY
Always check that the voltage of the power supply corresponds to the voltage on the rating plate.
- Do not use the machine if the mains cable or the mains plug is damaged.
- Only use extension cables that are suitable for the power rating of the machine with a minimum thickness of 1.5 mm2. If you use an extension cable reel, always fully unroll the cable.
Mains plug replacement (UK only)
If the moulded 3-pin plug attached to the unit is damaged and needs replacing, it is important that it is correctly destroyed and replaced by an approved BS 1363/5A fused plug and that the following wiring instructions are followed.
The wires in the mains cable are coloured in accordance with the following code:
- blue neutral
- brown live
As the colours of the wires in the mains cable of the unit may not correspond to the coloured markings identifying the terminals in the plug, proceed as follows:
- The wire which is coloured blue must be connected to the terminal which is marked with the letter N or coloured black.
- The wire which is coloured brown must be connected to the terminal which is marked with the letter L or coloured red.
TECHNICAL DATA
- Mains voltage 230 V~
- Mains frequency 50 Hz
- Power input 710 W
- No-load speed 800 – 3,000/ min-1
- Max. sawing depth (wood) 110 mm
- Max. sawing stroke 20 mm
- Mitre angle 45°
- Number of pendulum positions 4
- Weight 2.55 kg
- NOISE AND VIBRATION
- Sound pressure (Lpa) 91 dB(A) K=3dB
- Acoustic power (Lwa) 102 dB(A) K=3dB
- Vibration (wood) 7.1 m/s2 K=1.5 m/s2
- Vibration (metal) 10.2 m/s2 K=1.5 m/s2
Vibration level
The vibration emission level stated in this instruction manual has been measured in accordance with a standardised test given in EN 60745; it may be used to compare one tool with another and as a preliminary assessment of exposure to vibration when using the tool for the applications mentioned
- using the tool for different applications, or with different or poorly maintained accessories, may significantly increase the exposure level
- the times when the tool is switched off or when it is running but not actually doing the job, may significantly reduce the exposure level
Protect yourself against the effects of vibration by maintaining the tool and its accessories, keeping your hands warm, and organizing your work patterns
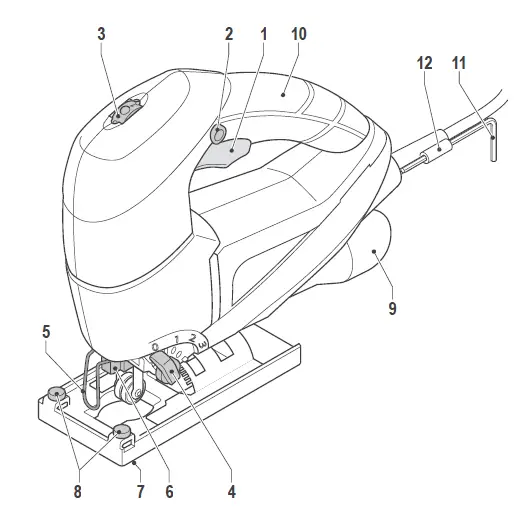
DESCRIPTION
Your pendulum action jigsaw has been designed for sawing wood, metal, plastics, ceramics, rubber, etc. to any required size and in any required shape.
- On/off switch
- Lock-on button
- Speed adjustment wheel
- Pendulum action switch
- Guard
- Saw blade holder
- Saw shoe
- Locking bolt for the parallel guide
- Dust extraction connection
- Grip
- Allen key
- Allen key holder
ASSEMBLY
Before assembly, always switch off the machine and remove the main plug from the mains.
Mounting and removing the saw blade (fig. B) Refer to the table below to select the required saw blade.
- Saw blade Material
- Coarse Wood
- Medium Wood
- Fine Steel, aluminium, plastic
- Very fine Wood (curves)
Do not attempt to remove the guard from the machine.
Mounting
- Slacken the Allen screw (13) using the Allen key (11).
- Insert the saw blade (14) in the saw blade holder (6) as far as possible. The teeth of
the saw blade (14) must point upward and forward. The smooth side of the saw blade must engage in the slot of the guide roller (15). - Tighten the Allen screw (13) using the Allen key (11).
Removing
- Slacken the Allen screw (13) using the Allen key (11).
- Remove the saw blade (14) from the saw blade holder (6).
- Tighten the Allen screw (13) using the Allen key (11).
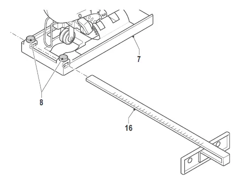
Mounting and removing the parallel guide (fig. C)
The parallel guide is used for sawing along edges at a maximum distance of 16 cm.
Mounting
- Slacken the locking bolts (8).
- Insert the parallel guide (16) into the saw shoe (7).
- Set the parallel guide (16) to the required position.
- Tighten the locking bolts (8).
Removing
- Slacken the locking bolts (8).
- Remove the parallel guide (16) from the saw shoe (7).
- Tighten the locking bolts (8).
USE
Switching on and off (fig. A)
- To switch on the machine, press the on/off switch (1).
- To switch the machine to continuous mode, keep the on/off switch (1) pressed and simultaneously press the lock-on button (2).
- To switch off the machine, release the on/off switch (1).
Setting the sawing speed (fig. A)
The speed adjustment wheel is used for setting the sawing speed. The speed adjustment wheel can be set to 6 positions. The ideal sawing speed depends on the profile and the teeth of the saw blade and on the material to be worked.
Do not set the sawing speed during use.
- Turn the speed adjustment wheel (3) to the required position.
- For hard materials, use a saw blade with fine teeth and select a lower speed.
- For soft materials, use a saw blade with coarse teeth and select a higher speed.
Setting the mitre angle (fig. D)
The mitre angle is variable between 0° and 45°.
- Do not set the mitre angle during use.
- Slacken the Allen screws (17) using the Allen key (11).
- Tilt the saw shoe (7) to the required position.
- Tighten the Allen screws (17) using the Allen key (11).
Using the pendulum action switch (fig. A)
The pendulum action switch is used to set the way in which the teeth of the saw blade grip the material. The pendulum action switch can be set to 4 positions.
Do not set the pendulum position during use.
Turn the pendulum action switch (4) to required position according to the material to be worked. Refer to the table below to select the required position.
- Material Pendulum position
- Wood 1-3
- Plastics 1
- Aluminium 0-1
- Steel 0
- Ceramics 0
- Rubber 0
Dust extraction (fig. E)
- Insert the dust extraction adapter (18) into the dust extraction connection (9).
- Connect the hose of a vacuum cleaner to the dust extraction adapter (18).
Hints for optimum use
- Clamp the workpiece. Use a clamping device for small workpieces.
- Draw a line to define the direction in which to guide the saw blade.
- Firmly hold the machine by the grip.
- Set the sawing speed.
- Set the mitre angle.
- Set the pendulum position.
- Switch on the machine.
- Wait until the machine has reached full speed.
- Place the saw shoe on the workpiece.
- Slowly move the machine along the pre-drawn line, firmly pressing the saw shoe against the workpiece.
- Do not apply too much pressure on the machine. Let the machine do the work.
- Switch off the machine and wait for the machine to come to a complete standstill before putting the machine down.
CLEANING AND MAINTENANCE
Before cleaning and maintenance, always switch off the machine and remove the mains plug from the mains.
- Regularly clean the housing with a soft cloth.
- Keep the ventilation slots free from dust and dirt. If necessary, use a soft, moist cloth to remove dust and dirt from the ventilation slots.
- Regularly clean the saw blade to avoid inaccuracies during use.
- Regularly lubricate the guide roller.
Replacing the saw blade (fig. B)
Worn or damaged saw blades must be replaced immediately.
Only use sharp and undamaged saw blades.
- To remove the old saw blade (14), proceed as described in the section „Mounting and removing the saw blade“.
- To mount the new saw blade (14), proceed as described in the section „Mounting and removing the saw blade“.
WARRANTY
Consult the enclosed warranty terms.
ENVIRONMENT
Disposal
The product, the accessories, and the packaging must be sorted for environmentally friendly recycling.
Only for EC countries
Do not dispose of power tools into domestic waste. According to the European Guideline 2012/19/EU for Waste Electrical and Electronic Equipment and its implementation into national right, power tools that are no longer usable must be collected separately and disposed of in an environmentally friendly way.




















