WALKER EDISON Boardwalk Dark Brown Outdoor Wood Asirondack Chair User Manual

General Guidelines
- Please read the following instructions carefully and use the product accordingly.
- Please keep this manual and hand it over when you transfer the product.
- This summary may not include every detail of all variations and considered steps. Please contact us when further information and help are needed.
Notes
- Personal injury and/or damage to the product may occur if products are used outside of their intended purposes and/or if products have been changed/modified from their original design. The product must be assembled and used in accordance with the provisions of the manual. The seller does not assume any responsibility or liability with respect to any damage caused by incorrect assembly or improper use.
- Carefully check accessories when opening the package. If anything is missing or damaged, please contact us immediately.
- Do not use sharp tools or equipment such as a knife or scissors when removing the protective material, as it may damage the product.
- Carefully remove all of the components from the packaging and set aside for assembly.
- Assemble on a soft surface to prevent scratching during assembly.
- Do not tighten all the screws before completing the installation
- Tighten all components securely before use. Failure to do so may result in personal injury.
Warnings
- Keep children away when assembling the product. Small parts are included in the package; they may be fatal if swallowed or inhaled.
- To avoid the potential dangers of suffocation, please keep all parts and packaging (film, plastic bags, foam, etc.) away from babies and children.
- Keep the parasol away from fire; do not use it during extreme cold and heat, and severe weather
Daily Maintenance
- Clean the chair with a soft cloth moistened with a neutral detergent. Store it after completely drying.



*Note: DO NOT TIGHTEN ANY BOLTS BEFORE THE UNIT PUT TOGETHER.
STEP 1 Attaching the rear seat slat
Attaching the rear seat slat (H) to the seat (B) with screws (AA)

STEP 2 Attaching the front legs
Attaching the front legs (F) to the seat (B) with bolts (DD) Attaching the back supports (E) to the seat (B) with bolts (EE)

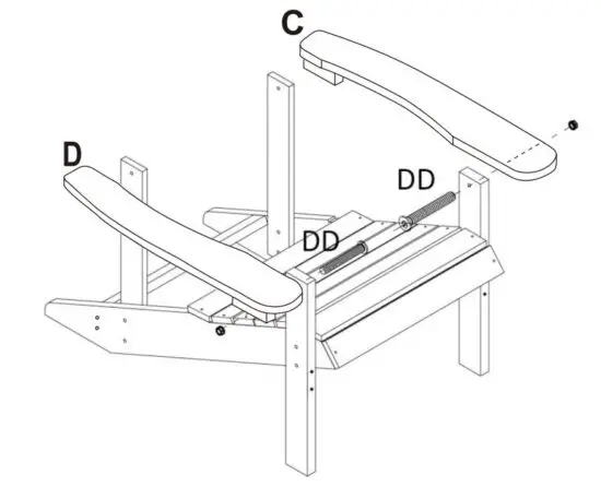
STEP 3 Attaching the armrest
Attaching the armrest (C) and (D)to the legs (F) with bolts (DD)

STEP 4 Attaching the back
Attaching the back (A) to the seat (B) with bolts (BB)
Attaching the armrest (C) and (D) to the back (A) with bolts (CC)

STEP 5 Attaching the cross beam
Attaching the cross beam (G) to the front legs (F) with screws (AA)

Read More About This Manual & Download PDF:














