Poynting OMNI-292-V2 User Guide
Packing Check List
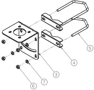
Item | Description | Quantity |
1. | A-OMNI-0292 Antenna only | 1 |
| 2. | M4 stainless steel machine screw and washer | 4 |
3. | Stainless steel L-Bracket | 1 |
| 4. | Stainless steel Econo bracket | 2 |
5. | M6x90mm stainless steel U-Bolts | 2 |
| 6. | M6 Nyloc and standard stainless steel nuts | 4 |
7. | M6 stainless steel flat washers | 4 |
| 8. | Easy fit wall plug and screw | 4 |
The appearance of each component
- Antenna Unit

- Stainless steel L bracket assembly

- M4 stainless steel machine screw and M4 flat washers

- Easy fit wall plug and screw

Tools Required
Tools that may be required:
- 6mm Masonry drill bit

- Impact drilling machine

- Screw driver-Cross slot/Philips

- Hammer

- Safety goggles

- Spanner/Wrench

Pole Mounting Configuration
OMNI-292 is a pole and wall mountable, medium gain, omnidirectional antenna. It can be mounted outdoors on a pole of up to 50mm in diameter, or against a wall. Follow the instructions below for installation.
Pole Mounting
- Lay the antenna out at the installation site and carefully assemble the antenna to the L-bracket using the provided bolts.
- Next place the U-bolts around the pole and push both the econo brackets and the assembled L-bracket through the U-bolts.
Tighten the nuts on the U-bolt until the bracket is secured to the pole. - Mount the antenna so that there is at least 1 meter of clearance in all directions around it and unobstructed line of sight to the cell tower’s strongest signal.

Wall Mounting Configuration
Wall Mounting
- This antenna should be mounted on a wall using the wall plugs as shown in the figure below
- Strain relieve the cable to the wall with saddles or cable tie to the closest structure.
- Connect the end of cable to radio device

Antenna Mounting Precautions
- Place the antenna at the highest point possible and ensure that there are not any obstructions surrounding the antenna.
- In order to avoid communication interference, ensure that the antenna is placed at least 0.5m away from other antennas and metal objects.
- Avoid installing the antenna near a chimney, as the smoke and soot emitted by the chimney can obstruct the signal level achieved by the
antenna. - Install the antenna away from heat sources and flammable gases.
Cable Routing
- Avoid wrapping the cables around the pole. Route the antenna cables straight down the inside of the pole to avoid using extra equipment such as cable ties.
- Use the minimum cable length required.
Do not run more cable than needed to ensure minimum cable loss is achieved. - Never pull on the cable connectors; pull only on the cable ensuring the cable is not under tension.
- The minimum allowed cable bend radius is 30mm.
- Cover connector with insulation tape before threading them through a hole.
Safety
- If you are installing an antenna for the first time or unsure of how to install your antenna, obtain the help of a professional installer.
- Carefully survey the installation site before installation to locate secure hand holds, dangerous conditions (such as power lines and weak roofs) and the safest and most convenient placement for ladders if necessary.
When installing your antenna, remember:
- Do not install near power lines as they can electrocute you.
- Do not install on a wet or windy day, or if there is lightning or thunder in the area.
- Wear shoes with rubber soles and heels and protective clothing (long sleeve shirt or jacket) and rubber gloves.
- Avoid operating while under the influence of drugs, alcohol or medication.
- Make sure that any loose fitting jewellery or clothing is secured and tie back long hair as they can get caught in moving parts during installation.
- If the antenna starts to fall, get away from it and let it fall to avoid harm to yourself.
When drilling, remember to:
- Use safety goggles when drilling the holes.
- Avoid using bits that are dull, bent or damaged.
- Be aware of where your fingers are in relation to the drill bit when using the drilling machine.
- To stop the drilling machine, let the drill chuck come to a complete stop on its own. Do not grasp the chuck in an attempt to stop the drill bit.
- Hold the drill correctly, as a sudden slip could cause severe damage to your hand.
CAUTION:
Antennas must be installed to provide a separation distance of at least 20cm
from all persons so as to comply with SAR (Specific Absorption Rate) RF Exposure requirements.
European Waste Electronic Equipment Directive 2002/96/EC
Please ensure that old waste electricals and electronics are recycled.
Directive 2011/65/EU (RoHS 2)
This product is fully compliant with the RoHS 2 directive.
Customer Support
South Africa
Unit 4, N1 Industrial Park Landmarks Ave Samrand, 0157, South Africa
Tel: +27 12 657 0050
[email protected]
Europe
Kronstadler Straße 4, 81677 München Germany
Tel: +49 89 2080 265 38
Mob.: +49 176 529 733 50
[email protected]






























