Junior Stand up Paddle Board 6FT
Instruction Manual

WARNING! READ ALL INSTRUCTIONS CAREFULLY BEFORE USING THIS PRODUCT. INCORRECT OPERATION MAY CAUSE INJURIES TO HEALTH.
General Safety Precaution
• Safety symbol




![]() ![]() ![]() ![]() ![]() ![]() ![]() ![]() |
Warning: A Personal Flotation Device (PFD) is required for each user! |
Warning: Do not dive or jump! |
Warning: Do not use around sharp objects! |
- Always check your board and equipment before entering the water.
- Don’t use in white water. Don’t use in breaking waves.
- Don’t use in offshore current. Don’t use in offshore wind.
- The design working pressure is 15psi (1.0bar). the Maximum inflated air pressure is 12psi.
- Don’t inflate the board with electric power high pressure pump. Don’t over inflate the board.
- Not suitable for children under 10years.
- Always wear your board leash while using.
- If the fins become bend, heat the fins first by placing in a boiling water or using a hairdryer for a few minutes, then bending them back to its position.
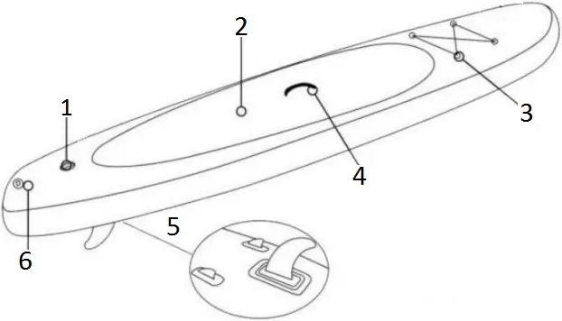
Product Structure Terminology

- High pressure recessed valve
- large EVA pad board
- Front D-ring
- Heavy duty carry handle
- Tri fin set: One centre fin and two small fins on the side.
- Stainless steel D-ring for attaching safety leash to paddler(Optional)
Parts list
- Stand up paddle board x 1pc
- Aluminium adjustable oar x 1pc
- Hand-operated pump w/ pressure gauge x 1pc
- Valve wrench x 1pc
- Repair patch x 2pcs
- Fin x 1pc
- Carry bag x 1pc
Set up Instructions of SUP
1. Valve operation
The inflation valve is located nearby the nose of the board. Screw out the lid with valve wrench, then the center valve pin is appeared. It can close/open the valve by pressing it once and again.



2. To inflate the board, please refer to images to follow the below steps



A). Unscrew the valve cap and press down on the pin to open the valve. Let the air flow naturally into the product, then press down on the pin again to close the valve (in the UP position).
B). Make sure the pump hose is connected to the ‘inflate’ outlet.
C). Attach the pump hose clockwise onto the valve.
D). Start pumping air into the board by sliding the piston up and down till the board is fully inflated.
E). After inflation, screw the valve cap and tighten it with valve wrench.
3. To deflate the board, screw out the valve lid, press the valve pin to let it is in the open position.please be careful of any sand or debris around the valve area when deflating as the small particles could become airborne together with the release of the air pressure.
Fin Installation Instructions
Slide the fin into the groove at the back of the board, then insert the fixed pin to secure it. Please refer to below images.

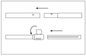
Paddle Installation Instructions
The board paddle comes in three pieces. To build the paddle, hold the
button in while sliding the pieces together until they click into place. The top section of the paddle is adjustable. Close the button after adjusted the length to your desired position. Please refer to below images.


Note:
1). After closing the button, if the adjustable section is a little loose, tighten the screw properly with a screwdriver.
2). The length of the paddle can be adjusted from 170cm to 210cm.
Repair Instructions
If find a chamber is damaged, use the provided repair patch .
- To find out the damaged place on the board, wipe the hull with soap and water,the soap will bubble over the damaged hole.
- Deflate the board completely, clean and dry the damaged area.
- Cut a piece of suitable size from the repair patch.
- Apply the vinyl repair glue sparingly to patch, spreading out it evenly all over, then cover to the damaged area and smooth out any air bubbles.
- Place a weight on the repaired area, and allow at least 24hour to reach full bond strength before inflating it.
Care & Storage Instructions
- After deflation completely, use a damp cloth to clean all the surface.
- Don’t use solvents or other chemicals that may damage the product.
- Put all the parts in the carry bag after dried completely.
- Store in a cool & dry place and out of children’s reach.
- Check the product for damage at the beginning of each season and at regular intervals when in use.
KEY CODE: 43-171-385
MADE IN CHINA
© KMART AUSTRALIA LIMITED
FOR AU/NZ: IMPORTED FOR KMART STORES IN AUSTRALIA AND NEW ZEALAND
KMART AUSTRALIA – 690 SPRINGVALE ROAD, MULGRAVE, VIC 3170 AUSTRALIA.
KMART NEW ZEALAND – REGIONAL OFFICE C/O KMART PAPATOETOE STORE,
HUNTERS PLAZA, GREAT SOUTH ROAD, PAPATOETOE, AUCKLAND, NEW ZEALAND.
KMART CUSTOMER SERVICE
AU: 1800 124 125 NZ: 0800 945 995








Warning: A Personal Flotation Device (PFD) is required for each user!
Warning: Do not dive or jump!
Warning: Do not use around sharp objects!


















