Paul Neuhaus 826927 LCD Ceiling Light Supplier

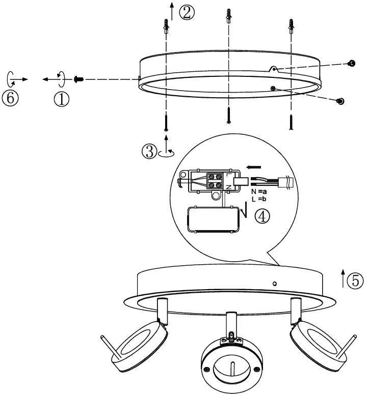
Mounting
Please let us know the batch number (xxxxx-xx-xx-xxxxx-xxx) for any technical questions. This can be found on the rating plate. The light source of this luminaire should only be replaced by the manufacturer, a service technician commissioned by the manufacturer or a person with comparable qualifications.



















