

UV Lamp Systems for Domestic Swimming Pools
Instruction Manual
CERT220222MAN
UV DISINFECTION SYSTEM
INSTALLATION AND OPERATING MANUAL
UV Lamp Systems for Domestic Swimming Pools
WARNING:
- Ensure that the unit is switched off at the mains before you attempt to conduct any type of maintenance on the UVC.
- Ensure the unit is installed in the recommended orientation.
- Fit the quartz sleeves and O-rings and switch on pump to check that unit is water tight before fitting the bulb, bulb socket and end cap.
- Ensure that the end cap is tight before running the unit.
- After replacing bulbs or before tightening the end cap, make sure that the O-Rings are in the correct position, and the bulb sockets are dry.
- If the electrical connections get wet, dry thoroughly before switching power on.
- This unit should only be installed by a qualified electrician.
IMPORTANT SAFETY INSTRUCTIONS
– READ AND FOLLOW ALL INSTRUCTIONS
– WARNING – To reduce the risk of injury, do not permit children to use this product unless they are closely supervised at all times. This appliance is not intended for use by persons (including children) with reduced physical, sensory or mental capabilities, or lack of experience and knowledge, unless they have been given supervision or instruction concerning use of the appliance by a person responsible for their safety.
– WARNING – Risk of Electric Shock. Connect only to a branch circuit protected by a ground-fault circuit interrupter (GFCI). Contact a qualified electrician if you cannot verify that the circuit is protected by a GFCI.
– WARNING – If the supply cord is damaged, it must be replaced by the manufacturer, its service agent or similarly qualified persons in order to avoid a hazard.
– WARNING – To reduce the risk of electric shock, do not use extension cord to connect unit to electric supply; provide a properly located outlet.
– WARNING – Do not operate the UV-C emitter when it is removed from the appliance enclosure.
– Unintended use of the appliance or damage to the housing may result in the escape of dangerous UV-C radiation. UV-C radiation may, even in little doses, cause harm to the eyes and skin. Never look directly at an illuminated UV bulb.
– Appliances that are obviously damaged must not be operated.
– Do not run this unit dry. Please ensure that the unit is full of water before switching it on.
– Always isolate the unit from mains electricity and turn off any water supply before carrying out any maintenance.
– Always disconnect all pool appliances from the mains supply before putting your hands into the water.
– Use in the area only if the installation complies with the relevant wiring regulations.![]()
– Power must be supplied through a Residual Current Device (RCD) with a residual operating current not exceeding 30mA.![]()
– This unit must be earthed when earth wire is fitted.
– Never use a fuse larger than 3 amps on the power lead.
– The unit must not be submerged in water.
– If the quartz sleeve is cracked, replace it immediately.![]()
– The unit must be fully frost protected or taken inside during winter months.
SAVE THESE INSTRUCTIONS
INTRODUCING THE CERTIKIN UV DISINFECTION SYSTEM
Congratulations on purchasing a Certain UV disinfection system. Our range of UV sterilisers have been manufactured using the latest technology and design techniques. The UV will work alongside many different filtration systems designed in combination with a residual sanitiser to disinfect pool water.
Please read this instruction manual carefully from start to finish before attempting to install your UV.
UNBOXING THE UV
On unpacking, you will see that the UV bulb and quartz sleeve are packed separately for safe transit. Please refer to pages 9 and 14 of this manual for instructions on how to install the bulb and quartz sleeve. Quartz Sleeve O-Rings and End Cap Flat Washers are packed in separate small bags inside the box.
Stainless steel mounting brackets and screws are also supplied in bags and need to be fitted. On the 110 UV, the mounting brackets can be found in the cardboard end fitments.
Please take time to familiarise yourself with your UV and its components.
15W AND 25W UV DIAGRAMS AND COMPONENTS LIST
Please familiarise yourself with the components shown in the diagram below:

| Description | Label | Qty |
| Inlet / Outlet | A | – |
| End Cap | B | 2 |
| UV Bulb | C | 1 |
| Quartz Sleeve | D | 1 |
| Bulb Socket | F | 2 |
| Quartz Sleeve O-Ring | G | 2 |
| Locking Nut | H | 2 |
| End Cap Flat Washer | I | 2 |
| Electrical Box | J | 1 |
| Cable Clip | K | 2 |
| Mounting Bracket | L | 2 |

IDENTIFYING THE O-RINGS
These O-Rings are packed in small bags inside the box.
QTY x 2: Quartz SleeveO-Rings (G)
QTY x 2: End Cap
Flat Washer (I)
30W / 55W / 75W UV DIAGRAMS AND COMPONENTS LIST
Please familiarise yourself with the components shown in the diagram below:

| Description | Label | Qty |
| Inlet / Outlet | A | – |
| End Cap | B | 2 |
| UV Bulb | C | 1 |
| Quartz Sleeve | D | 1 |
| Bulb Socket | F | 2 |
| Quartz Sleeve O-Ring | G | 2 |
| Locking Nut | H | 2 |
| End Cap Flat Washer | I | 2 |
| Electrical Box | J | 1 |
| Cable Clip | K | 2 |
| Mounting Bracket | L | 2 |
| Electrical Box Bracket | M | 2 |

IDENTIFYING THE O-RINGS
These O-Rings are packed in small bags inside the box.
QTY x 2: Quartz Sleeve
O-Rings (G)QTY x 2: End Cap
Flat Washer (I)

110W UV DIAGRAMS AND COMPONENTS LIST
Please familiarise yourself with the components shown in the diagram below:Description Label Qty Inlet / Outlet A – End Cap B 4 UV Bulb C 2 Quartz Sleeve D 2 Bulb Socket F 4 Quartz Sleeve O-Ring G 4 Locking Nut H 4 End Cap Flat Washer I 4 Electrical Box J 1 Cable Clip K 4 Mounting Bracket L 2 Electrical Box Bracket M 2

IDENTIFYING THE O-RINGS
These O-Rings are packed in small bags inside the box.
QTY x 4: Quartz SleeveO-Rings (G)
QTY x 4: End Cap
Flat Washer (I)

50W UV DIAGRAMS AND COMPONENTS LIST
Please familiarise yourself with the components shown in the diagram below:
| Description | Label | Qty |
| Inlet / Outlet | A | – |
| End Cap | B | 4 |
| UV Bulb | C | 2 |
| Quartz Sleeve | D | 2 |
| Bulb Socket | F | 4 |
| Quartz Sleeve O-Ring | G | 4 |
| Locking Nut | H | 4 |
| End Cap Flat Washer | I | 4 |
| Electrical Box | J | 1 |
| Cable Clip | K | 4 |
| Mounting Bracket | L | 2 |
| Electrical Box Bracket | M | 2 |

IDENTIFYING THE O-RINGS
These O-Rings are packed in small bags inside the box.
QTY x 4: Quartz SleeveO-Rings (G)
QTY x 4: End Cap
Flat Washer (I)
FLOW RATES
Please note: For optimum performance we recommend that you pass the entire volume of your pool through the UV unit at least once every 4 to 8 hours.
The slower the flow the higher the dosage of UV.
We do not recommend the use of pumps with operating pressures in excess of 2.5 bar / 25 metres of head.
| Model | Pool size | Max. flow rate | Bulb power | Inlet / Outlet |
| 15W | 15m3 3,960 US Gals | 7,500 Litres/hr 1,980 US Gals/hr | 15W (1 X 15W T8) | 1½” / 50mm |
| 25W | 25m3 6,600 US Gals | 10,000 Litres/hr 2,640 US Gals/hr | 25W (1 X 25W T8) | 1½” / 50mm |
| 30W | 30m3 7,925 US Gals | 15,000 Litres/hr 3,960 US Gals/hr | 30W (1 X 30W T8) | 1½” / 2″or 50mm / 63mm |
| 50W | 50m3 13,208 US Gals | 16,000 Litres/hr 4,226 US Gals/hr | 25W (2 X 25W T8) | 1½” / 2″ or 50mm / 63mm |
| 55W | 55m3 14,530 US Gals | 20,000 Litres/hr 5,280 US Gals/hr | 55W (1 X 55W T8) | 1½” / 2″ or 50mm / 63mm |
| 75W | 75m3 19,810 US Gals | 25,000 Litres/hr 6,600 US Gals/hr | 75W (1 X 75W T8) | 1½” / 2″ or 50mm / 63mm |
| 110W | 110m3 29,050 US Gals | 25,000 Litres/hr 6,600 US Gals/hr | 110W (2 X 55W T8) | 2″ or 63mm |
It is important to note that there are factors that affect how you select the right size of UV for your pool.
Your UV will keep your pool clear of green water up to its maximum capacity as stated above along with an appropriate sanitiser.
The UV range is an effective unit and has multiple uses. It can be used on large pools, aquaculture and other installations, please contact your local dealer for further details.
INSTALLING THE QUARTZ SLEEVE

- Starting at one end of the unit, unscrew the black end cap (B). You will notice that this black end cap houses the bulb socket (F).
- Unscrew the white locking nut (H) from the same end.
- Repeat steps 1 and 2 at the other end of the unit.
- Take the quartz sleeve (D) from the packaging box and slide it through the UV until it finds the hole at the far end of the unit.
- Take the quartz sleeve O-Ring (G) and fit it around one end of the quartz sleeve.
- Slide this quartz sleeve O-Ring (G) towards the thread on the UV body, ensuring that equal amounts of quartz sleeve are visible at each end of the unit.
- Fit the quartz sleeve O-Ring (G) at the other end of the quartz sleeve, again ensuring that equal amounts of quartz sleeve are visible at each end of the unit.
IMPORTANT: Ensure that equal amounts of the quartz sleeve are visible at each end of the unit before fitting the locking nuts. - Now screw the white locking nut (H) back into position.
- Ensure the locking nut is HAND TIGHTENED to prevent causing damage to the O-Ring. No tools are needed.
- Repeat steps 8 and 9 at the other end of the unit.
- The quartz sleeve is now in position ready to take the UV bulb.
- Run for 24 hours to check the installation is correct with no leaks. See page 12 for details. Re-install if any leaks are detected – if no leaks proceed to lamp installation.
HAND TIGHTEN FITTINGS ONLY – DO NOT USE TOOLS
POSITIONING AND MOUNTING THE UV

Fitting mounting brackets (15W to 75W)
Stainless steel brackets and screws can be found in bags inside the packaging.
You will need to install these mounting brackets to the rear of the UV at each end using a 3mm Allen key. HAND TIGHTEN ONLY.

Fitting mounting brackets (110W)
Stainless steel mounting brackets, nuts and bolts can be found inside the packaging.
On the 110 UV, you can find the two mounting brackets inside the cardboard fitting inside the box. Nuts and bolts are packed in a small bag. You will need to install these mounting brackets to the rear of the UV at each end. Use a 8mm nut runner and spanner. HAND TIGHTEN ONLY.
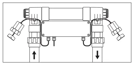
CONNECTION TO YOUR PIPEWORK


IMPORTANT: Do not overtighten fittings.
Please note that there is no correct direction of flow through the unit, either end of the unit may be used as the inlet or outlet.
IMPORTANT: Valves positioned after the UV must never be closed when the pump is in operation. DO NOT “dead-head” the unit.
All units are fully serviceable without removing the unit therefore they do not need a by-pass to be installed.
INSTALLING A BY-PASS – 110W MODELS
If a by-pass is required, we recommend using a Double Union Ball Valve glued to a length of Pressure Pipe at each end of the UV. This will enable you to isolate the UV during maintenance.

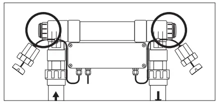
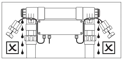
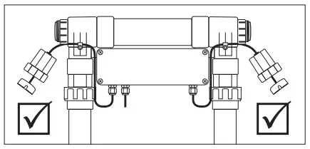
WATER TESTING THE QUARTZ, O-RINGS AND LOCKING NUTS
Now that the unit is in position and connected to pipework, the quartz sleeve and O-ring at each end can be leak tested to ensure that they have been fitted properly. Failure to test for leaks and improper installation at this stage may cause water to seep into and damage the bulb socket and end cap flat washer.






STEP 1: Fit quartz sleeve, o-rings and locking nuts.STEP 2: Check the locking nuts are hand tight only.STEP 3: Position and mount UV and connect inlet and outlet connections.STEP 4: Connect up to pipework and turn on pump to start water flow.STEP 5: Check locking nuts for signs of water leaking.STEP 6: If water seeps from locking nuts, check quartz sleeve installation. See Troubleshooting on page 16.STEP 7: If no water leaks, quartz sleeve has been properly installed. Proceed to connecting the UV to the power supply.
WARNING
Failure to test for leaks and improper installation at this stage may cause water to seep into and damage the bulb socket and ballast. Water damage from improper installation is NOT covered under warranty.
CONNECTION TO THE ELECTRICITY SUPPLY
Electrical installations must be done by a qualified electrician.
The power supply must meet the specifications on the product.
The cores in the supply cable are coloured in accordance with the following code:UK / EU:
Brown = Live
Blue = Neutral
Green / Yellow = EarthUSA WIRING
Black = Live
White = Neutral
Green = Earth
Do not use the supply cable to lift the UV as this may cause damage.
WARNING – A Residual Current Device (RCD), also known as the Residual Current Circuit Breaker (RCCB), with a tripping current not exceeding 30mA must be installed in the supply circuit. A means of disconnection from the supply having a contact separation of at least 3mm in all poles must be incorporated in the wiring.
Caution: Use in the area of a swimming pool only if the installation complies with the relevant wiring regulations. Please consult a qualified electrician.
All electrical installations and wiring must be adequately protected to prevent any damage.
Enough electrical cable is supplied with the unit to connect to the mains electric. This unit must be connected to permanent wiring. A switch with 3mm contact separation must be provided in the fixed wiring to provide disconnection from the electricity supply.
It is recommended that the UV unit is wired in conjunction with the pump so that when the pump is turned off, so is the UV unit.
USA SPECIFIC
GROUNDING INSTRUCTIONS – This appliance must be grounded. In the event of a malfunction or breakdown, grounding will reduce the risk of electric shock by providing a path of least resistance for electric current. This appliance is equipped with a cord having an appliance-grounding conductor and a grounding plug. The plug must be plugged into an appropriate outlet that is installed and grounded in accordance with all local codes and ordinances.
WARNING – Improper connection of the appliance-grounding conductor can result in a risk of electric shock. Check with a qualified electrician or service representative if you are in doubt whether the appliance is properly grounded. Do not modify the plug provided with the appliance; if it will not fit the outlet, have a proper outlet installed by a qualified technician.
INSTALLING THE UV BULB
- Remove all packaging from the UV bulb (C).
- Slide the UV bulb (C) carefully through the quartz sleeve (D) that you have just fitted and tested, as per the instructions on pages 9 and 12.
- While holding one of the black end caps (B) gently push the cable through the end cap which will make it easier to fit the bulb socket (F) in step 5.
IMPORTANT: Do not pull the cable by holding just the bulb socket. - Fit the End Cap Flat Washer (I) over the bulb socket and locate it in the end cap so it is seated on the inside lip of the end cap.
IMPORTANT: Ensure the end cap flat washer is not twisted and it remains in this location throughout the installation. - In no particular order, align the UV bulb pins with the holes in the bulb socket and carefully push the bulb socket firmly onto the UV bulb pins. You may need to hold the other end of the UV bulb to help you fit the socket.

- Ensure the UV bulb socket is firmly connected to the UV bulb.
- Repeat steps 3 to 6 at the other end of the unit.
- Now at one end of the unit, slide the black end cap (checking that the flat washer in position) over the bulb socket while carefully holding the cable to prevent the bulb connector disconnecting from the UV bulb.
- Screw this end cap onto the thread on the white locking nut (H) already connected to the UV body. HAND TIGHTEN ONLY.
- Repeat steps 8 and 9 at the other end of the unit.
- Check that all of the fittings are hand tightened. No tools are needed.
- On multiple bulb units, do not mix up the bulb connectors as this will result in the bulb not illuminating.
Please ensure that there is enough space at one end of the UV to enable bulb / quartz sleeve removal and maintenance.
UV BULB REPLACEMENT
ALWAYS ISOLATE THE UNIT FROM ANY ELECTRICITY AND WATER SUPPLY BEFORE CARRYING OUT MAINTENANCE ON THE UNIT.
TO REMOVE A UV BULB:
It is not necessary to stop the water circulating through the UV to change the bulb.
- Disconnect the electricity supply.
- Unscrew the black end cap at one end of the unit. Take care not to unscrew the white locking nut also.
- Carefully slide the black end cap over the wire to reveal the bulb socket.
Take care not to lose the end cap flat washer. - Disconnect the bulb socket.
- Repeat steps 2 to 4 at the other end of the UV.
- With the end caps out of the way, carefully slide out the UV bulb.
WARNING: If the end caps / electrical connections get wet during this procedure, please ensure that they are thoroughly dried before re-connecting.
TO INSTALL A NEW UV BULB:
Follow the instructions on page 14 to fit a new UV bulb.
IMPORTANT: After checking all the fittings are correctly tightened you can switch your unit back on.
As already mentioned, it is essential that the unit is protected from frost during the winter months, or disconnected from water and electricity supplies and stored indoors. During the spring and summer season, the quartz sleeve, which separates the UV bulb from the water passing through the unit, will need to be cleaned two or three times. This is essential, as dirt or limescale building up on the quartz sleeve will inhibit the penetration of the ultraviolet light into the water and affect the efficient working of the unit.
REPLACING / CLEANING QUARTZ SLEEVE
DANGER: ULTRAVIOLET RADIATION. Disconnect Power Before Replacing Lamp ALWAYS ISOLATE THE UNIT FROM ANY ELECTRICITY AND WATER SUPPLY BEFORE CARRYING OUT MAINTENANCE ON THE UNIT.
TO REMOVE A QUARTZ SLEEVE:
PLEASE NOTE: Removing the quartz sleeve will cause water to flow out of the unit.
Flow can be directed to the bypass using the installed bypass. If no bypass is installed then the pump should be turned off and other valves used to isolate the UV.
- Remove the UV bulb as described on page 15.
- With the electricity supply disconnected, UV isolated and UV Bulb removed, unscrew the locking nut at one end of the UV.
- Carefully remove the quartz sleeve O-Ring and keep safe.
- Unscrew the locking nut from the other end and remove the quartz sleeve O-Ring and keep safe.
- Carefully remove the quartz sleeve taking care not to allow it to drop inside the UV body.
- To drain any water that may be left in the unit, we would recommend that you unscrew the mounting bracket(s), disconnect the unit from the pipework, and tilt the unit to drain the chamber of water.
- Clean the sleeve and polish with a soft cloth or paper towel. If you live in a hard water area, you may get limescale on the quartz sleeve; this can be easily removed by using vinegar or a cold water descale.
WARNING: If the end caps / electrical connections get wet during this procedure, please ensure that they are thoroughly dried before re-connecting.
TO RE-INSTALL A QUARTZ SLEEVE:
Follow the instructions on pages 9 and 12 to re-install the quartz sleeve and UV bulb.
IMPORTANT: After checking all the fittings are correctly tightened you can switch your unit back on.
TROUBLESHOOTING (Also see page 18)
During this procedure or if you notice water leaking from around the end caps you should check the following:
- Check the O-Ring is undamaged.
- Check there are no cracks and breaks in the quartz sleeve.
- Check that the locking nut is compressing the O-Ring to form a water tight seal.
- Check that the end caps are sufficiently tight.
- All components are clean and free from dirt and debris.
*Please note that service items are not subject to a claim under warranty. The service items listed on pages 4 to 7 are available from your Certain dealer.
ELECTRICAL BOX REPLACEMENT
The electrical box with ballast can be easily replaced in the event of any issues.
Spare electrical boxes are available from your Certain dealer.
Use the installation instructions provided with the spare part to install the unit.
IN BUILT PROTECTION
The CUV range of UV disinfection system sterilisers have thermal overload protection which automatically shuts down and then enables a fast re-start when the problem has been cleared. This may be as a result of water in the end caps. Please see the troubleshooting section.
Thermal Overload Protection
This will automatically switch off the unit should the temperature exceed the maximum operating temperature limits.
Automatic start up and shut down protection –
This protects the electrical components in the event of a power surge.
TROUBLE SHOOTING
If the UV bulb is not lit, then you need to investigate the power to your unit.
- Has your RCD tripped? If yes, check your wiring and reset.
- Examine the UV bulb for signs of failure, and replace if necessary.
- Is the UV bulb fitted correctly? Unscrew the end caps and ensure correct fitting as per the instructions as described in this manual.
- Are the end caps dry? If not, allow to dry thoroughly. We recommend the use of a hairdryer for this.
- UV units with multiple bulbs are electrically linked as a pair. Therefore if one bulb fails, both bulbs will not illuminate. Substituting either bulb will identify which bulb has failed.
- Do not mix up the bulb connectors as this will result in the bulb not illuminating.
The unit worked well when I first installed it but recently my pool has gradually gone green again – what is wrong?
Quartz sleeve may have become dirty and requires cleaning. Also make sure you have the right model for your pool size. Ensure your pool filtration is removing waste and debris efficiently. Dirt in pools will affect the efficiency of the UV. Check that your pool water volume is pumping through the UV every 4 to 8 hours.
Check chemical levels and ensure they are within industry standards.
Only after you have carried out these checks should you contact your Certain dealer, who will then be able to advise you further.
The unit appears to be leaking from the end fittings?
This could possibly be caused by an incorrectly fitted, damaged or overtightened O-Ring on the quartz sleeve. Please check the quartz sleeve O-Ring, reposition it or if necessary replace it with a new one. Follow the steps on page 12 to test.
IMPORTANT: Do not fit the bulb socket or end cap until the issue is solved.
If water enters the bulb socket it can cause irreparable damage to bulb socket and ballast.
Damage caused by improper fitting of the quartz sleeve, o-rings and locking nuts are not covered under warranty.
FREQUENTLY ASKED QUESTIONS
– The UV bulb has an effective lifespan of 12 months (9000 hours). This should be changed without fail in order for the unit to remain effective and fit for purpose.
– We recommend changing the quartz sleeve whenever you change the bulb.
– The UV can be installed in any orientation.
– Yes, UV only disinfects the water when passing over an illuminated bulb, a residual disinfectant is required in the pool.
– The UV should run whenever the pump runs.
– The UV is manufactured from materials that will not corrode in salt water, however the stainless steel bracket will. Use alternative mounting means when using UV on saltwater systems.
– UVs have been designed and manufactured to the highest standards, and can be run 24 hours a day. For external applications, if the unit is frost protected it may be left running throughout the winter. Otherwise, the unit should be removed, drained and stored safely for the winter.
– No. The UV, although weatherproof, is not suitable for installing in any situation that may be subject to immersion in water.
– Yes. The UV is safe to use with ozone units, however, the O-Rings are not.
– When using ozone units please use rigid pipe.
– Please follow the procedure for cleaning / replacing the quartz sleeve. This will explain the correct procedure for removing both end caps and sockets and explain the method for easy installation.
GUARANTEE
This product is guaranteed against defects in material and workmanship for 2 years from the date of purchase, under normal usage. The guarantee DOES NOT APPLY in case of improper use, negligence, lack of maintenance or accidental damage to the UV. If the UV fails due to a manufacturing fault within this period it will be either repaired or replaced free of charge. Liability is limited to replacement of the faulty product only; no other costs will be reimbursed. This guarantee is not transferable and does not affect your statutory rights. This guarantee does not confer any rights other than those expressly set out above. This guarantee does not cover the UV bulb or quartz sleeve.
This unit should only be installed by a qualified electrician.
The manufacturer or supplier shall not be responsible, or held liable for any damages caused by defective components or materials of this product; or for loss incurred by interruption of service; or any consequential/incidental damages and expenses arising from the production, sale use or misuse of this product or any other consequential loss.
Any warranty claim must be accompanied by a valid, dated proof of purchase.
Certain and its dealers shall not be held liable for any consequential loss as a result of any failure or defect of this product.
The installation and use of your product outside of our recommendations as printed in this manual may also void the warranty.

DISPOSAL OF YOUR OLD PRODUCT
Your product is designed and manufactured with high quality material and components, which can be recycled and reused. When this crossed out wheeled bin symbol is attached to a product, it means the product is covered by the European Directive 2002/96/EC. Please contact your local authority about correct disposal for electrical and electronic equipment.
Our WEE Registration Number is WEE/FE1471RR.
Please act according to your local rules and do not dispose of your old products with your normal household waste. The correct disposal of your old product will help prevent potential negative consequences for the environment and human health.
CERTIKIN INTERNATIONAL LTD.
Certain International Ltd, Unit 4 Tungsten Park,
Collets Way, Watney, OX29 0AX
Phone: +44 (0) 1993 777200
Fax: +44 (0) 1993 778869
www.certikin.co.uk


















