AstroAI Digital Tire Pressure Gauge 230 PSI Heavy Duty
Thank you for purchasing the Heavy-Duty Dual Head Truck Tire Gauge from AstroAI. For optimal performance and safety, please read and follow all of the instructions below before operating the device. Please keep this manual for future reference. We hope you enjoy your new Tire Gauge! lIf you experience the need for any kind of help or support from Our Customer Service team, you are welcome to contact us with your questions via [email protected]. Thanks again!
WARNING:
- Do not use this product for applications outside of its intended use
- Read and follow all instructions before use.
- Please ensure this product is intact before use.
SIZE
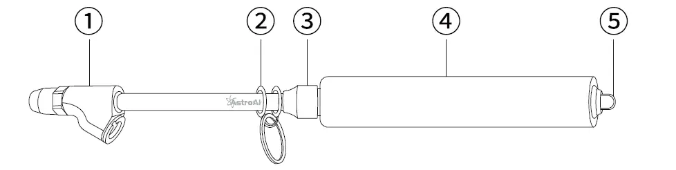
DIAGRAM 
- Heavy-duty dual head chuck
- Carrying ring
- Body
- Anti-slip handle
- 2-side Pressure indicator bar
INSTRUCTIONS
Firmly press the nozzle of the tire pressure gauge on the tire valve, the 2-side Pressure indicator bar will jump out with the pressure value; another nozzle can be used for testing inner tires.
NOTE: Press firmly to ensure a good seal to prevent air leakage which may cause the wrong result.
- • When we check the value on the 2-side Pressure indicator bar, we should observe the 2-side Pressure indicator bar vertically.
- Please put 2-side Pressure indicator bar back after use.
SPECIFICATIONS
- Material:
Body: Stainless steel 2-side Pressure indicator bar: Aluminum - Range: 150PSI
- Accuracy: 2PSI /resolution
- 2-5ide Pressure indicator bar length:3.93inches
1 YEAR WARRANTY LIMITED WARRANTY FROM ASTROAI
Each Heavy Duty Dual Head uck Tire Gauge will be free from defects in mäterial and workmanship. This warranty does not cover damage from neglect, misuse, contamination,
alteration, accident, or abnormal conditions of operation or handling. This warranty covers the original purchaser only and is not transferable.
AstroAl always wants to provide our customers with excellent products as well as Customer service. To know more about us, please visit astroai.com.
Web: www.astroai.com
E-mail: [email protected]






















