HONDA CIVIC 1.5T (2022+)
“THROWBACK” STRUT BAR
INSTALLATION GUIDE
PRL INSTALLATION OVERVIEW
PRODUCT: PRL-HCR-STRUT PRL Motorsports Throwback Strut Bar
FITMENT: 2022+ Honda Civic 1.5T
2022+ Honda Civic 1.5T
INSTALLATION TIME: 10 – 20 Minutes
NOTE: THIS ITEM DOES NOT REQUIRE AN ECU RE-CALIBRATION.
PRODUCT DISCLAIMER:
United States 48 State Compliant: California/New York Residents please see Prop 65. This is a Race Only product that is to be used solely for competition, it cannot be used on vehicles that are operated on public streets, roads or highways. Its use is limited to closed-course and open-course racing that is formally sanctioned by a recognized racing organization. Any other use including recreational use could be in violation of local, state and federal laws. PRL Motorsports is not responsible for any vehicle damage or personal injury that may occur due to an installation error, product misuse, or removal of PRL Motorsports products. PRL Motorsports highly suggests that a trained professional conduct the installation on all products. PRL Motorsports is not responsible for damaged products due to incorrect installation.
REQUIRED TOOLS:
Ratchet 12mm Socket 14mm Socket Torque Wrench 6mm Hex/Allen Wrench

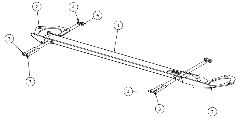
| ## | PART # | QTYQTY | DESCRIPTION |
| 1 | HCR-STRUT-E X T | 1 | 2022+ Honda Civic 1.5T Strut Bar Extrusion |
| 2 | HCR-STRUT-BK T-SE T | 2 | 2022+ Honda Civic 1.5T Strut Bar Bracket (Pair) |
| 3 | SCHS-M8x1.25×55 | 4 | Hexagon Socket Head Cap Screws (Zinc) |
| 4 | NUT-M8-NY | 4 | M8 Nylock Nut (Zinc) |
Before Beginning Your Installation:
- Turn off the ignition. Loosen battery terminal and disconnect the negative battery terminal cable. Allow the vehicle to sit for a minimum of 5 minutes to drain any remaining charge from the charging system.
NOTE: Disconnection of the negative battery cable erases pre-programmed electronic memory. We recommend saving any memory settings before disconnecting the negative terminal. Some radios will require an anti-theft code to be entered after the negative battery cable is reconnected.
Preparing Your Strut Bar - Reference the parts list and ensure all components are enclosed. If something is missing, please contact PRL Customer Support.
- Place the PRL Strut Bar on a flat, level and covered surface to avoid scratching or denting the surface of the strut bar. This installation requires removal of the nuts at the top of the strut in the engine bay. Do this on a flat, level surface with the parking brake engaged. This guide uses factory suspension setup as the basis of the installation. If you have aftermarket suspension/have adjusted your suspension for track use, see the end of this guide for troubleshooting.
- Loosen all (3) factory nuts on the top of the strut, per side. Carefully lower bar down, aligning the bracket onto the studs on each side.

- Finger tighten each of the (6) factory nuts till they are all installed on the top of both struts.

- After loosely installing the bar, ensure that all battery lines have been safely tucked so that way they sit properly underneath the bar. They shouldn’t touch.

- Ensure that there is clearance of the EVAP line on the right side of the motor.
The line should not make contact with the bar itself.
- If the line is touching, you will have to adjust the rotation of the EVAP line.
There is a tension clip that will have to be loosened for the line to rotate.
- Using a pair of pliers, squeeze the tension clip to loosen the line. Then you can rotate the hose freely to provide ample gap underneath the strut bar.

- Torque down each nut, in a circular pattern per side. Torque to the recommended torque spec of either the Honda factory spec for your year/ make/model or the aftermarket manufacturer’s torque spec, as these can vary across the board. ALWAYS check torque specs of bolts. If the PRL Strut Bar or the brackets do not fit exactly flush, see the following step to adjust to your suspension setup.

FOR CUSTOMERS WITH ADJUSTED/AFTERMARKET SUSPENSION SETUPS
If you are not able to align both brackets on the studs due to an adjusted suspension setup, align just one side so it is mounted. Remove the (2) M8 bolts on the opposite side, freeing the bar from the bracket. Align the bracket on the studs and then re-install the bar. Torque to the recommended torque spec.
** RECOMMENDED TORQUE SPEC – 17 ft/lbs **

Road Testing Your PRL Throwback Strut Bar
- Start the vehicle with the transmission in neutral and the emergency brake engaged. Assess to make sure of any possible issue(s) and then make any subsequent adjustments as they are needed.
- Test drive the vehicle to ensure everything is in working order.
- If after the road testing, everything is good to go, enjoy your PRL Throwback Strut Bar! Thank you for being a part of the #PRLARMY.
If you have any questions/concerns please reach out to us at:
If you have any questions/concerns please reach out to us at: [email protected]
Please provide a full description of your issue, ideally with any pertinent images or video clips that can help our team address the issue.
Please note: All support tickets are addressed during business hours and in order of received.
As stated at the beginning of this guide, the PRL Strut Bar (or any strut bar) do not require tuning to benefit from the advertised gains and performance.
Required Maintenance
PRL Motorsports thoroughly recommends visually inspecting your products during any routine maintenance like oil changes, tire rotations, and filter changes or cleanings. Please make sure to check your connections on all mounted parts periodically to ensure that they have not come loose over time. When it comes to cleaning and maintaining that great finish, please utilize something a simple cleaner/quick detailer spray and a soft cloth. Please do not use any type of abrasive cleaning tool on the strut bar to clean/polish it.

1400 RANDALL COURT – UNIT 104
EXPORT, PENNSYLVANIA 15632
www.PRLMotorsports.com
Follow Us!
PRLMotorsports![]()
























