KAMADO JOE VND55882080 Big Joe I Charcoal Grill

Grill does not come with charcoal.
WARNING
- This manual contains important information necessary for the proper assembly and safe use of the appliance.
- Read and follow all warnings and instructions before assembling and using the appliance.
- Keep this manual for future reference.
- Failure to follow these instructions could result in fire, explosion or burn hazard which could cause property damage, personal injury or death.
CARBON MONOXIDE HAZARD
- Burning charcoal or wood chips gives off carbon monoxide, which has no odor and can cause death.
- Use only outdoors where it is well ventilated.
WARNINGS AND IMPORTANT SAFEGUARDS
- WARNING! This barbecue will become very hot. Do not move it during operation.
- WARNING! Do not use indoors!
- WARNING! Do not use alcohol, gasoline or other similar liquids to light or relight the barbecue.
- WARNING! Keep children and pets away from grill at all times. Do NOT allow children to use grill. Close supervision is necessary when children or pets are in the area where grill is being used.

- Do not use the barbecue in a confined and/or habitable space e.g. houses, tents, caravans, motor homes, boats. Danger of carbon monoxide poisoning fatality.
- Always use grill in accordance with all applicable local, state and federal fire codes.
- Before each use check all nuts, screws and bolts to make sure they are tight and secure.
- Never operate grill under overhead construction such as roof coverings, carports, awnings or overhangs.
- Grill is for OUTDOOR USE ONLY.
- Maintain a minimum distance of 10 ft. (3m) from overhead construction, walls, rails or other structures.
- Keep a minimum 10 ft. (3m) clearance of all combustible materials such as wood, wood decks, dry plants, grass, brush, paper or canvas.
- Never use grill for anything other than its intended use. This grill is NOT for commercial use.
- Accessory attachments not supplied by Kamado Joe are NOT recommended and may cause injury.
- Use of alcohol, prescription or non-prescription drugs may impair user’s ability to assemble or safely operate grill.
- Keep a fire extinguisher accessible at all times while operating grill.
- When cooking with oil or grease, have a type BC or ABC fire extinguisher readily available.
- In the event of an oil or grease fire do not attempt to extinguish with water. Immediately call the fire department. A type BC or ABC fire extinguisher may, in some circumstances, contain the fire.
- Use grill on a level, non-combustible, stable surface such as dirt, concrete, brick or rock. An asphalt surface (blacktop) may not be acceptable for this purpose.
- Grill MUST be on the ground. Do not place grill on tables or counters. Do NOT move grill across uneven surfaces.
- Do not use grill on wooden or flammable surfaces.
- Keep grill clear and free from combustible materials such as gasoline and other flammable vapors and liquids.
- Do not leave grill unattended.
- Do NOT allow anyone to conduct activities around grill during or following its use until it has cooled.
- Never use glass, plastic or ceramic cookware in grill. Never place empty cookware in grill while in use.
- Never move grill while in use. Allow grill to cool completely (below 115°F (45°C)) before moving or storing.
- Do not store grill with hot ashes or charcoal inside grill. Store only when fire is completely out and all surfaces are cold.
- Never use grill as a heater. READ CARBON MONOXIDE HAZARD.
- The grill is HOT while in use and will remain HOT for a period of time afterwards and during cooling process. Use CAUTION. Wear protective gloves/mitts.
- DO NOT bump or impact the grill to prevent personal harm, damage to grill or spillage/splashing ofbhot cooking liquid.
- Be careful when removing food from grill. All surfaces are HOT and may cause burns. Use protective gloves/mitts or long, sturdy cooking tools for protection from hot surfaces or splatter from cooking liquids.
- Do not touch HOT surfaces.
- Grill is HOT during use. To avoid burns, keep face and body away from vents and when opening lid. Steam and hot air are expelled during use.
- When cooking above 350°F (175°C), carefully open the grill (or burp the grill) each time you lift the grill dome to prevent flashback – a surge of white-hot heat caused by a rush of oxygen. Partially opening the lid 2-3 inches (5-8cm) and allowing heat to escape for about 5 seconds should prevent this.
- Air dampers are HOT while the grill is in use and during cooling. Wear protective gloves when adjusting.
- Grill has an open flame. Keep hands, hair and face away from flame. Do NOT lean over grill when lighting. Loose hair and clothing may catch fire.
- DO NOT obstruct flow of combustion and ventilation.
- Do not cover cooking racks with metal foil. This will trap heat and may cause damage to the grill.
- Never leave HOT coals or ashes unattended.
- Fuel should be kept red hot for at least 30 minutes prior to use.
- Do not cook before the fuel has a coating of ash.
- Do not remove ash drawer while ashes and charcoal are HOT.
- Use protective gloves when handling this grill or working with fire. Use protective gloves or long, sturdy tools when adding wood or charcoal.
- Never use charcoal lighting fluid, gasoline, alcohol or other highly volatile fluids to ignite charcoal. These fluids can explode and cause injury or death.
- The maximum amount of charcoal for the Classic III is 6 lbs. (2.7 kg). Never overfill charcoal grate. This can cause serious injury as well as damage to the grill.
- Dispose of cold ashes by placing them in aluminum foil, soaking with water and discarding in a noncombustible container.
- SloRoller should not be used for temperatures over 500°F (260°C)
Parts Description


- TOP VENT (1)
- GRILL DOME (1)
- HALF MOON COOKING GRATES (2)
- ACCESSORY RACK (1)
- CERAMIC HEAT DEFLECTORS (2)
- DIVIDE & CONQUER® FLEXIBLE COOKING RACK (1)
- STAINLESS STEEL FIREBOX RING (1)
- CAST IRON GRATE (1)
- FIREBOX WALLS (6)
- FIREBOX BASE (1)
- SLIDE-OUT ASH DRAWER (1)
- LEFT SIDE SHELF (1)
- RIGHT SIDE SHELF (1)
- GRATE TOOL (1)
- GRATE GRIPPER (1)
- GRILL BASE (1)
- STEEL WIRE CART (1)
- LOCKING SWIVEL CASTERS (2)
NON-LOCKING SWIVEL CASTERS (2)
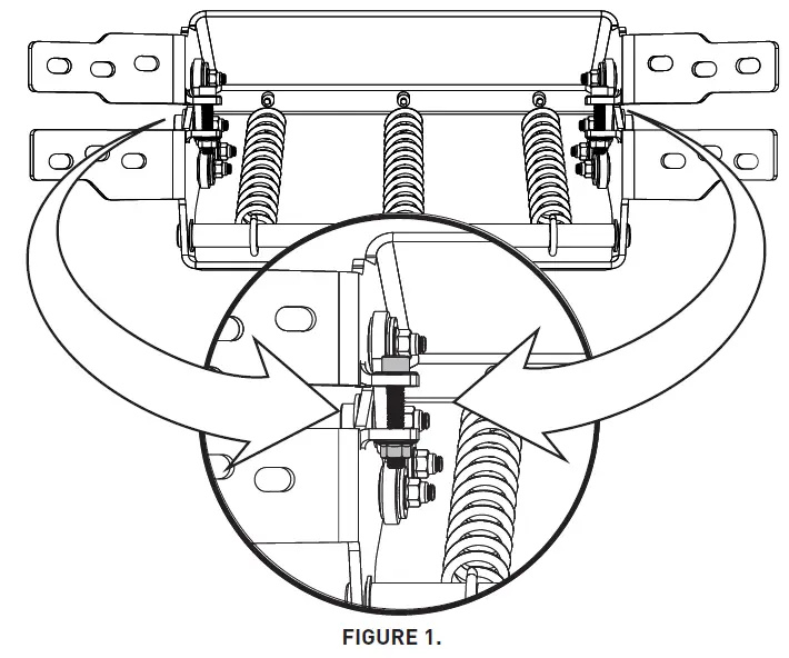
BIG JOE I Hinge Disengagement
The Hinge on your BIG JOE I is already pre-adjusted for ideal balance and stability. Follow these instructions to disengage the hinge.


AFTER THE DISENGAGEMENT HARDWARE HAS BEEN REMOVED, THE HINGE IS FREE TO MOVE UP AND DOWN.
KEEP THE DISENGAGEMENT HARDWARE. DO NOT DISCARD. HARDWARE IS USED IF HINGE REPLACEMENT IS NECESSARY.
Grill Set-Up
UNBOXING YOUR GRILL
- Cut the plastic bands and remove the top and side panels of the shipping container.
- Set the grill cart box aside.
- Open the dome of the grill and remove the components from the inside of the grill. Handle the internal ceramic parts with care.
KAMADO JOE GRILL WITH CART
- Once the internal components of the grill have been removed, lift the grill out of the container and set it aside. Due to the weight of this grill, we highly recommend two people perform this task. Do NOT lift the grill by the side shelf tabs. Use the rear hinge and the front lower vent opening as lifting points.
- Assemble the grill cart.
- With the same lifting technique used previously, lift the grill into the cart. Adjust the grill in the cart so the lower grill vent is facing the front of the cart. The front side of the cart is the side with the two locking casters.








Safety Information
Hinge and band are under high tension, failure to follow instruction steps may result in severe injury.
GASKET
Self-cleaning through natural heat cycle recommended. Do not use chemical based cleaners on the gasket. If absolutely necessary, gently wipe off any spills or moisture. Do not scrub or abrade the gasket if cleaning. Excessive rubbing can cause wear.
Cleaning & Care
Your Kamado Joe grill is made of quality materials, so general care and maintenance is minimal. The best way to protect your Kamado Joe from the elements is with a grill cover. Light cracked porcelain called crazing is part of the natural characteristic.
SELF-CLEANING
- Add charcoal and light it.
- Install the Divide & Conquer® flexible cooking rack in the top position and both heat deflectors on the accessory rack.
- Open the top and bottom air vents fully and let the temperature inside the grill rise to 600°F (315°C) with the dome closed.
- Hold the temperature at around 600°F (315°C) for 15-20 minutes.
- Close the bottom vent fully and wait another 15-20 minutes to close the top vent.
This process will burn off any unwanted residue from the inside of your grill. Before cooking again, brush the cooking grate with a standard grill brush. Use a soft bristle brush on the ceramics to remove any residue. Your heat deflector plates should also be free of burned on residue after this process. Brush them down with a soft bristle brush after cleaning. When your heat deflectors get dirty during normal use, flip them over with the dirty side down for the next cook and the heat from the fire will self-clean that side of the deflector plate.
Once or twice a year, you should do a more thorough cleaning of the inside of the grill. Remove the internal components and remove any residual ash or debris that has collected between the grill body and the internal components. Use a plastic bristle brush to clean the inside ceramic surface and scoop or vacuum debris from the bottom of the grill before replacing the internal components.
Quick Start Guide
STARTING IT UP
- Add charcoal to firebox and light using one or two fire starters.
- Leave dome open for 10 minutes with the bottom vent fully open.
- Close the dome.
- Begin closing the top vent and bottom vent when the dome temperature is within 50°F (10°C) of your target.
MAINTAINING TEMPERATURE
To lower the temperature, decrease the airflow through the grill by closing the vents. Conversely, raise the temperature by opening the vents. Adjustments to the vents are not immediate—allow 10–15 minutes for a vent change to take effect. Because your ceramic Kamado Joe retains heat so well, it can take some time to fully heat. Give your grill 20–40 minutes to stabilize the temp before you start cooking.
COOLING IT DOWN
- When finished cooking, close the bottom vent completely.
- Once the temperature falls below 400°F (205°C), close the top vent almost completely, but leave a small crack.
- Do not cover the grill until the dome is cool to the touch.
TO LOWER THE TEMPERATURE, CLOSE THE VENTS.
TO RAISE THE TEMPERATURE, OPEN THE VENTS.
QUICK TEMPERATURE GUIDE
Approximate temperatures for cooking techniques.
- GRILLING
400–600˚F (205–315°C) - SEARING
500–750˚F (260–400°C) - BAKING
300–750˚F (150–400°C) - ROASTING
300–450˚F (150–230°C) - SMOKING
225–275˚F (105–135°C)
CAUTION
- BURP
When cooking above 350°F (175°C), carefully open the grill (or burp the grill) each time you lift the grill dome to prevent flashbacks. - LIQUIDS
Do not spill liquids inside or on the grill while it is hot. - SPARKS
Be aware of sparks and embers when using the grill on a wooden deck. - DURING OPERATION
Do not leave your grill unattended with the grill dome open.

















