Ningbo Sunpu Led LUM-FLD20X110W08BK-3WF Smart Multicolor Floor Lamp

READ BEFORE INSTALLATION.
SAVE THESE INSTRUCTIONS.
Questions, problems, missing parts?
Before returning to store, visit felt.com/help for further assistance.
We appreciate the trust and confidence you have placed in Feit Electric through the purchase of this Smart Multi-Color Floor Lamp.
We strive to continually create quality products designed to enhance your home. Visit us online to see our full line of products available for your home improvement needs. Thank you for choosing Feit Electric.
Important Safety Information
READ ALL INSTRUCTIONS:
All safety and operating instructions in this manual must be followed before using this product.
- Do not use within 10 feet of pool or water.
- To avoid damage, use only with the power supply provided.
- Do not open the product. use only as intended.
- Do not operate if any component is damaged.
- Keep away from any heat source.
- Do not turn off by pulling on the cord.
- Do NOT handle this light or try to plug it in when your hands are wet or damp.
SAVE THESE INSTRUCTIONS
![]() | WARNING: Follow all safeguards stated in this manual, addition to nonmal safety precautions when working with electrical devices. Always follow basic safety precautions to reduce the risk of fire, electric shock and personal injury. |
![]() | CAUTION: Only use 12VDC O.75A adapter(included). This product is not user-serviceable. Do not attempt to open the product enclosure for any reason. Operating temperature recommended -10°c (14°F) to 40°C (104°F). |
PRODUCT RATINGS: Dry Location IP2O.
Maintenance and Care
Regularly wipe down the floor lamp with a non-abrasive cleaning cloth.
FCC Statement
Supplier’s Declaration of Conformity: 47 CFR § 2.1077 Compliance Information
Responsible Party: Feit Electric Company 4901 Gregg Road, Pico Rivera, CA 90660, USA 562-463-2852 Unique
Identifier: FLOOR42/RGB/BLK/ AG
This device complies with part 15 of the FCC Rules. Operation is subject to the following two conditions: (1) This device may not cause harmful interference, and (2) this device must accept any interference received, including interference that may cause undesired operation. Note: This equipment has been tested and found to comply with the limits for a Class B digital device, pursuant to part 15 of the FCC Rules. These limits are designed to provide reasonable protection against harmful interference in a residential installation. This equipment generates, uses and can radiate radio frequency energy and, if not installed and used in accordance with the instructions, may cause harmful interference to radio communications. However, there is no guarantee that interference will not occur in a particular installation. If this equipment does cause harmful interference to radio or television reception, which can be determined by turning the equipment off and on, the user is encouraged to try to correct the interference by one or more of the following measures: Reorient or relocate the receiving antenna. Increase the separation between the equipment and receiver. Connect the equipment into an outlet on a circuit different from that to which the receiver is connected. Consult the dealer or an experienced radio/IV technician for help. Any changes or modifications not expressly approved by the manufacturer could void the user’s authority to operate the equipment. CAN ICES-005 (B).
Limited Warranty
This product is warrantied to be free from defects in workmanship and materials for up to 1 year from date of purchase. If the product fails within the warranty period, please visit feit.com/help for instructions on replacemenVrefund or call 866.326.BULB. REPLACEMENT OR REFUND IS YOUR SOLE REMEDY. EXCEPT TO THE EXTENT PROHIBITED BY APPLICABLE LAW, ANY IMPLIED WARRANTIES ARE LIMITED IN DURATION TO THE DURATION OF THIS WARRANTY. LIABILITY FOR INCIDENTAL OR CONSEQUENTIAL DAMAGES IS HEREBY EXPRESSLY EXCLUDED. Some states and provinces do not allow the exclusion of incidental or consequential damages, so the above limitation or exclusion may not apply to you. This warranty gives you specific legal rights, and you may also have other rights which vary from state to state or province to province.
Pre-Assembly
MINIMUM REQUIREMENTS
- Smartimr,e with 4.4 Kitka! or iOS 9.3
- Feil Bectric app
- 2.4GHz Wi-Fi Correction
PARTS INCLUDED
![]() | NOTE: Hardware images are for illustration purposes only. Actual product size may vary |

Part | Description | Quantity |
A | Base | 1 |
B | LED Light Bar | 1 |
C | Wi-Fi Module | 1 |
| D | 9W AC Adapter | 1 |
Dimensions

Installation Method
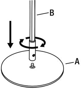
- Setting Up the Floor Lamp
Manually screw the LED Light Bar (B) into the Base (A) clockwise. Do not over tighten.
- Connecting the LED Light Bar to the Wi-Fi Module
Connect the Wi-Fi module (C) to the LED Light Bar (B) by aligning their respective ARROWS (→←).
Carefully connect the Wi-Fi module (C) connector and make sure to NOT bend the pins while connecting the Wi-Fi module to the LED Light Bar connector.
- Connecting the AC Power Adapter
Plug in the Power Adapter cord (D) into the Wi-Fi module (C) to turn unit ON.
App Setup
Download and install the Feit Electric app
- Search for the Feit Electric app in the App Store or Google Play Store.
- Download and install the Feit Electric app on your smart device.
| ![]() |
![]() |
Set up the Smart Multi-Color Floor Lamp using the Feit Electric app
![]() | NOTE: Ensure Wi-Fi (2.4GHz) is connected to your smartphone or tablet before powering on floor lamp. |
- Open Feit Electric app on your smartphone or tablet.
- Click the + symbol on the top right hand corner and select Lighting from the tabs on the left.
- Click the Floor Lamp icon from the selections and follow the instructions shown on the device to pair with the Feit Electric Smart Floor Lamp.
- Once paired you are ready to use the Feit Electric Smart Floor Lamp with your smartphone or tablet.

| NOTE: Be sure to connect to a 2.4 GHz Wi-Fi network that covers your installation |
Wi-Fi Module Operation
- Single click turns Floor Lamp ON/OFF
- Press and Hold for 5 seconds to enter pairing mode or reset.
- Press twice quickly to cycle through preset effects.

Troubleshooting
| PROBLEM | CORRECTIVE ACTION |
| Lamp will not connect to my Wi-Fi network |
|
| Troubleshooting for non-response from smartphone or tablet to RGB floor lamp and vice versa | Step 1. Restart smartphone or tablet and reconnect to Feit Electric app when your smartphone or tablet has Wi-Fi connection. (It this does not solve the non-response issue, please proceed to Step 2) Step 2. Restart cable modem by unplugging the power cable for one minute before reconnecting the power cable back to the cable modem. Step 3. Restart smartphone or tablet and re-open the Feit Electric app after Wi-Fi router has been restarted and is ready for service with active internet connection. *If device continues to be unresponsive after several attempts, please contact Feit Electric support for further assistance and troubleshooting.* |
| How do I reset the lamp to re-enter pairing mode? |
|
Need Help?
Thank you for your purchase. Questions, comments or feedback? We’d love to hear from you. Visit feit.com/help for support or connect with us:

![]() | ![]() |
FCC Statement
This device complies with Part 15 of the FCC Rules. Operation is subject to the following two conditions:
(1) this device may not cause harmful interference, and
(2) this device must accept any interference received, including interference that may cause undesired operation. Warning: Any Changes or modifications not expressly approved by the party responsible for compliance could void the user’s authority to operate the equipment. Note: This equipment has been tested and found to comply with the limits for a Class B digital device, pursuant to Part 15 of the FCC Rules. These limits are designed to provide reasonable protection against harmful interference in a residential installation.
This equipment generates uses and can radiate radio frequency energy and, if not installed and used in accordance with the instructions, may cause harmful interference to radio communications. However, there is no guarantee that interference will not occur in a particular installation. If this equipment does cause harmful interference to radio or television reception, which can be determined by turning the equipment off and on, the user is encouraged to try to correct the interference by one or more of the following measures:
(1) Reorient or relocate the receiving antenna.
(2) Increase the separation between the equipment and receiver.
(3) Connect the equipment into an outlet on a circuit different from that to which the receiver is connected.
(4) Consult the dealer or an experienced radio/TV technician for help.
FCC Radio Frequency Exposure Statement
The antenna(s) used for this transmitter must be installed to provide a separation distance of at least 20 cm from all persons and must not be collocated or operating in conjunction with any other antenna or transmitter, End-Users must be provided with transmitter operation conditions for satisfying RF exposure compliance.
IC Statement
This device complies with Industry Canada licence-exempt RSS standard(s). Operation is subject to the following two conditions:
(1) this device may not cause interference, and
(2) this device must accept any interference, including interference that may cause undesired operation of the device.





























