WCE55US0HB 30 Inch 4 Elements Smooth Surface Electric Cooktop
ELECTRIC COOKTOP
INSTALLATION INSTRUCTIONS
COOKTOP SAFETY
Your safety and the safety of others are very important.
We have provided many important safety messages in this manual and on your appliance. Always read and obey all safety messages.
This is the safety alert symbol. This symbol alerts you to potential hazards that can kill or hurt you and others. All safety messages will follow the safety alert symbol and either the word “DANGER” or “WARNING.” These words mean:
![]()
You can be killed or seriously injured if you don’t immediately follow instructions.
![]()
You can be killed or seriously injured if you don’t follow instructions.
All safety messages will tell you what the potential hazard is, tell you how to reduce the chance of injury, and tell you what can happen if the instructions are not followed.
IMPORTANT:
Save for local electrical inspector’s use.
Installer: Leave Installation Instructions with the homeowner.
Homeowner: Keep Installation Instructions for future reference.
INSTALLATION REQUIREMENTS
Tools and Parts
Gather the required tools and parts before starting installation. Read and follow the instructions provided with any tools listed here.
Tools needed
- Tape measure
- Screwdriver
- Level
- Marker or pencil
- Pliers
Parts supplied
- Clamp brackets (2)
- 21/2″ (6.4 cm) clamping screws (2)
- Foam strip
Parts needed
- A UL listed or CSA approved conduit connector
- UL listed wire connectors
Check local codes. Check existing electrical supply. See “Electrical Requirements” section. It is recommended that all electrical connections be made by a licensed, qualified electrical installer.
Location Requirements
Make sure you have everything needed for correct installation. It is the responsibility of the installer to comply with the installation clearances specified in these instructions.
IMPORTANT: Observe all governing codes and ordinances. When installing cooktop, use minimum dimensions given.
- To eliminate the risk of burns or fire by reaching over the heated surface units, cabinet storage space located above the surface units should be avoided. If cabinet storage is to be provided, the risk can be reduced by installing a range hood that projects horizontally a minimum of 5″ (12.7 cm) beyond the bottom of the cabinets.
- The cooktop must be a specified cooktop that is approved to be installed either alone or over an undercounter built-in oven. Check the cooktop base for an approved installation label for your cooktop model number and approved combinations of cooktops and ovens that can be installed. If you do not find this label, your cooktop may not be approved for use over an undercounter built-in oven. Contact your dealer to confirm that your cooktop is approved.
- Ovens approved for this type of installation will have an approval label located on the top of the oven. If you do not find this label, contact your dealer to confirm that your oven is approved. Refer to oven manufacturer’s Installation Instructions for approval for built-in undercounter use and proper cutout dimensions.
- Cabinet opening dimensions that are shown must be used. Given dimensions are minimum clearances.
- Grounded electrical supply is required. See “Electrical Requirements” section.
IMPORTANT: To avoid damage to your cabinets, check with your builder or cabinet supplier to make sure that the materials used will not discolor, delaminate or sustain other damage.
Mobile Home – Additional Installation Requirements
The installation of this cooktop must conform to the Manufactured Home Construction and Safety Standard, Title 24 CFR, Part 3280 (formerly the Federal Standard for Mobile Home Construction and Safety, Title 24, HUD Part 280). When such standard is not applicable, use the Standard for Manufactured Home Installations, ANSI A225.1/NFPA 501A or with local codes. In Canada, the installation of this cooktop must conform with the current standards CAN/CSA-A240-latest edition, or local codes.
Product Dimensions
A. 215/16″ (54.1 cm)
B. 169/16″ (42.1 cm)
C. 27/8″ (7.3 cm)
Cabinet Requirements
IMPORTANT: If installing a range hood or microwave hood combination above the range, follow the range hood or microwave hood combination installation instructions for dimensional clearances above the cooktop surface.

A. 15″ (38.1 cm)
B. Combustible area above countertop (shown by dashed box above)
C. 30″ (76.2 cm) minimum clearance between top of cooktop platform and bottom of uncovered wood or metal cabinet (24″ [61 cm] minimum clearance if bottom of wood or metal cabinet is covered by not less than 1/4″ [0.6 cm] flame retardant millboard covered with not less than No. 28 MSG sheet steel, 0.015″ [0.04 cm] stainless steel, or 0.024″ [0.06 cm] aluminum or 0.020″ [0.05 cm] copper)
D. 13″ (33 cm) recommended upper cabinet depth
E. 2″ (5.1 cm)
F. 203/8″ (51.8 cm)
G. 18″ (45.7 cm) minimum clearance from upper cabinet to countertop within minimum horizontal clearances to cooktop
H. Junction box or outlet; 12″ (30.5 cm) minimum from bottom of countertop
I. Junction box or outlet; 10″ (25.4 cm) from right side of cabinet
J. 145/8″ (37.2 cm)
K. 1″ (2.5 cm) minimum distance to nearest left and right side combustible surface above cooktop
L. 11/2″ (3.8 cm) maximum counter thickness. See the following illustration.
M. 1″ (2.5 cm) minimum clearance between back wall and countertop
NOTES: After making the countertop cutout, some installations may require notching down the base cabinet side walls to clear the burner box. To avoid this modification, use a base cabinet with side walls wider than the cutout. If cabinet has a drawer, a 3″ (7.6 cm) depth clearance from the countertop to the top of the drawer (or other obstruction) in base cabinet is required.
A. 11/16″ (1.7 cm) minimum
B. 11/2″ (3.8 cm) maximum
Electrical Requirements
![]()
![]()
Electrical Shock Hazard
Disconnect power before servicing.
Use 12 gauge copper wire.
Electrically ground cooktop.
Failure to follow these instructions can result in death, fire, or electrical shock.
If codes permit and a separate ground wire is used, it is recommended that a qualified electrical installer determine that the ground path and wire gauge are in accordance with local codes. Check with a qualified electrical installer if you are not sure the oven is properly grounded. Make sure that the electrical connection and wire size are adequate and in conformance with the National Electrical Code, ANSI/NFPA 70-latest edition or CSA Standards C22.1-94, Canadian Electrical Code, Part 1 and C22.2 No. O-M91-latest edition, and all local codes and ordinances. A copy of the above code standards can be obtained from:
National Fire Protection Association
1 Batterymarch Park
Quincy, MA 02169-7471
CSA International
8501 East Pleasant Valley Road
Cleveland, Ohio 44131-5575
Before You Make the Electrical Connection:
To properly install your cooktop, you must determine the type of electrical connection you will be using and follow the instructions provided for it here.
- A 4-wire or 3-wire, single phase, 240 V, 60 Hz, AC only electrical supply is required on a separate, 20 A circuit, fused on both sides of the line. The model/serial/rating plate is located on the bottom of the burner box underneath the cooktop.
- Cooktops with 3-wire cable coming from the cooktop are rated 240 V and do not have a neutral (white) wire.
- This model requires a 20 A circuit.
- The cooktop should be connected directly to the junction box through flexible, armored or nonmetallic sheathed, copper cable. The flexible, armored cable extending from the fuse box or circuit breaker box should be connected directly to the junction box.
- Locate the junction box to allow as much slack as possible between the junction box and the cooktop so that the cooktop can be moved if servicing becomes necessary in the future.
- Do not cut the conduit. The length of conduit provided is for serviceability of the cooktop.
- A UL listed or CSA approved conduit connector must be provided at each end of the power supply cable (at the cooktop and at the junction box). A listed conduit connector is already provided at the cooktop.
- If the house has aluminum wiring, follow the procedure below: Connect the aluminum wiring using special connectors and/or tools designed and UL listed for joining copper to aluminum. Follow the electrical connector manufacturer’s recommended procedure. Aluminum/copper connection must conform with local codes and industry accepted wiring practices.
INSTALLATION INSTRUCTIONS
Prepare Cooktop for Installation
![]()
Excessive Weight Hazard
Use two or more people to move and install cooktop.
Failure to do so can result in back or other injury.
- Decide on the final location for the cooktop.
- Using 2 or more people, place the cooktop upside down on a covered surface. Clean along the outside surface of the cooktop where the foam strip will be applied.
- Remove foam strip from package containing literature. Remove backing from foam strip. Apply foam strip adhesiveside down around bottom of cooktop, flush with edge.
NOTE: The foam strip helps keep the underside of the cooktop glass free from debris and helps the cooktop sit flat on uneven counters.
Install Cooktop
Style 1: Cooktop over undercounter built-in oven
IMPORTANT: Clamp brackets should not be used.
- Using 2 or more people, turn cooktop right side up.
- Place cooktop in cutout.
NOTE: Make sure that the front edge of the cooktop is parallel to the front edge of the countertop. If repositioning is needed, lift entire cooktop up from cutout to avoid scratching the countertop.
Style 2: Cooktop over cabinets
- Determine whether your cabinet construction provides clearance for installing clamp brackets at cooktop base ends. This is the recommended location. Clamp brackets can be installed on the front and back of cooktop base bottom, if necessary.

A. Attachment screw holes for optional front and back location
B. Clamp bracket (end locations recommended)C. Cooktop base bottom
D. Attachment screw - The clamp brackets can be installed before or after the cooktop is placed into the cutout. Complete the following steps for the option you choose.
Installing Brackets Before Placing Cooktop in Cutout
- Remove the attachment screws for the selected bracket locations from the bottom of the cooktop base.
- Select bracket mounting holes that will allow the bracket to extend far enough out from the cooktop for the installation of 21/2″ (6.4 cm) clamping screws. See “Attach Cooktop to Countertop” section for illustration of clamping screw installation.

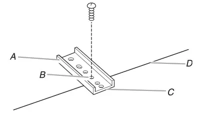
A. Clamp bracket
B. Recommended attachment screw locationC. Clamping screw location
D. Edge of cooktop base bottom - Attach brackets to bottom of cooktop base with bracket attachment screws using the bracket mounting holes selected in Step 2.
- Rotate brackets so they do not extend beyond edge of cooktop base.
- Tighten screws just enough to hold brackets in place when cooktop is put in cutout.
- Turn the cooktop right side up, and place in cutout.
NOTE: Make sure that the front edge of the cooktop is parallel to the front edge of the countertop. If repositioning is needed, lift entire cooktop up from cutout to avoid scratching the countertop. - Loosen the screws, and rotate the brackets so that they are perpendicular to the edge of the cooktop base and extend beyond its edge. Securely tighten screws.
Installing Brackets After Placing Cooktop in Cutout
- Using 2 or more people, place cooktop in cutout.
NOTE: Make sure that the front edge of the cooktop is parallel to the front edge of the countertop. If repositioning is needed, lift entire cooktop up from cutout to avoid scratching the countertop. - Remove the attachment screws for the selected bracket locations from the bottom of the cooktop base.
- Select bracket mounting holes that will allow the bracket to extend far enough out from the cooktop for the installation of 21/2″ (6.4 cm) clamping screws.

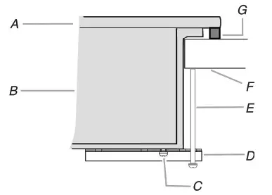
A. Glass cooktop
B. Cooktop base
C. Attachment screw
D. Clamp bracket (extends far enough beyond cooktop
base to allow installation of clamping screws)E. 2 1/2″ (6.4 cm) clamping screw (to be installed
in “Attach Cooktop to Countertop” section)
F. Countertop
G. Foam seal - Attach brackets to bottom of cooktop base with bracket attachment screws using the bracket mounting holes selected in Step 3. Securely tighten screws.
Make Electrical Connection
![]()
![]()
Electrical Shock Hazard
Disconnect power before servicing.
Use 12 gauge copper wire.
Electrically ground cooktop.
Failure to follow these instructions can result in death, fire, or electrical shock.
This cooktop is manufactured with a frame-connected, green or bare ground wire. Connect the cooktop cable to the junction box through the UL listed or CSA approved conduit connector.
- Disconnect power.
- Remove junction box cover, if present.
- Connect the flexible cable conduit from the cooktop to the junction box using a UL listed or CSA approved conduit connector.
- Tighten screws on conduit connector, if present.
- See “Electrical Connection Options Chart” to complete installation for your type of electrical connection.
Electrical Connection Options Chart
For cooktops with a 4-wire cable:
| If your home has: | If your cooktop has: | Go to section: |
| 4-Wire Cable from Home Power Supply to 4-Wire Cable from Cooktop | ||
| 4-Wire Cable from Home Power Supply to 3-Wire Cable from Cooktop |
For cooktops with a 3-wire cable:
| If your home has: | If your cooktop has: | Go to section: |
| 3-Wire Cable from Home Power Supply to 4-Wire Cable from Cooktop | ||
| 3-Wire Cable from Home Power Supply to 3-Wire Cable from Cooktop |
4-Wire Cable from Home Power Supply to 4-Wire Cable from Cooktop
IMPORTANT: Use the 4-wire cable from home power supply in the U.S. where local codes do not allow grounding through neutral, new branch circuit installations (1996 NEC), mobile homes and recreational vehicles, new construction, and in Canada.
4-Wire Cable from Home Power Supply to 4-Wire Cable from Cooktop
IMPORTANT: Use the 4-wire cable from home power supply in the U.S. where local codes do not allow grounding through neutral, new branch circuit installations (1996 NEC), mobile homes and recreational vehicles, new construction, and in Canada.

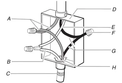
| A. Cable from power supply B. Black wires C. Bare or green wires D. 4-wire cable from cooktop E. Junction box | F. White wires G. UL listed wire connector H. Red wires I. UL listed or CSA approved conduit connector |
- Connect the 2 black wires together using the UL listed wire connectors.
- Connect the 2 red wires together using the UL listed wire connectors.
- Connect the 2 white wires together using the UL listed wire connectors.
- Connect the green or bare ground wire from the cooktop cable to the green or bare ground wire (in the junction box) using the UL listed wire connectors.
- Install junction box cover.
3-Wire Cable from Home Power Supply to 4-Wire Cable from Cooktop – U.S. Only
IMPORTANT: Use the 3-wire cable from power supply where local codes permit connecting the frame-ground conductor to the neutral (white) junction box wire.
| A. Cable from power supply B. Red wires C. Bare or green wires D. 4-wire cable from cooktop E. Junction box | F. White wire G. UL listed wire connector H. Black wires I. UL listed or CSA approved conduit connector |
- Connect the 2 black wires together using the UL listed wire connectors.
- Connect the 2 red wires together using the UL listed wire connectors.
- Connect the green or bare and white cooktop cable wires to the white (neutral) wire in the junction box using the UL listed wire connectors.
- Install junction box cover.
4-Wire Cable from Home Power Supply to 3-Wire Cable from Cooktop
IMPORTANT: Use the 4-wire cable from home power supply in the U.S. where local codes do not allow grounding through neutral, new branch circuit installations (1996 NEC), mobile homes and recreational vehicles, new construction, and in Canada.

| A. Red wires B. Green or bare ground wire (from cooktop) C. 3-wire cable from cooktop D. Junction box | E. White wire (from power supply) F. UL listed wire connector G. Black wires H. UL listed or CSA approved conduit connector |
- Connect the 2 black wires together using the UL listed wire connectors.
- Connect the 2 red wires together using the UL listed wire connectors.
- Connect the green or bare ground wire from the cooktop cable to the green or bare ground wire (in the junction box) using the UL listed wire connectors.
- Put a UL listed wire connector on the end of the white wire.
NOTE: Do not connect the bare ground wire to the neutral white) wire in the junction box. - Install junction box cover.
3-Wire Cable from Power Supply to 3-Wire Cable from Cooktop – U.S. Only
IMPORTANT: Use the 3-wire cable from power supply where local codes permit connecting the frame-ground conductor to the neutral (white) junction box wire.

| A. Red wires B. Bare or green wire from cooktop C. 3-wire cable (from cooktop) D. Junction box | E. White wire (from power supply) F. UL listed wire connector G. Black wires H. UL listed or CSA approved conduit connecto |
- Connect the 2 black wires together using the UL listed wire connectors.
- Connect the 2 red wires together using the UL listed wire connectors.
- Connect the green or bare cooktop cable wires to the white (neutral) wire in the junction box using the UL listed wire connectors.
- Install junction box cover.
Attach Cooktop to Countertop
NOTE: This section applies only if you are using clamping brackets.
| A. Glass cooktop B. Cooktop base C. Attachment screw D. Clamping bracket (extends far enough beyond cooktop base to allow installation of clamping screws) | E. 2 ½” (6.4 cm) clamping screw F. Countertop G. Foam sea |
Complete Installation
- Check that all parts are now installed. If there is an extra part, go back through the steps to see which step was skipped.
- heck that you have all your tools.
- Dispose of/recycle all packaging materials.
- Use a mild solution of liquid household cleaner and warm water to clean cooktop before use. Dry thoroughly with a soft cloth. For more information, see the “Cooktop Care” section of the Use and Care Guide.
- Read “Cooktop Use” section in the cooktop Use and Care Guide.
- Reconnect power.
NOTE: If the cooktop does not work after turning on the power, heck that a circuit breaker has not tripped or a household fuse has not blown. See “Troubleshooting” section in the Use and Care Guide for further information.
If you need assistance or service:
Please reference the “Assistance or Service” section of the Use and Care Guide or contact the dealer from whom you purchased your cooktop.
©2021 All rights reserved. Used under license in Canada.
Tous droits réservés. Utilisé sous licence au Canada.
W10841974C





















