DozzyCozy AirCozy Interactive Smart Pillow

Tips for first-time users
- AirCozy smart pillow is a product everyone dreams of but never actually One of a kind, AirCozy provides the most ergonomic height for healthy sleep whether you sleep on your back or on your side. Using a pillow that is too high for sleeping on your back and too low for sleeping on your side can cause damage to the flexibility of your shoulders, neck, arm and back.
- It is common for some first-time users may not use to the new invented pillow when sleeping on their back or side because they are not yet used to the pillow height of intelligent ergonomics features of this
- The Product provides suitable for personal physiology needs and comfort, or when you want to change the pillow height due to physiological condition at the time, you can adjust the back sleeping knob located at the bottom cover of the main unit and the side sleeping knob located next to fine-tune the height (refer to section 7 on the user manual for instruction).
- Please read the above information carefully to help you adapt quickly to AirCozy’s unique functions and design, giving you the best quality of sleep and assurance of
AirCozy smart pillow interactively and automatically adjusts its height according to your sleeping position. During adjustment, the pillow will make some slight sound, which is perfectly normal (note: the sound will vary depending on the individual). For light sleepers or those who do not sleep well, the AirCozy Premium is recommended as it has a built-in sleep hypnosis function. You may choose white noise or Bluetooth music to increase your deep sleep time and improve your sleep quality
Accessories (refer to diagram of accessories)
- Pillow: Includes (Place A3 memory foam, A4 elastic pad and A5 main unit in A2 inner pillow case first, and then place A2 inner pillow case in A1 washable pillow case):
- Washable pillow case
- Inner pillow case
- Memory foam
- Elastic pad
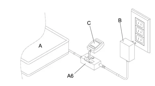
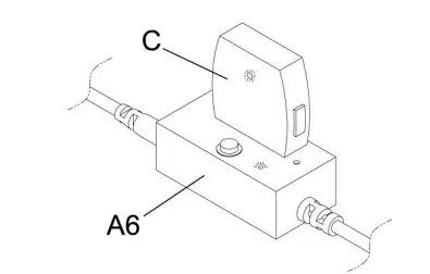
- Main unit (A6 power management box is connected to back of main unit)
- Adaptor
- AirCozy Semi-wearable device
- Rear bumper (※Optional; sold separately)
- AirCozy Remote (※this is not included in AirCozy Classic_N_VA)
- Belt (※Optional; sold separately)
- Short pajamas pants (with a tiny pocket for semi-wearable device)
- Long pajamas pants (with a tiny pocket for semi-wearable device)
Product model description
| Differences in function | AirCozy Classic_N_VA | AirCozy Premium_N_VA |
| Responsively and automatically adjusting in height lifting/dropping | ✔ | ✔ |
| Remote (includes Bluetooth music playback, timer, white noise, and etc.) | ✘ | ✔ |
Diagram of accessories
Setting up & precautions
- Insert B adaptor plug into your wall power outlets at home. Connect B adaptor’s circular connector to A6 power management box’s socket, and then place C Semi-wearable device on A6 power management box to charge

- Place A pillow’s outlet next to the
- If user’s headboard has a protruding cushion, the D rear bumper (Optional; sold separately) should be placed between the A pillow and headboard to prevent the A pillow from rubbing against the headboard, affecting the height lifting/dropping If user’s headboard does not have a protruding cushion, the D rear bumper does not need to be used.

- Before using AirCozy for the first time, place C semi-wearable device on A6 power management box to It should be in charging mode all the time when not using it. After it is fully charged, the green indicator light on the semi-wearable device will stop flashing (It is recommended to charge every day).
- Press the circular button on the side of the A6 power management box’s charger to turn on or off the adaptor for the On/off status is shown by indicator light; the blue LED indicates that the power is on and when the LED indicator light is off indicating that the power is off.
- Once the B adaptor is connected, pressing the A6 power management box’s button to turn off the power. By turning the power off here will not affect the charging function
- management box, C semi-wearable device and E Pairing had been done before.
- The A pillow detects sleeping position using the C semi-wearable device worn by the When a person sleeps on his/her back, the A pillow will automatically adjust to a height suitable for back sleeping; when a person sleeps on his/her side, the A pillow will automatically adjust to a height suitable for side sleeping.
Going to sleep
- Insert B adaptor plug into your wall power outlets at home. Connect B adaptor’s circular connector to A6 power management box’s socket, and then place C Semi-wearable device on A6 power management box to charge
Going to sleep
- Press the circular button on the A6 power management box and the button on the C semi-wearable device to turn on power for the A pillow and C semi-wearable device, and get them into standby
- Ways to wear the C semi-wearable device (note: select an option depending on your need; the button on C semi-wearable device must be pointed toward your head) :
- Place on the F belt (Optional; sold separately): Place the C semi-wearable device in the specially designed pocket on the F belt, adjust the F belt’s tightness, and wear it comfortably around your waist.

- Place on G short pajamas pants (or H long pajamas pants) provided: Put on the G short pajamas pants (or H long pajamas pants) as needed and place the C semi-wearable device in the specially designed pocket at the front of the pants.

- Before each use, it is recommended to lie down on your back after wearing the C semi-wearable device correctly. Place the C semi-wearable device against your body and as near the midline of your body as possible for correct sleeping position detection. The button on the C semi-wearable device must be pointing at your head. Press and hold the button for one second; when you hear two beeps, the C semi-wearable device has done the horizontal calibration.

- After completing calibration for the C semi-wearable device, you can now enjoy the smart body-responsive auto-adjustable
- When you are sleeping on your back, the A pillow will automatically drop its height; and when you are sleeping on your side, the A pillow will automatically lift its height
- Place on the F belt (Optional; sold separately): Place the C semi-wearable device in the specially designed pocket on the F belt, adjust the F belt’s tightness, and wear it comfortably around your waist.
AirCozy Semi-wearable device
- The C semi-wearable device has a sleeping position detection It takes 4~10 seconds for detection to complete before the pillow starts to adjust to an appropriate height.
- Every time you get out of bed, you should press the circular button on A6 power management box to turn power off for the A You do not need to turn the C semi-wearable device power off instead just place the C semi-wearable device on the A6 power management box to charge.

- The C semi-wearable device battery can last for 3 ~ 4 days once it is fully
- The green LED blinks when When it is fully charged, the LED indicator will be off automatically (note: it is normal for the green LED indicator to blink intermittently).
- Charging indicator: Red lightWhen using for the first time or when the LED indicator is completely off, the battery is completely drained and the semi-wearable device will be automatically turned When this happens, charging the C semi-wearable device will not make the green LED indicator to blink and the semi-wearable device can be turned on after approximately 2~4 hours of charging it.
- The green LED blinks when When it is fully charged, the LED indicator will be off automatically (note: it is normal for the green LED indicator to blink intermittently).
- Functions of C semi-wearable device’s button
- Turn on: Press and hold for 2 seconds until green LED indicator is on, and then blue LED indicator will pulsate
- Turn off: Press and hold for 2 seconds until green LED indicator is on, and release the
- Horizontal Calibration: Refer to 3.
AirCozy Remote (not included in AirCozy Classic)

- Multifunction button:
E1 Power button: Press and hold for 2 seconds to turn on or off the remote- On/off mode: Press and hold for 2 When blue LED indicator is on, release hold to turn power on (note: if you do not release your hold when blue LED indicator is on, it will enter the pairing mode).
- Power-saving mode: If you do not use the remote for 30 seconds, it enters the power-saving mode and all indicator lights will be off (note: when this happens, the remote will not be able to function until you wake it up again).
- Wake-up mode: Press the power button shortly again to display all the LED indicator lights to show the status of functions buttons (note: the remote is on and functional).
- [ AirCozy Premium ] functions:
- E2 Mobile phone Bluetooth music button: (this function is not available for AirCozy Classic)
- Start Bluetooth function using E remote (note: press E2 mobile phone Bluetooth music button);
- Search “AirCozy Music” in mobile phone for Bluetooth connection;
- Start playing your favorite music.
- E3 Timer button: Press timer cycle setting; choose from 30 minutes, 1 hour, 2 hours or 3
- E4, E5 Volume button: “-” is for decreasing sound volume and “+” is for increasing sound volume; you may use short or long button
- E6 Height of side-sleeping fine-tune button: If you want to slightly increase the lifting height of the pillow, you can press this button to slightly increase the lifting height of the A
- E7 White noise button: The A pillow provides five types of nature sounds for sleep The different nature sounds can be changed and selected with button press. There are five nature sounds in a loop and pressing the sixth time will turn off the function of white noise.
- E2 Mobile phone Bluetooth music button: (this function is not available for AirCozy Classic)
Resetting pairing for Semi-wearable device & remote
- Bluetooth pairing has been done before; reconnecting is automatic after changing battery or turning on and
- Resetting pairing for semi-wearable device and remote:
(note: Only one device can be paired each time; the same steps must be repeated to pair the next device):- First of all, to use a SIM card ejector pin or similar sharp object to press the small hole in the A6 power management When you hear the beep sound, you can begin the pairing progress.
- Afterwards, long press the C semi-wearable device button until the C semi-wearable device’s blue LED indicator light blinks quickly and then you will hear a long deep Pairing is completed when C semi-wearable device’s blue LED indicator light turn to blink slowly.
- Long press the E remote’s E1 power button until the E remote’s blue LED indicator light blinks. Pairing is completed when you hear a long beep sound
Height adjustment for side/ back sleeping position
- You may set your preferred height for side sleeping position according to the firmness of your Take out the A5 main unit and adjustment handle tool as the following diagram, then turn the two “side-sleeping height adjustment knobs” behind the lower part of the unit to fine tune the pillow’s height for side sleeping. Turning the arrow on the knobs all the way to H increases the height and turning the arrow on the knobs all the way to L decreases the height; but you will not be able to leave the knobs to the position in between H and L.
- You may set your preferred height for back sleeping according to the firmness of your Take out the A5 main unit and adjustment handle tool as the following diagram, then turn the two “back-sleeping height adjustment knobs” behind the upper part of the unit to fine tune the pillow’s height for back sleeping. Tightening the knobs clockwise to H increases the height and tightening the knobs anticlockwise to L to decreases the height.

Disassembling & cleaning
- You may unzip the A1 washable pillow case and remove it to clean
- It is recommended to vacuum-clean the A2 inner pillow case and A3 memory foam, or air dry them in a shady
Troubleshooting
When it is not functioning
- Check if power cable is plugged properly and all switches are
- Check if the pillow will automatically test height adjustment (lifting and dropping the height) at start-up.
- Check if C semi-wearable device is fully
- Check if C semi-wearable device’s power is
- If the pillow is not working, reset and pair the semi-wearable device and remote (note: refer to point 6).
- If all the above do not solve the problem, please contact the seller or our Do not disassemble and repair on your own as this may affect your warranty.
Caution
- The C semi-wearable device is costly, and contains electronic parts and Remember to remove the semi-wearable device when washing the long/short pajamas pants. Do not soak in water or drop it.
- Do not stake, do not soak, and do not toss the pillow’s main Please handle the pillow’s main unit with care as it’s fragile.
- Do not voluntarily pull the cable/wires of the A6 power
- This product has one-year Please contact us should you have any question.
FCC warning
Federal Communications Commission Statement
This device complies with FCC Rules Part 15. Operation is subject to the following two conditions
- This device may not cause harmful
- This device must accept any interference received, including interference that may cause undesired
This equipment has been tested and found to comply with the limits for a class B digital device, pursuant to Part 15 of the Federal Communications Commission (FCC) rules. These limits are designed to provide reasonable protection against harmful interference in a residential installation. This equipment generates, uses, and can
radiate radio frequency energy and, if not installed and used in accordance with the instructions, may cause harmful interference to radio communications. However, there is no guarantee that interference will not occur in a particular installation. If this equipment causes harmful interference to radio or television reception, which can be determined by turning the equipment off and on, the user is encouraged to try to correct the interference by doing one or more of the following measures:
- Reorient or relocate the receiving
- Increase the separation between the equipment and
- Connect the equipment into an outlet on a circuit different from that to which the receiver is
- Consult the dealer or an experienced radio/TV technician for
FCC Caution
Any changes or modifications not expressly approved by the party responsible for compliance could void the user‘s authority to operate the equipment.
The antenna(s) used for this transmitter must not be co-located or operating in conjunction with any other antenna or transmitter.
Radiation Exposure Statement:
This equipment complies with FCC radiation exposure limits set forth for an uncontrolled environment. End users must follow the specific operating instructions for satisfying RF exposure compliance. To maintain compliance with FCC exposure compliance requirement, please follow operation instruction as documented in this manual.
Company name: DozzyCozy Technology Co., Ltd.
Address: Unit 15-2, 15th Floor, No. 11, Section 2, Huánnán Road, Pingjhen District,
Taoyuan City, Taiwan, R.O.C (above Bank of Taiwan) Customer service telephone: +886-3-280-5509 #911

Setting up & precautions
























