TRONIC HG09055A-US Magnetic Charging Pad
DESCRIPTION OF SIGNAL WORDS
- WARNING indicates a hazardous situation that, if not avoided, could result in death or serious injury.
- CAUTION indicates a hazardous situation that, if not avoided, could result in minor or moderate injury.
- NOTICE indicates information considered important, but not hazard-related (e.g. messages related to property damage).
CUSTOMER SERVICE
Visit a LIDL store for further assistance. Please have your IAN number ready. Call customer service at 1 (844) 543-5872 Visit the Website Customer Service Platform at www.lidl.com/contact-us
MAGNETIC CHARGING PAD
Introduction
Congratulations on your purchase. You have selected a quality product. The instructions for use are a part of the product. They contain important information about the safety, use, and disposal of the product. Before using the product, please learn about all the safety information and usage instructions. Only use the product as described and for the specified applications. If you lend the product to someone else, please also give all the instructions.
Intended use
The MAGNETIC CHARGING PAD (hereinafter referred to as the “Product“) is an information electronics device. This product is only for charging mobile devices that use wireless technology. Other devices cannot be charged with the product. The product is intended for private use only and not for commercial use. The manufacturer accepts no liability for damage resulting from unauthorised modifications or improper use.
Trademark notices
USB® is a registered trademark of USB Implementers Forum, Inc. The TRONIC trademark and trade name is the property of their respective owners. Any other names and products are trademarks or registered trademarks of their respective owners.
IMPORTANT SAFETY INSTRUCTIONS
READ ALL INSTRUCTIONS. KEEP FOR FUTURE REFERENCE. INCLUDE ALL DOCUMENTATION WHEN PASSING THIS PRODUCT ON TO OTHERS. DANGER TO LIFE AND RISK OF ACCIDENT FOR INFANTS AND CHILDREN!
Risk of suffocation
Never leave children unsupervised with the packaging material. The packaging materials pose a suffocation hazard. Children frequently underestimate the dangers. The packaging materials are not toys. This product is not intended for use by persons (including children) with reduced physical, sensory or mental capabilities, or lack of experience and knowledge unless they have been given supervision or instruction concerning the use of the product by a person responsible for their safety. Children should be supervised to ensure that they do not play with the product.
Risk of property damage
This product does not contain any parts which can be serviced by the user. Keep the product away from moisture, dripping, and splashing water! Do not place burning candles or other open fire on or next to the product. Check the product before every use! Discontinue use if any damage to the product or the charging cable is detected! If you notice smoke or unusual noise or odor, unplug the product immediately and remove the USB cable. Sudden temperature changes may cause condensation inside the product. In this case, allow the product to acclimatize for some time before using it again to prevent short circuits! Do not operate the product near heat sources, e.g. radiators or other devices emitting heat
Warning
Do not try to open the product! It has no internal parts requiring maintenance.
Radio interference
Never use the product on airplanes, in hospitals, in service rooms, or near medical electronic systems. The wireless signals transmitted could impact the functionality of sensitive electronics. Keep the product at least 0.65 ft / 20 cm from pacemakers or implantable cardioverter-defibrillators, as the electromagnetic radiation may impair the functionality of pacemakers. The radio waves transmitted could cause interference in hearing aids. Do not place the product near flammable gases or potentially explosive areas (e.g. paint shops) with the wireless components on, as the radio waves emitted can cause explosions and fire. The range of the radio waves varies by environmental conditions. In the event of wireless data transmission, unauthorized third parties receiving the data cannot be excluded.
Lidl US, LLC is not responsible for interference with radios or televisions due to unauthorized modification of the product. Lidl US, LLC further assumes no liability for using or replacing cables and products not distributed by Lidl US, LLC. The user of the product is fully responsible for correcting interference caused by such unauthorized modifications to the product, as well as the replacement of such products.
Ensure that:
- no direct heat sources (e.g. heating) can affect the product.
- the product is not exposed to bright artificial light.
- any contact with splashed and dripping water and corrosive liquids is avoided and the product is not operated in the vicinity of water.
- In particular, the product should never be submerged in liquid; do not place any vessels filled with liquid, for example, vases or drinks, on or near the product.
- The product is not used in the immediate vicinity of magnetic fields (e.g. speakers).
- no fire sources (e.g.burning candles) are placed on or near the product.
- no foreign objects penetrate the product.
- The product is never subjected to extreme temperature fluctuations as this could result in condensation and electrical short circuits. If the product were subjected to extreme temperature fluctuations, however, wait (2 hours) until the product has reached ambient temperature before use.
- The product is never subjected to excessive shocks and vibrations.
- The connection cables are always laid in such a manner that nobody can step on or trip over them.
- There is a risk of injury. no objects are placed on a connection cable and cables are not connected over sharp edges because this could otherwise damage the functionality of sensitive electronics.
- Changes or modifications to this product not expressly approved by the party responsible for compliance could void the user‘s authority to operate the product.
NOTICE
This product has been tested and complies with the limits for a Class B digital device, pursuant to Part 15 of the FCC Rules. These limits are designed to provide reasonable protection against harmful interference in a residential installation. This product generates, uses, and can radiate radio frequency energy and, if not installed and used in accordance with the instructions, may cause harmful interference to radio communications. However, there is no guarantee that interference will not occur in a particular installation. If this product causes harmful interference to radio or television reception, which can be determined by turning the product off and on, the user is encouraged to try and correct the interference by one or more of the following measures:
- Reorient or relocate the receiving antenna.
- Increase the separation between the product and receiver.
- Connect the equipment to an outlet on a different circuit than the one the receiver is connected to.
- Consult the dealer or an experienced radio / TV technician for help
This product complies with part 15 of the FCC Rules. Operation is subject to the following two conditions: (1) This product may not cause harmful interference, and (2) this product must accept any interference received, including interference that may cause undesired operation. This equipment complies with FCC radiation exposure limits set forth for an uncontrolled environment. This equipment should be installed and operated with a minimum distance of 20cm between the radiator and your body. This transmitter must not be co-located or operating in conjunction with any other antenna or transmitter.
SAVE THESE INSTRUCTIONS
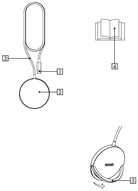
Description of parts
- USB Type C plug
- Charging surface
- USB charging cable
- Instructions for use
- Folding stand
Technical data
- Dimensions: 2 9/16 x 5/16 in (65 x 7.5 mm)
- Weight: 1.7 oz (48 g)
- Operating temperature: 41 – 95°F (5 – 35°C)
- Storage temperature: 32 – 113°F (0 – 45°C)
- Humidity(no condensation): 10 – 70 %
- USB charging cable length: 3.28 ft (1 m)
- Input: 5 V , 2.4 A
- Output: 5 W max.
OR
- Input: 9 V , 2.22 A
- Output: 7.5 W max.
- Total power: 7.5 W max.*
- Frequency band: 110.2-148.8 kHz
- Transmitted maximum radio
- frequency power (H-field): -19.52 dBuA/m at a 10m distance
- Maximum distance between charger and mobile device: 0.2 in (≤ 5 mm)
NOTICE
To achieve the maximum output power of 7.5 W, you must use a USB adapter with an output voltage of 9 V and an output current of at least 2.22 A. Such a USB adapter is not included in the delivery.
The specification and design may be changed without notification.
Scope of delivery
- Magnetic charging pad
- Instructions for use
Before use
Before use, verify the package contents are complete and undamaged! All parts have to be unpacked and the packaging material has to be removed completely. If you notice any damage or missing parts, contact the dealer who sold this product.
Operation
ATTENTION: The product must not be charged to a PC or notebook due to the high power consumption.
Charge your mobile device
- Plug the USB type C plug 1 of the USB charging cable 3 into the USB port on a suitable USB adapter (not included).
- Plug the USB adapter (not included) into an easily accessible mains socket.
- Place the mobile device on the charging surface 2. Make sure the center of the device is aligned with the center of the charging surface. Charging will begin on contact. Protective covers that protect the mobile device may interfere with the charging process. In this case, the mobile device must be removed from the protective cover.

- Put out the folding stand 5 at the back of the product to support the device stand on the stable and horizontal surface
NOTICE
The charging power is up to 7.5 W, depending on the power adapter used.
Troubleshooting
What should I do if the mobile device does not get charged?
Check that the mobile device has wireless charging technology. Check the mobile device is placed horizontally in the center position of the charging area. Check that no foreign object blocking the charging. Check whether the mobile device is removed from the protective cover.
Storage when not in use
Store the product in a dry interior, away from direct sunlight, preferably in its original packaging.
Cleaning
- This product has no internal parts requiring maintenance.
- Moisture entering the product may result in damage.
- Ensure no moisture enters the product during cleaning to prevent damaging the product beyond repair.
- Do not use abrasive, solvent-based, or aggressive cleaners. These can damage the surface of the product
- Only clean the product with a slightly damp cloth and mild washing-up liquid.
Disposal
Dispose of the packaging through your local recycling facilities and in compliance with all federal, state and local regulations. Please note the package markings regarding waste separation, indicated by abbreviations (a) and numbers (b), meaning: 1–7: plastics / 20–22: paper and cardboard / 80–98: composite materials. Contact your local waste management authority for additional information on how to dispose of the used product. To help protect the environment, please dispose of the product properly when it has reached the end of its useful life, do not throw in the garbage. Information on collection sites and their opening hours is available from your local authority
Three-year limited warranty
- What does this warranty cover?
The warranty covers: - Damage, breakage, or inoperability due to defect.
- Damage not caused by normal wear and tear or failure to follow the safety and maintenance instructions provided in the user manual.
What is not covered by the warranty?
The warranty does not cover damage caused by:
- Normal wear and tear of the product, including fragile parts (such as switches, glass, etc.);
- Improper use or transport;
- Disregarding safety and maintenance instructions;
- Accidents or acts of nature (e.g. lightning, fire, water, etc.);
- Tampering with the product (such as removing the cover, unscrewing screws, etc.)
Consequential and incidental damages are also not covered under this warranty. However, some states do not allow the exclusion or limitation of incidental or consequential damages, so this limitation or exclusion may not apply to you.
What is the period of coverage and warranty resolution?
The warranty is for 3 years from the date of purchase. At our discretion, the product will either be refunded or replaced.
What will we not do?
We will not:
- Start a new warranty period upon product exchange;
- Repair product.
How to process the warranty?
To initiate, please:
- Call customer service at 1 (844) 543-5872
- Visit the Website Customer Service Platform at www.lidl.com/contact-us or
- Visit a LIDL store for further assistance
To ensure the quickest warranty return process, please have the following available:
- The original sales receipt that includes the date purchased;
- The product and manual in the original package;
- A statement of the problem.
What must you do to keep the warranty in effect?
- Retain the original receipt;
- Follow all product instructions;
- Do not repair or modify the product.
How does state law relate to this warranty?
This warranty gives you specific legal rights, and you may also have other rights which vary from state to state. All implied warranties are limited by the duration and terms of this warranty. Some states do not allow limitations on how long an implied warranty lasts, so the above limitation may not apply to you.






















