![]()

RLV3120

Non-programmable
Thermostat
Owner’s Manual
Read and save these instructions.
For help please visit resideo.com
Application
This thermostat can be used to control an electric heating system such as a baseboard heater or a convector.
The thermostat CANNOT be used with:
- a resistive load under 0.83 A
- a resistive load over 8.3 A
- a system driven by a contactor or a relay (inductive load)
- a fan-forced heating system (e.g. : fan-forced convector)
- a central heating system.
WARNING Electrical Shock Hazard.
This thermostat is a line voltage control (120-240 Volts). Do not install it if you are not completely familiar with house wiring. If handled improperly, there is risk of electric shock hazard, which may cause serious injury or death.
Do you need assistance? We are here to help.
Call 1-800-468-1502 for wiring assistance before returning the thermostat to the store.

ATTENTION: MERCURY RECYCLING NOTICE
This product does not contain mercury. However, this product may replace a product that contains mercury. Mercury and products containing mercury should not be discarded in household trash.
For more information on how and where to properly recycle a thermostat containing mercury in the United States, please refer to the Thermostat Recycling Corporation at www.thermostat-recycle.org.
For mercury thermostat recycling in Canada, please refer to Switch the Stat at www.switchthestat.ca
SUPPLIED PARTS
- One (1) thermostat
- Two (2) 6-32 mounting screws
- Two (2) solderless connectors
Temperature display and setting

- Appears when the setpoint is displayed
- Temperature display
- Heating intensity indicator
(No image appears when heating is off.)

- Up button
- Down button
The thermostat normally displays the actual (ambient) temperature.
- To view the setpoint temperature, briefly press the Up or Down button. The
setpoint will be displayed for 5 seconds. - To change the setpoint temperature, press the Up or Down button until the desired value is displayed.
Removing the faceplate

WARNING
TURN OFF POWER TO THE HEATING SYSTEM AT THE MAIN POWER PANEL TO AVOID ELECTRIC SHOCK.
Loosen the screw holding the faceplate to the base. The screw cannot be completely removed and remains captive on the base. Remove the faceplate from the base by pulling the bottom half.
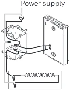
Wiring
Connect either one of the thermostat wires to the heater wire and the other one to the power supply wire using solderless connectors for copper wires.
NOTE: All cables and connections must conform to the local electrical code. Special CO/ALR solderless connectors must be used when connecting with aluminium conductors.

2-wire Installation

4-wire Installation*
* Verify this complies with local code.
Installing the faceplate


Install the base onto an electrical box.
Reinstall the faceplate on the base and secure it in place with the screw.
NOTE: Keep the air vents of thermostat clean and unobstructed at all times.

Selecting the temperature display format
To select the temperature display format:
- Press the Up and Down buttons for three seconds. The format currently used will be indicated on the screen.
- Press the Up or Down button to change the format.
- Press the Up and Down buttons for one second (or wait for one minute) to return to the normal display.
Troubleshooting
| Problem | Solution(s) |
| Thermostat is hot. | Under normal operation, the thermostat housing can reach a temperature between 35 °C (95 °F) and 40 °C (104 °F). |
| Displayed temperature is wrong. | Remediate if any the following conditions exists: • The thermostat is exposed to air draft. • The sticker on the thermostat’s screen has not been removed. • The thermostat is located near or above a heat source such as a light dimmer. |
| Display disappears and reappears after a few minutes. | The thermal protection device on the heater has temporarily opened. This can happen if the heater is obstructed by furniture or curtain and has overheated, or if the heater’s thermal protection device is too sensitive. |
Specifications
Supply: 120/240 VAC, 60 Hz
Minimum load: 0.83 A (resistive only)
200 W @ 240 V AC
100 W @ 120 V AC
Maximum load: 8.3 A (resistive only)
2000 W @ 240 VAC
1000 W @ 120 VAC
Display range: 0 °C to 50 °C (32 °F to 99 °F)
Setpoint range: 5 °C to 30 °C (40 °F to 85 °F)
Storage: -20 °C to 50 °C (-4 °F to 120 °F)
Permanent memory: You do not need to adjust the temperature following a power outage.
ICES-003 Class B Notice:
This Class B digital apparatus complies with Canadian ICES-3.
CAUTION: ELECTRONIC WASTE NOTICE
The product should not be disposed of with other household waste. Check for the nearest authorized collection centers or authorized recyclers. The correct disposal of end-of-life equipment will help prevent negative consequences for the environment and human health.

273699 Energy Verified Only
1-year limited warranty
Resideo warrants this product to be free from defects in workmanship or materials, under normal use and service, for a period of one (1) year from the date of first purchase by the original purchaser. If at any time during the warranty period the product is determined to be defective due to workmanship or materials, Resideo shall repair or replace it (at Resideo’s option).
If the product is defective,
(i) return it, with a bill of sale or other dated proof of purchase, to the place from which you purchased it; or
(ii) call Resideo Customer Care at 1-800-468-1502. Customer Care will make the determination whether the product should be returned to the following address: Resideo Return Goods, 1985 Douglas Dr. N., Golden Valley, MN 55422, or whether a replacement product can be sent to you.
This warranty does not cover removal or reinstallation costs. This warranty shall not apply if it is shown by Resideo that the defect was caused by damage which occurred while the product was in the possession of a consumer.
Resideo’s sole responsibility shall be to repair or replace the product within the terms stated above. RESIDEO SHALL NOT BE LIABLE FOR ANY LOSS OR DAMAGE OF ANY KIND, INCLUDING ANY INCIDENTAL OR CONSEQUENTIAL DAMAGES RESULTING, DIRECTLY OR INDIRECTLY, FROM ANY BREACH OF ANY WARRANTY, EXPRESS OR IMPLIED, OR ANY OTHER FAILURE OF THIS PRODUCT.
Some states do not allow the exclusion or limitation of incidental or consequential damages, so this limitation may not apply to you.
THIS WARRANTY IS THE ONLY EXPRESS WARRANTY RESIDEO MAKES ON THIS PRODUCT. THE DURATION OF ANY IMPLIED WARRANTIES, INCLUDING THE WARRANTIES OF MERCHANTABILITY AND FITNESS FOR A PARTICULAR PURPOSE, IS HEREBY LIMITED TO THE ONE YEAR DURATION OF THIS WARRANTY. Some states do not allow limitations on how long an implied warranty lasts, so the above limitation may not apply to you.
This warranty gives you specific legal rights, and you may have other rights which vary from state to state. If you have any questions concerning this warranty, please write Resideo Customer Care, 1985 Douglas Dr, Golden Valley, MN 55422 or call 1-800-468-1502.

Resideo Technologies, Inc.
1985 Douglas Drive North, Golden Valley, MN 55422
1-800-633-3991
33-00149EF–07 M.S. Rev. 01-21 | Printed in United States
www.resideo.com

© 2021 Resideo Technologies, Inc. All rights reserved.
The Honeywell Home trademark is used under license from Honeywell International, Inc. This product is manufactured by Resideo Technologies, Inc. and its affiliates.




















