
ALRMMW2OWT
Motion alarm with chime


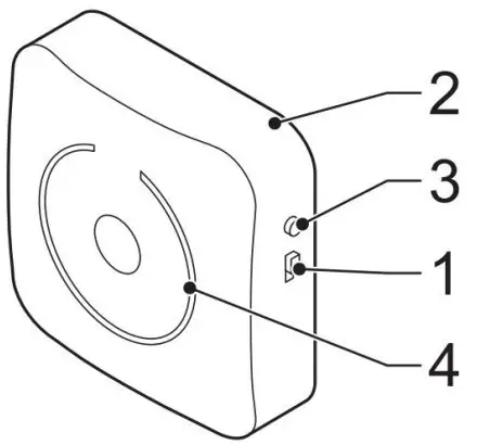
| 1. On/off button | • Use the button to switch on or off the device. |
|
2. Code button | Install the batteries. Press and release the button to enter the code learning mode. To pair the device with the transmitter, put the batteries in the transmitter. The device automatically detects the signal of the transmitter. The device gives a ‘ding dong’ sound and the blue light flashes several times to indicate that the pairing was successful. To clear the code, press and hold the code button, switch on the device, put in the batteries, and release the button. |
| 3. Ringtone button | Press the button to select a ringtone. After the device has been switched off, the default ringtone is set. |
| 4. 1ndicator light | The light is flashing: The transmitter has detected motion. The light is on: The batteries are low. Charge the batteries. |
| 5. Transmitter | The device has a wireless connection to the transmitter. Install the transmitter indoor, on a balcony or in the garage. Do not install the transmitter in places that have direct or reflect sunlight. |
| 6. Motion sensor (transmitter) | When the infrared motion sensor detects movement in the induction area, an alarm signal sounds, and an alarm light flashes. The transmitter sends signals to the receiver. The sensor has a coverage of 90°-110° angle and a distance of4-8m, depending on environmental conditions. |
| 7. 1ndicator light (transmitter) | The blue light flashes:The sensor detects motion. The blue light is on: The voltage is too low. Charge the battery. |
Safety
General safety
- Read the manual carefully before Keep the manual for future reference.
- The manufacturer is not liable for consequential damages or for damages to property or persons caused by non-observance of the safety instructions and improper use of the
- Only use the device for Its intended Do not use the device for other purposes than described in the manual.
- Do not use the device if any part is damaged or If the device is damaged or defective, replace the device immediately.
- The device is suitable for indoor use Do not use the device outdoors.
The device is suitable for domestic use only. Do not use the device for commercial purposes.
Do not use the device in locations with high humidity, such as bathrooms and swimming pools. Do not use the device near bathtubs, showers, basins, or other vessels containing water.
Do not use a timer or a separate remote-control system that switches on the device automatically. Do not cover the device.
- Place the device on a stable, flat
- Keep the device away from flammable
Battery safety
- Use only the batteries mentioned in the
- Do not use old and new batteries
- Do not use batteries of different types of
- Do not install batteries in reverse
- Do not short-circuit or disassemble the Do not expose the batteries to water.
Do not expose the batteries to fire or excessive heat.
Batteries are prone to leakage when fully discharged. To avoid damage to the product, remove the batteries when leaving the product unattended for longer periods of time.
If the liquid from the batteries comes into contact with skin or clothing, immediately rinse with fresh water.
Support
If you need further help or have comments or suggestions, please visit www.nedis.com/support



















