
OPERATING AND MAINTENANCE
MANUAL

GRILLERS / TOASTERS
INTRODUCTION
- This manual is meant to provide customers with information on the machine and its specifications and the necessary operating and maintenance instructions in order to guarantee the best possible use of the machine and preserve its efficiency in the long term.
- This manual is to be used by qualified and skilled people well-informed about the use of the machine and its periodical maintenance.
DESCRIPTION OF THE MACHINE
General description
Our firm has designed and manufactured the GRILLERS and TOASTERS to cook, heat, toast, grill foostuffs (as fish, meat, vegetables, etc.) and to guarantee:
- the highest degree of safety in functioning, cleaning, and maintenance;
- the highest hygienic standard due to an accurate choice of materials which come into contact with the foodstuffs;
- the lowest loss of heat produced by the resistances;
- solidity and stability of all the elements;
- great handiness.
Manufacturing features
The TOASTERS are completely made of stainless steel AISI 430. This material guarantees the contact with the food (hygienic) and high resistance to acids, salts, and oxidation processes. The structure of the GRILLERS DOPPIA R-M-L; MEDIA R-L; SINGOLA R-L is made of stainless steel AISI 430 and the cooking gridiron is made of a special cast iron treated with verified food enamel, this guarantees hygienic conditions and high resistance to acids, salts and oxidation processes. The structure of the DOPPIA X and the MEDIA X is made of stainless steel AISI 430 and the cooking grid is made of stainless steel AISI 304.
Machine components
FIG. n°1 – General view of the machine

LEGEND:
GRILLERS
| 1 Lower cooking gridirion 2 Thermostat 3 Functioning pilot lamp | 4 Feet 5 Collecting tray for gravy 6 Upper cooking grid |

LEGEND:
TOASTERS
| 1 Frame 2 Upper cover 3 Timer | 4 Feet 5 Grid 6 Pliers 7 Crumb collecting tray |
CHAP. 2 – TECHNICAL DATA
OVERALL DIMENSIONS, WEIGHT, CHARASTERISTICS... FIG. n°
2a – Overall dimensions drawing – Grillers

| Models | U.m. | SINGOLA Ø 170 cr | pes MEDIA MEDIACRÊPES | DOPPIA DOPPIA-C | DOPPIA-TOP |
| A x B | mm | 215×275 | 340×275 | 475×275 | 475×275 |
| CxDxE | mm | 260x435x235 | 380x435x235 | 515x435x235 | 515x435x170 |
| F | mm | 500 | 500 | 500 | – |
| Cooking space dimension | mm | 250×255 | 355×255 | 500×255 | 500×255 |
| Supply | 230V / 50-60Hz 115V / 50-60Hz | 230V / 50-60Hz 230-400V / TF+N 50-60Hz | |||
| Power | W W | 1550 USA 1700 | 2100 USA 1700 | 3000 USA 3000 | 1800 USA 1600 |
| Plug USA plug | Shuko Nema 5 – 20A | Shuko Nema 5 – 20A | IEC 309 – 16A E+N+T Nema 6 – 20A | IEC 309 – 16A E+N+T Nema 6 – 20A | |
| Net weight | Kg | 15 | 21 | 31 | 18 |
TAB. n°1 – Overall dimensions and technical features of the GRILLERS.
FIG. n°2b – Overall dimensions drawing -Toasters

| Models | U.m. | 4 TQ | 6 TQ | 6 TC | 12 TQ | 12 TC | TQ BIG |
| A | mm | 360 | 475 | 475 | 475 | 475 | 525 |
| B | mm | 265 | 265 | 265 | 265 | 265 | 380 |
| C | mm | 410 | 410 | 410 | 410 | 410 | 392 |
| D | mm | 240 | 240 | 240 | 365 | 365 | 365 |
| Number of toasts | n° | 4 | 6 | 6 | 12 | 12 | 12 |
| Supply | 230V/50Hz | ||||||
| Power | kk | 1600 | 2400 2800 | 2900 | 3000 3600 | 4350 | 3600 |
| Net weight | Kg | 6,5 | 7 | 7 | 8 | 8 | 12 |
TAB. n°2 – Overall dimensions and technical features of the TOASTERS.
WARNING: The electrical characteristics for which the appliance is designed are indicated on the reference plate applied on the side of the machine; before connecting to power supply, please read paragraph 4.2.
CHAP. 3 – THE ARRIVAL OF THE MACHINE
DESPATCH OF THE MACHINE (see FIG. n°3)
The GRILLERS and the TOASTERS are accurately packed and then despatched from our warehouse.
The package of the grillers includes:
a) a strong card box + inside protections;
b) the machine;
c) this manuall;
d) scraper or brush
f) in accordance with the model;
e) EC conformity declaration.
The package of the toasters includes:
a) a strong card box + inside protections;
b) the machine;
c) this manual;
g) the pilers;
h) the protective grids.
e) EC conformity declaration;

FIG. n°3 – Package description
PACKAGE CHECK UPON RECEIPT
If no external damage is evident on the package upon its arrival, open it and check that all the components are inside (see FIG. n°3). If the package has suffered rough handling, bumps, or crashes, the carrier must be informed about any damage; moreover, a detailed report on the extent of the damage caused to the machine must be filled within three days from the delivery date shown in the shipping documents. Do not overturn the package!! When the package is transported, make sure the box is lifted by the 4 corners (parallel to the ground).
PACKAGING DISPOSAL
The components of the packaging (cardboard, eventual pallets, plastic straps, and polyurethane) are urban solid waste; therefore they can be easily disposed. If the machine has to be installed in countries where specific regulations are in force, packaging must be disposed in compliance with them.
CHAP. 4 – INSTALLATION
SETTING UP OF THE MACHINE
The machine must be installed on a working table suitable for its overall dimensions shown in Tab. 1-2, therefore it must be adequately large, well leveled, dry, smooth, resistant, stable, and placed at a height of 80 cm from the ground. Moreover, the machine must be installed in a room with max. 75% not saline humidity at a temperature between +5°C and +35°C; that is to say in a place that does not provoke the machine failure.
ELECTRICAL CONNECTIONS
The machine is equipped with a power supply cord which section is adequate to the absorb power and a plug. To connect the machine, follow the indication of the rating plate – serial number (see FIG. n°4). Check that the earthing is fully operational. Moreover check that the features on the rating plate – serial number (see FIG. n°4) correspond to the features shown in the consignment and delivery note and that the disconnecting plug and the socket are easy to reach when the machine is functioning.
![]() | LEGEND (A) = Product code and name (B) = Power supply (C) = Motor frequency (D) = Amperage (E) = Serial number (F) = Barcode (G) = Manifacturer (H) = International Protection (I) = Weight (L) = Power (M) = Origin |
FIG.n°4 – Rating plate-serial number
FUNCTIONING CHECK
To check the machine functioning, just turn the “start” regulator knob clockwise (placing yourself in front of the knob), and starting from the minimum, observe if the pilot lamp turns on.
When the pilot lamp is on, it means that the machine is functioning.
CHAP. 5 – USE OF THE MACHINE
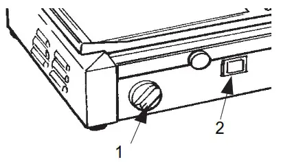
CONTROLS ON THE GRILLERS
The controls are placed on the machine has shown in the figure below.

- Thermostat
- Pilot lamp, it indicates that the resistors are on.
FIG. n°5 – Controls position on the grillers
CONTROLS ON THE TOASTERS
The controls are placed on the machine as shown in the figure below.
- Timer, for cooking time regulation.
FIG. n°6 – Controls position on the toasters

FIRST USE OF THE MACHINE
When the machine is delivered, the steel surfaces are protected with a nylon anti-scratch film. This film has to be removed accurately before starting the machine and pay attention to remove eventual residuals of glue. To perform this operation, do not use sharpening tools, inflammable or abrasive substances. The insulating materials used during the manufacturing and the residuals of grease due to the mechanical installation of single parts, heat and produce smoke, for this reason, it is necessary to start the machine outside, putting it at the maximum for 15-20 minutes.
WARNING: When you place the product on the grid to cook it, this must be hot, so pay attention to residual risks due to burning dangers. To load the product follow this procedure:
- place yourself in a correct position (FIG. n°7), avoiding any contact with the machine;
- choose the correct temperature using the knob (for the grillers) and regulate the heating intensity for the toasters;
- when the griller or the toaster is hot, place the product and start the cooking;
- at the end of the cooking, remove the residuals from the grid;
- if the griller is inactive for a long period (f.i. one or two hours), place the knob to 0 °C.

FIG. n°7 – Correct position for cooking
“If the machine has been turned off longer than 30 min., allow at least 10 min. for it to reach cooking temperature again. If you are not using the machine, but you think you are going to need it soon, set the temperature at 120 F, this will allow the machine to reach cooking temperature faster”.
CHAP. 6 – GENERAL CLEANING
INTRODUCTION
- the machine cleaning is an operation that has to be performed at least once a day and, if necessary more often.
- All the machine parts, that are in contact with the product, must be cleaned accurately .
- Never clean the machine by means of compressed water or water jets.
- The cleaning of the TOASTERS must be performed when the machine is cold, clean the quartz lamps with a coton flock soaked in alcohol.
- The cleaning of the GRILLER can be performed when it is hot, scrape with a metallic brush on the cooking grid several times, pay the maximum ATTENTION not to touch the cooking surface because this could cause dangerous burns.
- Take the same care when emptying the collecting tray for gravy.
- It is advisable to perform these cleaning operations when the GRILLER temperature is at the minimum so that the residual grease which sticks to the grid can melt.
- It is absolutely forbidden to pour water or other liquids on the grid when it is hot, because the changes of temperature can provoke their breaking.
- WARNING: Before performing any cleaning operation, disconnect the machine plug from the mains to insulate it from the rest of the installation.
CHAP. 7 – MAINTENANCE
GENERAL FEATURES
Before performing any maintenance operations, it is necessary to disconnect the plug from the socket to insulate completely the machine from the rest of the system.
POWER SUPPLY CORD
Periodically check whether the power supply cord is worn-out and, if this is the case, please call the “SERVICE CENTRE” to have it replaced.
QUARZ TUBES (TOASTERS)
Periodically check whether the quartz tubes of the TOASTERS are worn-out, because the place of the pliers on the grid and or the moving of the machine from one place to another, could provoke the breakage of the tubes. In this case, please call the “SERVICE CENTRE” to have them replaced.
CHAP. 8 – DISPOSAL OF THE MACHINE
PUTTING THE MACHINE OUT OF SERVICE
If for some reason, you decide to put the machine out of service, make sure nobody can use it: disconnect it from the mains and eliminate the electrical connections.
WEEE Waste of Electric and Electronic Equipment
Directive 2002/95/EC, 2002/96/EC, and 2003/108/EC on the restriction of the use of certain hazardous substances in electrical and electronic equipment, and waste electrical and electronic equipment .
This symbol, crossed out wheelie bin, on the product or on its packaging indicates that this product must not be disposed of with your other household waste.
Separate waste collection of this appliance is organised and managed by the manufacturer. It is the user’s responsibility to contact the manufacturer and follow the waste treatment system the manufacturer has adopted for separate waste collection.
The separate collection and recycling of your waste equipment at the time of disposal will help to conserve natural resources and ensure that it is recycled in a manner that protects human health and the environment.




















