

FR24SM
FR25SM
FR26SM
FR27SM
REFRIGERATOR – FREEZER
Instruction for Use
DEAR CUSTOMER!
Some provisions in this user manual are unified for refrigerating products of different types (for a refrigerator, refrigerator-freezer, or freezer). CAREFULLY READ THE INSTRUCTION MANUAL.
The Manufacturer shall not be held liable for damage arising from the failure to observe the instructions contained in this manual.
Keep this manual for future reference, or to pass it over to the next user.
General information:
The appliance is a two-compartment refrigerator-freezer and is intended to be used in household and similar applications such as staff kitchen areas in shops, offices, and other
working environments.
The refrigerator compartment is designed for the brief storage of fresh food.
The freezer compartment is designed for the freezing and long-term storage of food products.
CE conformity. At the time of its market launch, this appliance complies with the requirements stipulated in the guidelines of the council for the harmonization of the legal provisions of the member states on electromagnetic compatibility Directive 2014/30 / EU and on the use of electrical equipment within certain voltage limits Directive 2014/35 / EU. This appliance is marked with the CE mark and has a declaration of conformity for inspection by the responsible market surveillance authorities.
GUIDELINES CONCERNING THE SAFETY OF USE
General safety requirements:
– WARNING: Keep ventilation openings, in the appliance enclosure or in the built-in structure, clear of obstruction.
– WARNING: Do not use mechanical devices or other means to accelerate the defrosting process, other than those recommended by the manufacturer.
– WARNING: Do not use electrical appliances inside the food storage compartments of the appliance, unless they are of the type recommended by the manufacturer.
– WARNING: When positioning the appliance, ensure the supply cord is not trapped or damaged.
– WARNING: Do not locate multiple portable socket-outlets or portable power supplies at the rear of the appliance.
WARNING: Do not damage the appliance refrigeration system. It contains the refrigerant gas R600a. If the refrigeration system is damaged:
- Do not use any open flame.
- Avoid sparks-do do not turn on any electrical appliances or lighting fixtures.
- Immediately ventilate the room: air the room in which the appliance is placed for a few minutes (the size of the room for a product containing isobutane / R600a must be at least 4 m 3 ) to avoid damage to the cooling system.
C-Pentane is used as a blowing agent in the insulation foam and it is a flammable gas.
– WARNING: Disposal of the appliance should be according to national rules.
– This appliance is not designed for the storage of explosive substances such as aerosol cans with a flammable propellant.
– It is prohibited to store petrol and other flammable liquids near the appliance.
– The appliance should be used only for storing foodstuffs.
Children and vulnerable people safety:
– Do not allow children to play with the appliance or to plug it in or unplug from the electricity supply socket. Do not allow children to play with the packaging material from the appliance.
– This appliance can be used by children aged 8 years and above and persons with reduced physical, sensory or mental capabilities or lack of experience and knowledge if they have been given supervision or instruction concerning the use of the appliance in a safe way and understand the hazards involved.
– Cleaning and user maintenance shall not be made by children without supervision.
– Children aged from 3 to 8 years are allowed to load and unload refrigerating appliances.
Requirements for the connection to the mains:
– The appliance should only be connected to an earthed socket installed in accordance with the regulations. Make sure that the supply voltage corresponds with the voltage marked on the rating label. This product complies with all binding CE labeling directives. The earthed electrical socket by which the appliance is connected to the mains should be in an accessible place. It is a legal requirement that the appliance is properly earthed. The manufacturer will not be held liable for any damage or injury which may result from the failure to fulfill this requirement.
– To avoid the exposure to danger, always have faulty cable be replaced only by the manufacturer, by our customer service or by qualified personnel and with a cable of the same type.
– It is forbidden to readjust or modify any parts of the unit. It is crucial not to damage the capillary tube visible in the compressor recess. The tube may not be bent, straightened, or wound. If the capillary tube is damaged by the user the guarantee will be void.
– Do not use adapters, multiple sockets, and two-wire extension leads. If it is necessary to use the extension lead, it must be equipped with a protection ring and a single socket and must have a VDE/GS safety certificate. If an extension lead is used (with a protection ring and safety certificate), its socket must be located at a safe distance, away from the sinks, and must not be in a place where it could be flooded by water or wastewater.
– The frequency and power of the electricity supply in your house must conform to the general data parameters of the appliance as it is shown in the product label.
– When positioning the appliance, be careful that the electrical cord isn’t squeezed in order to avoid its damage. Do not store heavy objects such as cooling devices or other devices next to the appliance in such a way that they could squeeze and damage the electrical cord. This can cause a short circuit and a fire.
– Make sure that the plug of the electrical cord is not squeezed by the back wall of the appliance or otherwise damaged. A damaged plug can be the cause of a fire!
Do not try to repair the appliance on your own. Always contact an authorized technician. To avoid the exposure to danger, always have faulty cable be replaced only by the manufacturer, by our customer service or by qualified person whit a cable of the same type.
Requirements for safe use:
– It is forbidden to use a technically damaged appliance.
– If the appliance is unplugged (for cleaning, moving to another place, etc.), it may be repeatedly switched on after 15 min.
– When performing activities, such as cleaning, maintenance, or moving, the appliance must be completely disconnected from the power supply (by pulling the plug out from the socket). Do not pull on the cord, but hold the body of the plug instead.
– Do not set up the device outdoors.
– In an emergency, pull the power plug out of the socket immediately.
– Do not place any switched-on electrical devices on top of the appliance because this may cause ignition of plastic parts. Do not place any dishes with liquids on top of the appliance and do not keep flowers in vases or other liquid-filled vessels on the appliance.
– Do not climb on or sit on the appliance, do not lean on or hang on the appliance doors, and do not allow children to do this.
– Do not remove or touch items from the freezer compartment if your hands are wet or damp.
– Do not use water spray and steam to clean the appliance.
The appliance should be transported in the vertical position; do not tilt any more than 30°. The manufacturer will not be responsible for any damage to the appliance that results from non-compliance with the instructions for transportation.
The manufacturer guarantees reliable operation of the refrigerator when the relative air humidity is not greater than 70 percent and the ambient temperature is:
+16 TO +32 DEGREES CELSIUS (Climate class N);
+16 TO +38 DEGREES CELSIUS (Climate class ST);
+16 TO +43 DEGREES CELSIUS (Climate class T).
INSTALLATION AND OPERATING CONDITIONS OF THE APPLIANCE
Positioning:
- This appliance can be installed in a dry, well-ventilated indoor where the ambient temperature corresponds to the climate class indicated on the rating plate of the appliance.
Do not install this appliance in areas that are too humid or too cold, such as the construction appendices, garages, or wine cellars. Place the appliance away from heat sources such as kitchen stove/oven, radiators, or direct sunlight. The appliance must not touch any pipes for heating, gas or water supply, or any other electrical devices.
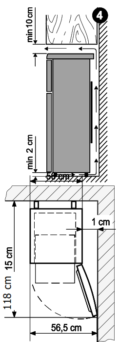
Minimum distances from the heat sources:
– from the electric gas and other ovens – 30 mm,
– from oil or coal-fired ovens – 300 mm,
– from built-in ovens – 50 mm
If there is no possibility of ensuring the above-mentioned distances, provide an appropriate insulation board. - Do not cover the ventilation holes at the top of the appliances – it must be good air circulation around the appliance. There should be a gap of at least 10 cm between the top of the appliance body and any furniture that may be above it. If this requirement is not followed, the appliance consumes more electrical energy and its compressor may overheat (see fig. 4).
- The appliance must stand on a level surface and must not touch the wall. If necessary, regulate the height of the appliance by adjusting the leveling feet: by turning them clockwise – the front of the appliance rises, by turning them counterclockwise – it comes down. If the appliance is tilted slightly backward – the doors will close by themselves.

- If the appliance is placed in a corner, a gap must be left between the appliance body and the wall so that the door can be opened enough. External dimensions for installation

Preparing for operation:
- It is recommended to prepare the appliance for operation with a helper.
- The appliance must only be transported in its vertical position; do not tilt any more than 30°.
- Remove package. Lift the appliance away from foamed polystyrene base. Tear off adhesive tapes. Remove all red-colored parts from the shelves and colored adhesive tapes from the door trays
- When placing, moving, lifting the appliance, do not hold the door handles, do not pull the condenser at the rear part of the refrigerator, and do not touch the compressor unit.
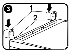
- Take two supports 1 from the bag and insert them into guide 2 at the top back part of the appliance (see fig. 3).
The appliance should not be connected to the mains until all packing and transport materials aren’t removed. Suitably dispose of the packaging material.

First use:
- Before using the appliance for the first time, the interior and all internal accessories should be washed with lukewarm water and some neutral soap to remove the typical smell of a brand-new product, then dried thoroughly.
- Once the unit has been positioned, wait for about 30 minutes before it is connected to the mains.
This is to allow the oil to flow back into the compressor. If this is not done, the appliance compressor may fail.
- When first starting up or after a period out of use, before putting the products in the compartment let the appliance run for at least 2 hours.
DESCRIPTION OF THE APPLIANCE, BASIC PARTS
The appliance accessories listed below may differ from the accessories of the appliance you have bought in quantity and in design. This description is adapted for the entire group of two-compartment refrigerator-freezer combinations

| 1 Interior light block | 7 Thaw water channel cleaner |
| 2 Thermostat knob | 8 Wire shelf |
| 3 Adjustable height shelves | 9 Condenser |
| 4 Glass shelf | 10 Compressor |
| 5 Drawer for vegetables and fruits 6 Door trays | 11 Thaw water drip tray |
| 1 Interior light block |
NOTE. The technical data of the appliance can be found on the rating label attached to the inside wall of the appliance. For more information about the appliance, scan the QR code on the enclosed energy label and/or visit the official website of the product database: https://eprel.ec.europa.eu
TEMPERATURE REGULATION
The temperature in the refrigerator compartment is controlled using the thermostat knob 2 (fig. 1) by turning it to one side or the other. The temperature indication in digits is shown beside the thermostat knob 2.
The temperature is regulated on a scale of seven digits.
0 = Compressor is switched off. WARNING! The electric current is not switched off.
1 = highest temperature (lowest cooling)
7 = lowest temperature (highest cooling)
The temperature in the refrigerator compartment can vary due to the ambient temperature, the amount of food, and the frequent opening of the refrigerator door.
If the room is cool, the appliance cools less. The temperature in the appliance may therefore rise. Use the thermostat wheel to set a lower temperature.
STORAGE AND FREEZING OF FOODSTUFFS
Temperature zones in the refrigerator:
Due to the natural air circulation, there are different temperature zones in the refrigerator compartment.
1) The upper part of the refrigerator compartment and the door – the warmest area: store tropical fruits, cans, drinks, eggs, sauces, canned products, butter, jam.
2) The middle part of the refrigerator compartment – cold zone: store cheese, milk, dairy products, delicacies, yogurt.
3) The lower part of the refrigerator compartment – the coldest area: keep cold snacks, desserts, meat and fish, cheesecake, fresh pasta, sour cream, pesto/salsa sauce, home-cooked food, dough, pudding, and cream cheese.
4) Fruit and vegetable drawer at the bottom of the refrigerator compartment: Store vegetables and fruits (except tropical fruits).
To avoid food contamination, follow the instructions below:
- Prolonged opening of the door can significantly increase the temperature in the compartments of the appliance: only open the door for the time required to place/remove food.
- Regularly clean surfaces that may come into contact with food and accessible drainage systems.
- Store fresh meat and fish in suitable containers in the refrigerator so that they do not come into contact with or drip on other food.
- If the appliance is left empty for a long time, switch it off, defrost, clean, dry, and leave the door open to prevent mold from forming inside the appliance.
Freezing of foodstuffs ![]()
The thermostat knob should be set to 7. Fresh foodstuffs prepared for freezing and cooled to room temperature should be placed in one layer at the bottom of the freezer. After 24 hours, move the frozen foodstuffs onto the wire shelf 8 (see illustration 1). When the products are frozen, the thermostat wheel should be set at its earlier position.
- DO NOT EXCEED THE MAXIMUM QUANTITY OF FROZEN PRODUCTS INDICATED IN THE Product data sheet (Product Fiche).
- Do not place unwrapped foodstuffs in the freezer sections.
- Do not refreeze partly thawed products. Fresh food for freezing should not touch already frozen foodstuffs.
- Do not freeze foodstuffs that are warmer than the room temperature.
- WARNING! Do not freeze liquid foodstuffs in glass vessels or bottles.
- Strictly observe the frozen foodstuffs validity dates indicated by the manufacturer on the product packaging.
- WE RECOMMEND THAT FROZEN FISH AND SAUSAGE SHOULD BE STORED IN THE FREEZER COMPARTMENT NOT LONGER THAN 6 MONTHS; CHEESE, POULTRY, PORK, LAMB – NOT MORE THAN 8 MONTHS; BEEF, FRUIT, AND VEGETABLES – NOT LONGER THAN 12 MONTHS.
CAUTION! In the event of accidental defrosting, for example, due to a power failure, if the power has been off for longer than the value shown in the technical characteristics chart under “rising time”, the defrosted food must be consumed quickly or cooked immediately and then refrozen (after cooling).
DEFROSTING, CLEANING, AND CARE
THE REFRIGERATOR COMPARTMENT DEFROSTS AUTOMATICALLY. Drops of ice that form on the back wall of the refrigerator compartment thaw during the time the compressor is not working and the thawing water run down the thawing water runoff channel to the tray on top of the compressor (Fig. 1), where it evaporates.
FREEZER COMPARTMENT should be thawed not less than twice a year or when a layer of ice thicker than 5 mm forms in it. Do the actions below in the order they are listed:
WARNING! Turn the appliance off and pull the plug out of the electrical socket.
- Remove foodstuffs from the freezer compartment. The frozen foodstuffs will not warm up too much while you are thawing the freezer compartment if you cover them with a thick cloth and keep them in a cool place.
- Leave the door of the appliance open. When the ice melts, clean and wipe dry the surfaces and fixtures of the refrigerator and freezer compartments.
- Close the appliance door. Plugin and turn on the appliance.
REGULARLY CLEAN THE APPLIANCE.
Remember that before defrosting the appliance and cleaning the back part of the appliance body you must disconnect the appliance from the electrical energy supply socket by pulling the plug out of the electrical outlet. - Protect the appliance’s inner surfaces and plastic parts from fats, acids, and sauces. In case of accidental spills – immediately clean with warm soapy water or dishwashing
detergent. Wipe dry.
- Regularly clean the hermetic gaskets of the doors. Wipe dry.
Regularly clean the thaw water channel space in the refrigerator with a special cleaner for that purpose (see fig.).- At least once a year clean dust away from the back part of the appliance body and the compressor. A soft brush, electrostatic cloth, or vacuum cleaner may be used for cleaning.
- DO NOT use detergents containing abrasive particles, acid, alcohol, or benzene for cleaning the appliance’s inner and outer surfaces. DO NOT use for cleaning cloths or sponges that have coarse surfaces intended for scrubbing.
- If the appliance is to be left switched off for an extended period, leave its doors open.
CHANGING THE INTERIOR LIGHT BULB
When changing the interior light bulb (fig. 6), do the actions below in the order they are listed:
Unplug the appliance from the mains by pulling the plug out of the electricity supply socket.
- Push the interior light bulb lid 4 retainers 5 with a flat screwdriver and with your other hand pull it toward yourself.

- When you have changed the light bulb, replace the lid and push — the lid will snap into position.
- Plug the appliance into the electricity supply socket.
CHANGING THE OPENING DIRECTION OF THE DOORS
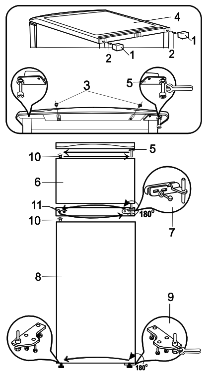
It is recommended that changing the opening direction of the doors should be done with a helper. You will need two spanners No. 8 and No. 10 and an ahead screwdriver.
When changing the opening direction of the doors YOU CAN NOT lay the refrigerator horizontally!
Do the actions below in the order they are listed:
Turn off the appliance and pull the plug out of the electricity supply socket
- Unscrew fixing srews 2 and 3 and remove the top table.
- Unscrew and remove the upper door bracket 5, unscrew the axle together with the nut and washers and screw all this set on the reverse bracket side.
- Remove the upper door 6. Unscrew fixing screws 7 of the middle bracket.
- Remove the middle bracket together with washers on the axle and the spacer.
- Remove the bottom door 8. Unscrew and remove the bottom bracket 9, unscrew the axle, upturn the bracket and the axle, and srew them on the reverse side. Screw and fix the bottom bracket.
- Remove plug 10 from the upper door and plug 10 from the bottom door and place them on the reverse side.
- Remove the plugs 11 from the crossbar and place them on the reverse side.
- Hang the bottom door 13 on axle 15 of the bottom bracket 14.

- Before screwing the middle bracket 7 together with the set of washers and spacers on the reverse side, insert the bracket axle into the bottom door.
- Hang the upper door 8 on the axle of the middle bracket 9.
- Before screwing the upper bracket 5 together with the set of washers and spacers, insert the axle of the bracket into the upper door 7. Put the top table and fix it with screws 2 and 3.
Wait for about 30 minutes before it is connected to the mains. If the unit has been tilted to more than 30°, wait for about 4 hours before reconnecting it to the mains.
OPERATION PROBLEMS AND THEIR SOLUTIONS. What if…
- The appliance is plugged into the mains but it does not work. Check that your house’s electricity supply installations are in order. Check that the plug is correctly inserted into the electricity supply socket.
- The noise has become louder. Check that the appliance is standing stable on a level place. To make it level, regulate the front feet. Check if the appliance is not touching any furniture and that no part of the refrigeration system at the back part of the appliance body is touching the wall. Pull the appliance away from any furniture or walls.
Check that the cause of increased noise isn’t due to bottles, cans, or dishes in the appliance that might be touching each other. - Water has appeared at the bottom of the refrigerator compartment. Check whether a thaw water channel space isn’t blocked. Clean the thaw water channel space with a cleaner intended for that purpose.
- Water has appeared on the tempered glass shelves. Food items or dishes in the refrigerator compartment are touching the back wall of the compartment. Do not let food items or dishes touch the back wall.
- Moisture dripping from under the glass shelves. If you placed many containers with liquids on the shelf, moisture can condense and drip onto the shelf below. Move some containers with liquids onto other shelves.
- Water has appeared under the appliance. The thaw water collection tray has slipped off the compressor. Place the tray on top of the compressor.
- When the appliance door is opened, the rubber sealing gasket pulls out. The gasket is smeared with sticky foodstuffs (fat, syrup). Clean the sealing gasket and the groove for it with warm water containing soap or dishwashing detergent and wipe dry. Put the rubber sealing gasket back into place.
- With the high temperature in the appliance, the compressor operation pauses are short. Ascertain whether the appliance doors are shutting tightly, whether the door wasn’t kept open longer than necessary when taking out or putting in foodstuffs or whether a large amount of warm food was placed in the appliance.
- The top of the appliance has condensation on it. The ambient relative air humidity is above 70 %. Ventilate the room where the appliance stands and if possible remove the cause of the humidity.
Remarks on the appliance operating noise. As the appliance operates and goes through the freezing cycle, various noises will be emitted. This is normal and is not a sign of any malfunction. - As the refrigerant circulates around the refrigeration system, it causes sounds like murmuring, bubbling, or rustling. Louder sounds like popping or clicking may be heard
for a short time as the refrigerator’s compressor switches on.
ENVIRONMENTAL PROTECTION INFORMATION
Important Note:
This appliance is marked according to the European directive 2002/96/EC on Waste Electrical and Electronic Equipment (WEEE). By ensuring this product is disposed of
correctly, you will help prevent potential negative consequences for the environment and human health, which could otherwise be caused by inappropriate waste handling of this product.
The symbol on the product, or on the documents accompanying the product, indicates that this appliance may not be treated as household waste. Instead, it shall be handed over to the applicable collection point for the recycling of electrical and electronic equipment.
Disposal must be carried out in accordance with local environmental regulations for waste disposal. For more detailed information about the treatment, recovery, and recycling of this product, please contact your local authority, your household waste disposal service, or the retailer where you purchased the product.
Our packaging is made of environmentally friendly materials, which can be reused:
● The external packaging is made of cardboard/foil
● The FCKW free shape of foamed polystyrene (PS)
● Polyethylene (PE) foils and bags
The refrigerants and foaming agents, which are 100% free of FCKW and FKW have been used for manufacturing our product. Therefore we are helping to protect the ozone layer and prevent the increase of greenhouse effects. Also, innovative technology and environmentally friendly insulation help in reducing energy consumption.
RISK FROM OLD APPLIANCE!
Keep children under the age of 8 away from the power cord of the appliance. Keep children away from the packaging materials.
Playing children can lock themselves in the device or get into other life-threatening situations.
- Remove or destroy existing snap locks and bolt locks.
- Do not let children play with the appliance.
- Always supervise children in the vicinity of the old appliance.






















