FEIT Electric SL30-15 Electric LED Colour-Changing String Lights Instruction Manual
IMPORTANT SAFETY INSTRUCTIONS
When using electrical products, basic precautions should always be followed including the following:
a. READ AND FOLLOW ALL SAFETY INSTRUCTIONS
b. Do not use these products outdoors unless marked suitable for indoor and outdoor use. When products are used in outdoor applications, connect the product to a Ground Fault Circuit Interrupting (GFCI) outlet. If one is not provided, contact a qualified electrician for proper installation.
c. Do not mount or place near gas or electric heaters, fireplace, candles, or other similar sources of heat.
d. Do not secure the wiring of the product with staples or nails, or place on sharp hooks or nails.
e. Install only using the mounting means provided.
f. Do not let lamps rest on the supply cord or on any wire.
g. Do not use this product for other than its intended use.
h. Do not hang ornaments or other objects from the cord, wire, or lamps.
i. Do not close doors or windows on the product or extension cords as this may damage the wire insulation.
j. Do not cover the product with cloth, paper or any material not part of the product when in use.
k. This product has a polarized plug (one blade is wider then the other) as a feature to reduce the risk of electric shock. This plug will fit in a polarized outlet only one way. if the plug does not fit fully in the outlet, reverse the plug. If it still does not fit, consult a qualified electrician. Do not use with an extension cord unless the plug can be fully inserted. Do not alter or replace the plug.
l. Keep lamps away from any combustible surface.
m. Read and follow all instructions that are on the product or provided with the product.
SAVE THESE INSTRUCTIONS
CAUTION
- To reduce the risk of fire use only type S, 0.65 Watt Max E26 left-handed thread base lamp.
- To avoid risk of shock, always make sure the product is unplugged from the electrical outlet before assembling, disassembling, installing, relocating, servicing or cleaning it.
- Do not overload. This string light is rated for 10 Watts. Connect other string lights end-to-end for a maximum of 3 units.
- Do not use with extension cord near water or where water may accumulate. Keep at least 4.8 m / 16 ft from pools and spas. Keep plugs and receptacles dry. Do not submerse.
Model Number: SL30-15/RGBW
Connecting Sets End-to-End.
When multiple products are connected together do not exceed the lowest of the indicated maximum wattage on the cord tag near the connected product’s receptacle.
REPLACING LIGHT BULBS
WARNING — RISK OF ELECTRIC SHOCK!!
Disconnect power at source prior to replacing light bulbs. For outdoor String Lights, do NOT replace light bulbs during rain or when wet.
- Replace light bulbs only during dry and calm weather conditions.
- Unscrew existing bulb by lightly holding the socket in one hand and twisting the bulb clockwise. Bulb may be tight in the sockets. This is normal to prevent moisture from getting into socket.

- Replace with E26 left-handed thread base LED bulbs. Install new LED bulb into socket by turning counterclockwise as shown in image 1 until the rim of the socket forms a tight seal around the bulb.

CONNECTING STRING LIGHTS

INSTALLATION METHODS
- Using a guide wire with s-hooks or wire ties (not included)

- Attached to a structure

REMOTE CONTROL
(See illustration)

- Power on/off
- dimming for still single colors, speed changing for mode
- R: red/ G: green/ B: blue/ W: warm white
- 8 colors
- FLASH: 7 single colors + multi colors flash, switch colors by pressing the key STROBE: 7 colors no order
FADE: 7 colors fade
SMOOTH: 7 colors breathe, each color breathes 3 times
Two 1.5V AAA batteries included.
Always purchase the correct size and grade of battery most suitable for the intended use. Clean the battery contacts and also those of the device prior to battery instalation. Ensure the battery is installed correctly with regard to polarity (+ and -1. Remove battery from equipment which is not to be used for an extended period of time. Remove used battery promptly. This device complies with RSS-210 of Industry Canada. Operation is subject to the condition that this device does not cause harmful interference.
For additional remote controls please contact Feit Electric at 1-866-326-BULB (2852)
The controller function button controls all color changing functions except the brightness and the color changing speed. Press and hold button to turn off. In the event that the remote control is lost, the controller function button can be used instead of the remote control.
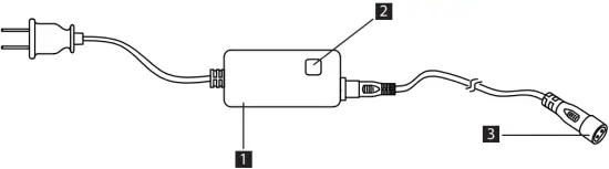
- Power Supply/Controller
- CONTROLLER FUNCTION BUTTON: Press button to select one of the 13 color combination modes. (See chart to the right.) Press and hold button to turn off.
- String light connector.
When unit is turned on, it will start at the last mode.
CONNECT UP TO 3 SETS. USE ONLY ONE POWER SUPPLY, ONE CONTROLLER AND ONE REMOTE FOR UP TO 3 SETS.
The product’s remote control contains two 1.5V AAA batteries. If swallowed, it could cause severe injury or death in just 2 hours. Seek medical attention immediately.
MODE BUTTON FUNCTIONS
7 single colors + white Still
7 colors breathe
7 single colors Flash multi colors flash
7 colors fade
7 colors strobe no order Hold the button for on/off
LIMITED WARRANTY
This product is warrantied to be free from defects in workmanship and materials for up to 2 years from date of purchase. If the product fails within the warranty period, please contact Feit Electric at [email protected], visit feit.com/contact-us or call 1-866-326-BULB (2852) for instructions on replacement or refund.
REPLACEMENT OR REFUND IS YOUR SOLE REMEDY. EXCEPT TO THE EXTENT PROHIBITED BY APPLICABLE LAW, ANY IMPLIED WARRANTIES ARE LIMITED IN DURATION TO THE DURATION OF THIS WARRANTY. LIABILITY FOR INCIDENTAL OR CONSEQUENTIAL DAMAGES IS HEREBY EXPRESSLY EXCLUDED.
Some states and provinces do not allow the exclusion of incidental or consequential damages, so the above limitation or exclusion may not apply to you. This warranty gives you specific legal rights, and you may also have other rights which vary from state to state or province to province.
Recycle the battery according to local municipal requirements.
SAVE THESE INSTRUCTIONS
FCC Statement
This device complies with part 15 of the FCC Rules. Operation is subject to the following two conditions:
- This device may not cause harmful interference, and
- this device must accept any interference received, including interference that may cause undesired operation.
Note: This equipment has been tested and found to comply with the limits for a Class B digital device, pursuant to part 15 of the FCC Rules. These limits are designed to provide reasonable protection against harmful interference in a residential installation. This equipment generates, uses and can radiate radio frequency energy and, if not installed and used in accordance with the instructions, may cause harmful interference to radio communications. However, there is no guarantee that interference will not occur in a particular installation. If this equipment does cause harmful interference to radio or television reception, which can be determined by turning the equipment off and on, the user is encouraged to try to correct the interference by one or more of the following measures:
- Reorient or relocate the receiving antenna.
- Increase the separation between the equipment and receiver.
- Connect the equipment into an outlet on a circuit different from that to which the receiver is connected.
- Consult the dealer or an experienced radio/TV technician for help.
Any changes or modifications not expressly approved by the manufacturer could void the user’s authority to operate the equipment. CAN ICES-005 (B)
Supplier’s Declaration of Conformity:
47 CFR § 2.1077 Compliance Information
Responsible Party:
Feit Electric Company
4901 Gregg Road, Pico Rivera, CA 90660, USA
562-463-2852
Unique Identifier:
SL30-15/RGBW






















