MITSUBISHI SC-SL2N-E Central Control with LCD Display

Product Information: Central Control SC-SL2N-E
The Central Control SC-SL2N-E is a precision equipment that complies with EMC Directive 2004/108/EC and LV Directive 2006/95/EC. It is designed to control the operation of indoor and outdoor units of Super Link models. The product comes with a user manual CD, switch indication labels, pan-head screws, and round crimping terminals as accessories.
Safety Precautions:
- WARNING: Installation work should be consigned to the dealer or professional installer to avoid incomplete work, electric shock, and fire.
- CAUTION: Follow the instructions carefully to avoid wrong installations that may cause serious consequences such as serious injuries or death.
- Installation should be performed in accordance with national wiring regulations by a qualified electrical engineer.
- Handle the product with enough care to prevent damage due to falling and being stepped on.
- Before touching the terminal block, turn off the power supply.
Product Usage Instructions
- Read the installation manual carefully and follow it before installation work. Refer to indoor unit and outdoor unit installation manual together for installation work.
- Install the product properly according to the installation manual. Incomplete installation may cause electric shock and resultant fire.
- Perform grounding work. Do not connect the ground wire with gas pipes, water pipes, lightning rod, and telephone ground wire.
Incomplete grounding work may cause the electric shock. - Ensure solid connection and fasten specified cables securely so that terminal connections may not be subject to external force working on cables. Incomplete connection for terminal wiring may cause electric shock and resultant fire.
- After installation, make a test run and confirm no abnormalities occur during the test run.
- Explain the operation method to the customers according to the user’s manual.
- Request the customers to keep the installation manual for future reference.
This central control complies with EMC Directive 2004/108/EC, LV Directive 2006/95/EC.
INSTALLATION MANUAL
- Please be sure to read this manual carefully and follow it before installation work.
- Please refer to indoor unit and outdoor unit installation manual together for installation work.
- The appliance must be installed in accordance with national wiring regulations.
- The product is precision equipment, so please handle it with enough care to prevent the unit damage due to falling and being stepped on.
- Before touching the terminal block, turn off the power supply.
Safety Precautions
- Please read this “Safety Precautions” for Installation work and follow it properly.
- Safety Precautions are divided into “Warning ” and “Caution ”.
WARNING: Wrong installations may cause serious consequences such as serious injuries or death.
CAUTION: Wrong installations may cause serious consequences depending on circumstances.
Please be sure to follow the instruction.
After the installation, please make a test run and confirm no abnormalities occurs during the test run. Please explain the operation method to the customers according to the user’s manual. Please request the customers to keep this Installation manual.
WARNING
- Please consign the installation work to the dealer or professional installer. Self-installation may cause incomplete work, electric shock and resultant fire.
- Please install the unit properly according to the installation manual. Incomplete installation may cause electric shock and resultant fire.
- Please be sure to only use attached accessories and specified parts for the installation work, or it may cause electric shock and resultant fire.
- The electrical work should be performed by qualified electrical engineer, according to <Electrical Standards>, <Local electrical safety regulations> and wiring specification. Incomplete installation work may cause electric shock and resultant fire.
- When wiring, ensure solid connection and fasten specified cables securely so that terminal connections may not be subject to external force working on cables. Incomplete connection for terminal wiring may cause electric shock and resultant fire.
CAUTION
- Please perform grounding work.
Please do not connect the ground wire with gas pipes, water pipes, lightning rod and telephone ground wire. Incomplete grounding work may cause the electric shock. - Please do not install the central control at the following places.
- Oil fog filled place, oil spraying and steamy location such as kitchen, etc.
- The place where corrosive gas such as sulfur dioxide generates.
- The location with the machine that generates radio wave.
It may cause abnormality in the control system and abnormal running. - The location at the risk of flammable gas leaking.
The place where exists volatile catching fire thing such as paint thinner and gasoline.
By any chance the gas leaks and it accumulates around the equipment, it may cause ignition.
Applicable Models
All models for Super Link
Accessories
Please check the following accessories.

Use the Electrical box for installation. Please prepare on site.
Installation Work
Please install the central control after turning off the power for fear of electric shock.
Please arrange or protect the wiring so that excessive force is not applied to the electrical wires.
Control PCBs (printed circuit boards) are mounted to both the top and bottom cases.
Be careful that you do not damage the PCBs when using a screwdriver and other tools.
The PCBs can be damaged by static electricity, and so be sure to discharge any static electricity accumulated on your body before starting the work.
(Static electricity can be discharged by touching the control board and other grounded parts.)
Installation Place
Please install in an indoor location that is not exposed to electromagnetic waves, water, dust, or other foreign substances.
The operating temperature range of this product is from 0°C to 40°C.
Install in a location where the ambient temperature remains within the operating temperature range.
However, if the operating temperature range is exceeded, be sure to implement corrective measures such as installation of a cooling fan.
Be aware that continued usage of this central control outside the operating temperature range can result in operation problems.
Space Required for Installation

Service Space

- In case of installing on the control board
Please be sure to lock the control board to protect persons from the electric shock.
Avoid usage of heat-retaining materials and heat-insulating materials because these can result in heat buildup and adversely affect the operation of the central control. - In case of embedding in a wall
Please check that there is sufficient space inside the wall. If the temperature inside the wall exceeds 40°C, install the central control on the control board.
Caution
Please do not install devices that can cause the ambient temperature to rise in the same control board. Also, do not install multiple controllers in the same control board. These can cause heat to build up and result in false operation. If multiple central control must be installed in the same control board, take corrective measures to ensure that the temperature in the control board does not rise above 40°C such as by installing cooling fans.
When performing the continued installation of multiple controllers, be sure to obtain the distance between units and service space as shown in the figure.
Installation Procedure
- In case of embedding in a wall, first, embed the power supply wire, signal wire, and Electrical box.
Keep the power supply wire and signal wire separated to prevent malfunctions.
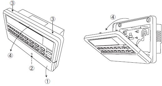
- Open the top case by following the procedure below.
- Grasp the indentations on the right and left sides, and pull forward to open the cover downward.
- Use a Phillips-head screwdriver to remove the screw. (Be careful not to lose the screw.)
- Open the top section in the direction ④ while gently pressing the top section.

- Use the supplied ④ pan-head screws to secure the central control to the electrical box or control board.

- Use a precision screwdriver to make the control selector settings.(For details, see section 5 Control Switch Selection.)
- Peel off the protective sheet on the screen of central control. Important
- Insert the top case back into its original location in the bottom case as before, and tighten the case mounting screws ( Installation procedure (2) ②).
This completes the installation procedure.
Caution
The case and power supply kit are an integrated unit. Please do not separate them.
- Open the top case by following the procedure below.
Electrical Wiring
For safety reasons, please use the round crimping terminals with insulated sleeves for connecting all wires to the central control.
- Please do the grounding work. Please do not connect earth line with gas pipes, water pipes, lightning rods and grounding line of telephone.
- Please do not turn on the power supply (local switch) until all of the work is completed.
- Please wait at least two minutes after the indoor and outdoor units are turned on before turning on the power supply.
- Except for the central control in the figure, all of the components are obtained at the site (wires, switches, relays, power supply, lamps, etc.).
- Please be sure to build the breaker which is easily accessible with building equipment’s wiring.
- Please be sure to use the supplied round crimping terminals when connecting wires to the power supply terminal block and Super Link terminal block.
- Please use demand input device, emergency stop input device and external timer input device comply with a relevant IEC Safety Standard.
Refer to the figure below for the terminal orientation.

Wiring Outline

Before connecting the wires, remove the cover of the terminal block. After the work is completed, fix the cover of the terminal block as before. The cover is used to prevent electric shock due to accidental contact.
Wiring Specifications
| Power supply wire | 1.25mm2 |
| Local switch | 10A |
| Super Link signal wire (Note 1, Note 2) | 0.75mm2 – 1.25mm2 shielded wire (MVVS 2-core) Max. 1000m per line (Max. distance: 1000m, Total wire length: 1000m) |
| Operation output, error output, demand input, emergency stop input, external timer input wire | 0.75mm2 – 1.25mm2 CCV, CPEV (2-core) Max. 200m |
| Grounding wire | 0.75mm2 – 6mm2 |
Note 1: When this central control is used, use a shielded wire for the Super Link signal wire.
Ground both ends of the shielded wire.
(Connect the ground for the central control to the section in “System Wiring”.
Note 2: If the indoor and outdoor units connected to the network are all compatible units with New Super Link, a total wire length of 1500m per line is possible (maximum distance: 1000m). However, be sure to use a 0.75mm2 wire diameter if the total wire length exceeds 1000m. For further information, please contact your sales representative or
dealer.
System Wiring

- Please connect to ground for signal wire and power supply wire.
- The selected relay obtained at the site should have the following specifications: rated voltage of DC 12V and maximum power consumption of DC 0.9W or less (80mA or less)
- The selected relay obtained at the site should have the following specifications: Non-voltage “a” contact input and capable of withstanding a minimum applied load of DC 12V and 10mA or less.
The DO and DI terminals are polar.
Do not connect three or more wires to the same terminal.
NOTE
Do not connect the power supply wire to another terminal.
Making the wrong connection can result in damage or burning of electrical parts and is extremely dangerous.
Please check the wires again before turning on the power supply.
Control Switch Selection
It is possible to change the setting as follows by settings of the PCB switches SW1 to SW10, J1, J2, and J3 on the central control. Please change the control on site as necessary. It is recommended to change the setting by using a precise driver.
Switch
| SW No. | Default | ON | OFF | Description | |
|
SW | 1 | ON | See table at right | See table at right | Power failure compensation function |
| 2 | ON | ||||
| 3 | OFF | Auto mode can be set | Auto mode cannot be set | Automatic mode display | |
| 4 | ON | Display | No display | Filter sign display on/off | |
| 5 | ON | New | Previous | New/Prev. Super Link(*1) | |
| 6 | ON | Center & Blower | Center | Sending of data during demand input | |
| 7 | OFF | (Keep at Off) | |||
| 8 | OFF | Time Month.Day | Month.Day Time | Error history display | |
| 9 | OFF | (Keep at Off) | |||
| 10 | OFF | (Keep at Off) | |||
Jumper wires
| Short circuit (default) | When disconnected | Function | |
| J1 | Setting possible | Setting not possible (Including during external input.) | Center/Remote setting (*2) (Including the allowed/prohibited settings of each remote control function) |
| J2 | (Do not disconnect.) | ||
| J3 | (Do not disconnect.) |
Power failure compensation function selector
| SW-1 | SW-2 | Function |
| ON | ON | Sending of program settings when power comes back on (The operation status before the power failure is sent if there is no program when power comes back on.) |
| ON | OFF | Sending of operation status before power failure |
| OFF | ON | (Do not make this setting.) |
| OFF | OFF | No data is sent when power comes back on |

- Switching is needed if the connection is previous Super Link.
Actual type of network connection (New or previous Super Link) depends on the models of indoor units and outdoor units, etc. Please contact the agency or the Sales representative. - When J1 is disconnected, the Center/Remote does not be set from this central control. Please disconnect if multiple central controls are installed and another main central control exists.
When J1 is disconnected, data is sent for the blower only during demand input (nothing is performed when SW6 is off) and for stop only during emergency stop input.
Setting the Control Target Units
Make the settings for the units to be controlled by the central control.
For the setting procedure, see the user’s manual attached to the central contrl.
At shipping, none of the units are set as target units for control, and so the units to be controlled by this central control must be set as control target units.
Three types of settings are available.
- Units are selected as control targets for central control and controlledas a group Group setting
- Units are selected as control targets for central control but not grouped Individual setting
- Units are not selected as control targets for central control (or units will be controlled by another central control) Not target units for control
Be sure to set the current time. This is needed for the program settings and error history display.
Turn on the power and press the three buttons (MENU, RESET, GROUP No. 10) at once more than five minutes, that can initialize the setting contents.
Group control when using multiple units
This central control can control up to 64 target units (up to 48 units when using the previous Super Link setting). Multiple central controls must be installed to control 65 or more air conditioner units.
When connecting multiple central controls on a single network, any group settings can be made for each central control.


























