KARPENTER Wooden queen-size bed
Pre Assembly
- Please read all instructions before beginning assembly
- Place all parts on a carpet or foam in the shipping box. Find the letter (A, B, C, … ) on each part and check with the below part list to ensure we have all components.
- Save all packing materials until assembly is complete to avoid accidentally discarding smaller parts or hardware.
- This cart requires one people to do the assembly.
Parts Included

Hardware Enclosed

Assembly Instructions
- Lay all components (A, B, C, … ) onto a clean smooth surface like carpet or cardboard.
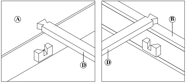
- Attach Side Rail (C) to the Headboard (A). Please carefully note
- All letters at the component indicate the homing destination so as not to misplace components.
- Please hang the brackets to the Hexagonal bolts (F) and tighten them by using Wrench (G)(see below diagram)

- Attach Footboard (B) to the components.
- Please note the indicating letters for homing guidance.
- Please hang the brackets to the Hexagonal bolts (F) and tighten by using Wrench (G)(see below diagram)

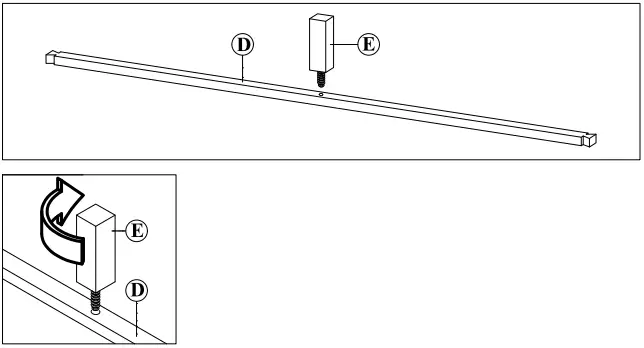
- Attach Extra Leg (E) to the Center Rail (D). See diagram below

- Attach Center Rail (D) with Extra Leg (E) to bed. Please DO NOT attach Center Rail (D) first securing Extra Leg (E) to the whole body otherwise Center Rail (D) mig
ASSEMBLY IS COMPLETE

Care Instruction
- Hardware may loosen over time. Periodically check to make sure all components are tight. Re-tighten if necessary.
- Dust with soft dry cloth.
- Avoid abrasive cleaners. If a cleaner is needed, use a mild-cleaner spray and blot with an absorbent cloth.
- For indoor use only.



















