PHILIPS 9290026815 Ceiling Fan User Manual
Safety Instructions
Warning: Risk of electric shock.
Warning
In order to prevent fire and electric shock accidents, it is forbidden to install and use electrical accessories not equipped with this product!
Please cut off the power before installation, disassembly, maintenance, or cleaning to avoid personal injury!
If unusual oscillating movement is observed, immediately stop using the ceiling fan and contact the manufacturer, its service agent or suitably qualified persons.
Attention points
- The product must be installed by the manufacturer or professionally qualified person. The user must not install it by him/herself for safety reason.
- The fan ceiling shall not be installed on the switch box or light keel suspended ceiling, and the hanging area must be able to bear a weight of at least 60 kg.
- To avoid personal injury, the blades should be installed at least 2.3m height above the ground, and the outermost edge of the fan blades should be at least 0.5m away from the wall (when stretched).
- The product is dimmable with the supplied dimmer ONLY. Do not connect to an additional dimmer.
- Replaceable (LED only) light source by a professional: The LED light source contained in this luminaire shall only be replaced by the manufacturer or its service agent or a similar qualified person.
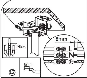
- All-pole disconnection switch with a contact greater than 3mm must be installed at the power input end of the product (All-pole disconnection: N-L can be disconnected at the same time. provided by the users)
- This appliance can be used by children aged from 8 years and above and persons with reduced physical, sensory or mental capabilities or lack of experience and knowledge if they have been given supervision or instruction concerning use of the appliance in a safe way and understand the hazards involved. Children shall not play with the appliance.
Cleaning and user maintenance shall not be made by children without supervision. - It is recommended to check the connecting parts at least once a year, such as cross pin, blade frame, connecting screw and fan blades, etc., to ensure that the connection is still safe and reliable.
- Regular cleaning can keep the surface clean and bright. Soft brush or cloth is suggested to remove dust to avoid damaging the surface. When removing oil or deposits, wipe with a slightly damp cloth, do not rinse with water.
- The bearing of the fan motor comes with grease. Please do not add lubricating oil additionally.
- This product contains a light source of energy efficiency class E
Product Tools

Components












Dimension


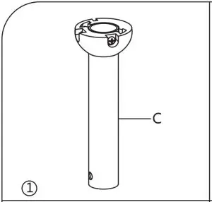
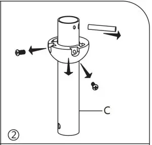
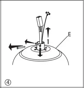
Assembly Instructions


















Remote Control

- Light ON
- Light OFF
Fan speed control: low
Fan speed control: medium
Fan speed control: high- Fan OFF
- Timer switch
- Torch ON/OFF

The way of re-coding
Notice: when the product is shipped out from the factory, the remote control has completed the coding and can be used without pairing. When replacing the remote control or motor driver, it need to be re-pairing.
- Cut the power off for 5 minutes.
- Press wall switch ON/OFF for 8 times, each time for 1 second. When the light flashes and no “Beep was heard, pairing process begins.
- Press “Medium” and “Low” speed button at the same time within 3 seconds. “Beep” will be heard when it is successfully paired. If not, turn off the power and wait for 1 minute before repeating the above operation.

















