Shenzhen Yihui Technology iFORCE W2 Cell Phone Holder with Wireless Car Charger Pad
Safety Precautions
- Please place the product out of the reach of children.
- Do not use it in a humid environment.
- Do not disassemble the product.
- Please avoid beating or striking the product.
- Do not attend to repair the product by yourself.
- This product is built with a gear control inside. Please do not force the holder to open or retract.
- Please note that this product needs to be used with the car chargers certified by QC2.0/QC3.0.
- It adopts the working principals of the wireless charging and capacitive sensing, namely, charging once touch.
- For the phones that will use this product, there should not be a ring clasp at the back of the phones, which is made of metal and will increase the thickness of the cell phones. With a ring clasp, it will affect the normal use of the product and charging efficiency.
PRODUCT OVERVIEW

- CD Movable Sensor Area/Indicator Light
- Side Button
- Type-C Charging Port
- Air Vent Clip
- Air Vent Clip Fixing Buckle
- Multi-angle Rotating Ball
- Multi-angle Rotating Ball Fixing Nut
- Plastic Connector
- Suction Cup Fixing Buckle
- Height-adjustable Structure
- Length-adjustable Bar
- Viewing Angle Adjustable Knob
- PVC Suction Cup
Installation Instructions
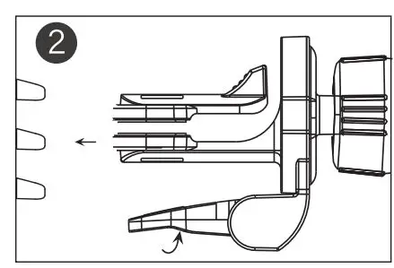
Cell Phone Holder With the Air Vent Clip
- Rotate to release the air vent clip fixing nut. Use the clip to grip the bottom leaf of the air

- Rotate to fix the air vent clip fixing nut.

- AdJust the phone holder and insert the Type-C cable into the charging port. The indicator will light up, and the holder will automatically open wide.

- Place the cell phone on the holder and It will be gripped firmly The holder will automatically detect the phone’s wireless charging position and move to the correct position.

Assembling the Air Vent Clip
- CD First assemble the fixing nut on the rotating ball to finish the air vent clip part.
- Assemble the air vent clip part on the back of the phone holder.
- Then twist the fixing nut to tighten it as needed.

Cell Phone Holder With the Suction Cup
- Place the suction cup on the gasket, and press the suction cup to make it fix firmly.

- Adjust the viewing angle adjustable knob and length-adjustable bar to make it the best viewing angle and length.

- Insert the Type-C cable into the charging port and it is ready to work.

Assembling the Suction Cup
- CD First assemble the fixing nut on the rotating ball of the suction cup to finish the suction cup part.
- Assemble the suction cup part on the back of the phone holder.
- Then twist the fixing nut to tighten it as needed.

Taking out the Phone
- When the user needs to take out the phone, press any side button to make the holder open wide.

- The holder will record the wireless charging position. There is no need to detect the position next time when the phone is placed. It will start charging once touch and the holder will grip it at the same time.

Product Specifications
| ProductName | Cell Phone Holder with Wireless Car Charger Pad |
| Model | iFORCE W2 |
| Product Size | 4’2.9’2.9 inches (104’74’74 mm) |
| Product Weight | About 165g of a bare phone clamp; About 175g with a air vent clip; About 245g with a suction cup. |
| Power Input | 5.0V; 9.0V; 12.0V /2.0A (MAX) |
| Power Output | 5.0V; 9.0V; 12.0V /1-1.5A (MAX) |
| Rated Power | 5W; 7.5W; 10W; 15W(MAX) |
| Sensing Distance | 2-Bmm |
FCC Requirement
Any changes or modifications not expressly approved by the party responsible for compliance could void the user’s authority to operate the equipment.
This device complies with Part 15 of the FCC Rules. Operation is subject to the following two conditions:
- this device may not cause harmful interference, and
- this device must accept any interference received, including interference that may cause undesired operation.
Note: This equipment has been tested and found to comply with the limits for a Class B digital device, pursuant to Part 15 of the FCC Rules. These limits are designed to provide reasonable protection against harmful interference in a residential installation. This equipment generates, uses, and can radiate radio frequency energy, and if not installed and used in accordance with the instructions, may cause harmful interference to radio communications. However, there is no guarantee that interference will not occur in a particular installation. If this equipment does cause harmful interference to radio or television reception, which can be determined by turning the equipment off and on, the user is encouraged to try to correct the interference by one or more of the following measures:
- Reorient or relocate the receiving antenna.
- Increase the separation between the equipment and receiver.
- Connect the equipment into an outlet on a circuit different from that to which the receiver is connected.
- Consult the dealer or an experienced radio/TV technician for

or visit:https://vasivo.alterservice.vip
Shenzhen Yihui Technology iFORCE W2 Cell Phone Holder with Wireless Car Charger Pad
Safety Precautions































