
Instruction Manual
Chamber Vacuum Sealer VacuChef 50
Artikel-Nr.: 1416
General
Please read the information contained herein so that you can become familiar with your device quickly and take advantage of the full scope of its functions.
Your vacuum sealer system will serve you for many years if you handle it and care for it properly. We wish you a lot of pleasure in using it!
1.1 Information on this manual
These Operating Instructions are a component of the vacuum sealer system (referred to hereafter as the Device) and provide you with important information for the initial
commissioning, safety, intended use and care of the device.
The Operating Instructions must be available at all times at the device. This Operating Manual must be read and applied by every person who is instructed to work with the device:
- Commissioning,
- Operation,
- Troubleshooting and/or
- Cleaning
Keep the Operating Manual in a safe place and pass it on to the subsequent owner along with the device.
1.2Warning notices
The following warning notices are used in the Operating Manual concerned here.
DANGER
A warning notice of this level of danger indicates a potentially dangerous situation.
If the dangerous situation is not avoided, this can lead to death or serious injuries.
- Observe the instructions in this warning notice in order to avoid the danger of death or serious personal injuries.
WARNING
A warning notice of this level of danger indicates a possible dangerous situation.
If the dangerous situation is not avoided, this can lead to serious injuries.
- Observe the instructions in this warning notice in order to avoid the personal injuries.
ATTENTION
A warning notice of this level of danger indicates a possible dangerous situation.
If the dangerous situation is not avoided, this can lead to slight or moderate injuries.
- Observe the instructions in this warning notice in order to avoid the personal injuries.
PLEASE NOTE
A notice of this kind indicates additional information, which will simplify the handling of the machine.
1.3 Limitation of liability
All the technical information, data and notices with regard to the installation, operation and care are completely up-to-date at the time of printing and are compiled to the best
of our knowledge and belief, taking our past experience and fi ndings into consideration.
No claims can be derived from the information provided, the illustrations or descriptions in this manual.
The manufacturer does not assume any liability for damages arising as a result of the following:
- Non-observance of the manual
- Uses for non-intended purposes
- Improper repairs
- Technical alterations, modifi cations of the device
- Use of unauthorized spare parts
Modifi cations of the device are not recommended and are not covered by the guarantee.
All translations are carried out to the best of our knowledge. We do not assume any liability for translation errors, not even if the translation was carried out by us or on our instructions. The original German text remains solely binding.
1.4Copyright protection
This document is copyright protected. Braukmann GmbH reserves all the rights, including those for photomechanical reproduction, duplication and distribution using special processes (e.g. data processing, data carriers, data networks), even partially. Subject to content and technical changes.
Safety
This chapter provides you with important safety notices when handling the device.
The device corresponds with the required safety regulations. Improper use can result in personal or property damages.
2.1Intended use
This device is only intended for use in households in enclosed spaces for vacuuming bags and canister, as well as sealing vacuum foils. In addition, this device can be used in the semi-professional sector (hunters, anglers, hobby cooks, etc.).
Uses for a diff erent purpose or for a purpose which exceeds this description are considered incompatible with the intended or designated use.
WARNING
Danger due to unintended use!
Dangers can emanate from the device if it is used for an unintended use and/or a diff erent kind of use.
- Use the device exclusively for its intended use.
- Observe the procedural methods described in this Operating Manual.
Claims of all kinds due to damages resulting from unintended uses are excluded.
The User bears the sole risk.
2.2 General Safety information
PLEASE NOTE
IMPORTANT SAFETY INSTRUCTIONS
READ CAREFULLY AND KEEP FOR FUTURE REFERENCE
Please observe the following general safety notices with regard to the safe handling of the device.
- Examine the device for any visible external damages prior to using it. Never put a damaged device into operation.
- If the connection lead is damaged, you will need to have a special connection lead installed by an authorized electrician to avoid any hazard.
- Unplug the device from mains power when it is not in use and before cleaning it.
- This appliance can be used by children aged 8 years and above and persons with reduced physical, sensory or mental capabilities or lack of experience and knowledge if they have been given supervision or instruction concerning use of the appliance in a safe way and understand the hazards involved.
- Children shall not play with the device. Children under the age of 8 years or unsupervised children may not clean the appliance or carry out any other work on the appliance.
- Keep the appliance and its power cable out of reach of children under the age of 8 years.
- The appliance should be cleaned regularly and all food residues removed after each use.
- Do not use or store the appliance outdoors.
- Do not leave the device unsupervised when it is in operation.
- Only customer service departments authorized by the manufacturer may carry out repairs on the device, as otherwise the guarantee entitlements will be null and void in the event of any subsequent damages. Improperly performed repairs can cause considerable dangers for the user.
PLEASE NOTE
- Defective components must always be replaced with original replacement parts. Only such parts will guarantee that the safety requirements are fulfi lled.
- When disconnect, please unplug by grasp the plug and not the cord, do not carry the device at the cord.
- Do not immerse in water or any other liquids.
- Do not move the device during vacuuming or sealing process.
- PLEASE READ THESE SAFETY INSTRUCTIONS CAREFULLY AND KEEP FOR FUTURE REFERENCE.
2.3 Sources of danger
2.3.1 Danger of burns
WARNING
The sealing bar gets very hot. Please observe the following safety notice in order not to burn yourself or others.
- To avoid getting burned, never touch the sealing bar directly after sealing process.
2.3.2 Danger of fire
WARNING
There is a danger of fi re due to the event the device is not used properly. Observe the following safety notices to avoid dangers of fire:
- Do not set up the device near fl ammable material.
- Keep this appliance away from sources of heat (gas, electric, burner, heated oven).
2.3.3 Dangers due to electrical power
DANGER
Mortal danger due to electrical power!
Mortal danger exists when coming into contact with live wires or subassemblies! Observe the following safety notices to avoid dangers due to electrical power:
DANGER
- Do not operate this device if it has a damaged cable or plug, if it is not working properly or if it has been damaged or dropped. If the power cable or plug are damaged, then they must be replaced by the manufacturer or its service agent in order to avoid a hazard.
- Do not open the housing on the device under any circumstances. There is a danger of an electrical shock if live connections are touched and the electrical or mechanical structure is altered. In addition, functional faults on the device can also occur.
- Before plugging the appliance in or when you operate it, make sure your hands are dry.
Food storage safety information
Please follow the specifi c instructions for vacuuming and sealing; this will enable you to guarantee the quality and safety of your vacuumed / sealed food items.
PLEASE NOTE
Please follow certain procedures when using this appliance to ensure food quality and safety.
- If perishable foods have been heated, defrosted or un-refrigerated, consume them immediately.
- Before vacuum sealing, it’s necessary to clean your hands, and all utensils and surfaces to be used for cutting and vacuum sealing foods.
- Refrigerate or freeze the perishable foods immediately, if you have vacuum-sealed them, and do not leave them sitting at room temperature.
- The shelf life of dry foods such as nuts, coconut or cereals will be extended in vacuum-sealed package, while storing them in dark place.
Oxygen and warm temperature will cause high-fat content foods fat to rancidity. - Before vacuum sealing some fruit and vegetables, such as apples, bananas, potatoes and root vegetables, peel them, this will extend their shelf lives.
- When vacuum seal some vegetables such as broccoli, caulifl ower and cabbage fresh for refrigeration, they will emit gases, so it’s need to blanch and freeze these foods before vacuum sealing.
Getting Started
This chapter will guide you through safely unpacking and setting up your new unit.
4.1 Packaging safety information
WARNING
- Do not allow children to play with packaging materials due to risk of suff ocation.
4.2 Delivery scope and transport inspection
The vacuum sealer system VacuChef 50 includes the following components:
- VacuChef 50
- 30 edge seal bags (28 x 25 cm)
- Instruction manual
- vacuum hose
- Spare gasket
- Air fi lter + adapter
PLEASE NOTE
- Examine the shipment to ensure the unit and manual are included and inspect the unit for any visible damage.
- Immediately notify the carrier and/or the supplier about an incomplete shipment or any damage as a result of inadequate packaging or mishandling.
4.3Functions
Vacuum-packaged foods stay fresh for up to eight times longer: maintain taste and freshness, and reduce costs with less spoiled food.
- Package foods, such as meat, fi sh, poultry, seafood and vegetables for refrigerated storage.
- Maintain the freshness of dry foods, such as beans, nuts, and cereals.
- Besides storing food, there are many other uses for vacuum sealing: Protect moisture-sensitive items such as camping supplies, matches, first aid kits, roadside flares and clothing. Protect prized collectibles from dust and moisture.
4.4Unpacking
Carefully remove the packaging material and unit from the carton.
PLEASE NOTE
- If possible, keep the original packaging for the duration of the guarantee period in the event a return is necessary.
4.5 Setup location requirements
In order to ensure the safe and trouble-free operation of the device, the setup location must fulfi ll the following prerequisites:
- The device must be set up on a solid, even, horizontal surface capable of supporting the vacuum sealer and any items to be vacuum-sealed.
- The device is not intended to be installed in a wall or a built-in cupboard.
- Select a setup location where children cannot reach the hot sealing strip of the device.
- Do not set up the unit in a hot or damp environment or near fl ammable material.
- Do not place the device near a gas or electric cooker or an oven
- To operate correctly, the unit requires suffi cient air fl ow. Leave at least 10 centimeters (4 inches) of space on all sides when setting up the unit.
- Do not move the vacuum sealer when it is in operation.
- The electrical outlet must be easily accessible so that the plug can be quickly disconnected in the case of an emergency.
- The setup of this unit in non-stationary locations (e.g., boats, airplanes, motor homes) must be carried out by a qualifi ed electrician, provided they guarantee the prerequisites for the safe use of the unit.
4.6Electrical connection
In order to ensure the safe and trouble-free operation of the device, the following instructions must be observed for the electrical connection:
- Before plugging in the unit, compare the voltage and frequency data on the vacuum sealer’s rating plate (found on the bottom of the unit) with that of your electrical net- work. This data must be compatible. If in doubt consult a qualifi ed electrician.
- The use of a multi-plug outlet adapter is not recommended due to fi re danger.
- Inspect the power cord for damage and ensure it doesn’t run under the unit or over hot or sharp surfaces.
- The electrical outlet must be protected by a 16A safety cut-out switch.
- The electrical safety of the unit is only guaranteed if it is connected to a properly installed protective conductor system. If in doubt, consult a qualifi ed electrician. The manufacturer cannot be made responsible for damages due to a missing or damaged protective conductor.
- The unit is not intended for operation with an extension cord.
Complete Overview
This chapter provides you with an overview of your vacuum sealer and explains some of its key features.
5.1 Appliance diagram
- Bag fi xing bar: Fixes the bag during vacuuming and sealing.
- On/Off power switch
- Recessed grips: On both sides of the device.
- Sealing strip: Presses the bag against the sealing bar.
- Gasket: A spare gasket is included in the scope of delivery.
- Vacuuming hose connector: For vacuuming of vacuum containers or vacuum zip bags.
6a Air fi lter with adapter: Prevents liquids and dirt from penetrating the device housing. Remove the air fi lter and adapter to connect the vacuum hose.
- Sealing bar: Contains a heating wire covered with Tefl on which allows the bag to seal but not to stick to the strip.
- Control panel
- Vacuum chamber
WARNING
The sealing bar gets very hot.
Please observe the following safety notice in order not to burn yourself or others.
To avoid getting burned, never touch the sealing bar directly after sealing process.
PLEASE NOTE
Do not remove the Tefl on tape (T).
5.2 Control Panel
- Negative pressure indicator/ manometer: Indicates the negative pressure level in the chamber
- display vacuum time: Numeric display with 2 functions Shows the set vacuum time
• Shows how long the vacuuming process will take - display sealing time: Numeric displawith 2 functions
• Shows the set sealing time
• Shows how long the sealing process will take - Time setting (Set): To set vacuuming time from 05 – 60 seconds (in 5 second increments) or sealing time from 3 – 9 seconds (in 1 second increments).
- + / – For increasing/decreasing of vacuum time or sealing time
- Cancel: Press the button to stop the vacuuming/ sealing process
- Vacuum & Seal: Automatic vacuuming and sealing of bags or to vacuum or seal vacuum containers or vacuum zip bags using the vacuum hose when the lid is open
- Seal: 2 diff erent functions
• To seal the open end of a bag without vacuuming air function
• For manual sealing of a bag after marination. - Marinate: For marinating in a container or in a vacuum bag (no automatic heat sealing after the marinating process)
5.3 Rating plate
The rating plate with connection and performance data can be found on the back of the device.
Operation
This chapter provides instructions on the proper operation of your vacuum sealer.
6.1 Setting of vacuum time
- Press button „Set“ once.
- The preset vacuum time is fl ashing.
- You can set the vacuum time with + / -.
PLEASE NOTE
- Diff erent food and bag sizes require diff erent vacuum time.
- Large, partially empty bags require longer vacuum time as small bags.
- Please note: The more food there is in the bag, the less air it will contain. Correspondingly, you will require less time to vacuum the bag.
6.2 Setting of sealing time
- Press the “Set” button again.
- The preset sealing time is fl ashing.
- You can set the sealing time with + / -. Sealing time depends on size and material of the bag, ambient temperature and type of food. Increase the sealing time by 2 seconds in cold ambient temperatures and when using wet bags.
6.2.1 Recommendation – Sealing time for varying bag thicknesses
The optimum sealing time depends on many factors. These include the bag thickness (µm), the vacuuming time and how much food there is in the bag. The fi gure provides recommended sealing times for varying bag thicknesses.
6.3 Bags and rolls
Please use only bags and rolls specifi cally designed for vacuum sealing. The vacuum rolls and bags supplied with the device are suitable for sous vide cooking (70 °C for 2 hours and 100 °C for 15 minutes). When using other manufacturers’ bags and rolls, please make sure that they are also suitable for use in microwave and sous vide (boil-in-the-bag) cooking.
6.4 Vacuum packaging with a bag in the vacuum chamber
- Place the device on a dry place.
- Plug in the power plug.
- Open the lid of the device.
- Place the food to be preserved inside the bag.
PLEASE NOTE
Strike excessive air out of the bag for best vacuum result.
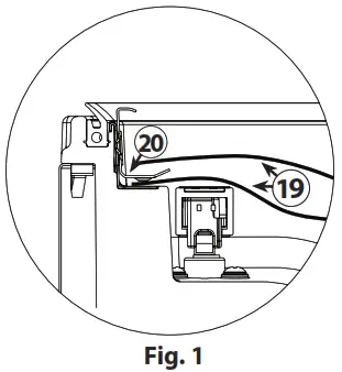
Clean and straighten the open end of the bag–ensure there are no wrinkles or ripples. - Insert the bag (19) in the device so that the fi xing bar (20) is in the middle of the open side of the bag. One side of the open end of the bag must be above the fixing bar (20) and the other under it so that the air can be completely extracted from the bag. (Fig. 1)
- Use the On/Off power switch to turn the device on.
- The display shows the set vacuum and sealing time.
- Adjust the vacuum and sealing time as desired.
- Close the lid and press „Vacuum & Seal“.
- Press the lide down for 2 seconds after starting of vacuum process.
- The device automatically vacuums and seals the bag.
- The vacuum time is counted down to 0, then the sealing time is counted down to 0.
- The corresponding LED lights up and turns off when the process is complete.
- You can cancel the operation at any time by pressing „Cancel“.
- Open the lid of the device and take out the bag.

PLEASE NOTE
- The fan of the unit will run on for a moment after operation.
- Remove excessive liquid or food residues from vacuum chamber after each vacuum process.
6.5 To make a bag from the roll
- Place the device on a dry place.
- Plug in the power plug.
- Open the lid of the device.
- The display shows the set vacuum and sealing time.
- Set the sealing time as desired.
- Roll the fi lm at desired length and cut it with a clean cut.
- Insert the bag (19) in the device so that the fi xing bar (20) is in the middle of the open side of the bag. One side of the open end of the bag must be above the fi xing bar (20) and the other under it so that the air can be completely extracted from the bag. (Fig. 1)
- Close the lid of the device.
- Use the On/Off power switch to turn the device on.
- Press Seal button.
- The bag will be sealed.
- The vacuuming time will fl ash when reaches 0 and the pump will operate for a few seconds.
- The sealing time is counted down to 0.
- The corresponding LED lights up and turns off when the process is complete.
- Open the lid and take out the bag.
- Now you can use bag for vacuuming.
PLEASE NOTE
- We recommend a break between each vacuuming/ sealing process so that the sealing bar can cool down. It is, however, also possible to seal several bags one after another without a break.
- Make sure that the bag you want to use is at least 8cm/3.1in. longer than the food.
Add another 2 cm/0.8in. for each time the bag is re-used. - Do not overstuff the bag; leave enough empty length in the open end of the bag (at least a few inches) so that the bag can be properly placed in the vacuum chamber.
- Do not wet the open end of the bag. Wet bags may not seal properly.
- Clean and straighten the open end of the bag before sealing. Foreign matter or creases on the bag may result in a faulty seal.
Do not wet the open end of the bag. Wet bags may not seal properly. - If the food you’re sealing has sharp edges (such as bones or shells) pack the edges with kitchen paper to avoid tearing the bag
- First freeze liquid food in a suitable container and then put it in a bag to vacuum seal it.
- As food can expand slightly during freezing, choose a bag about 8 cm longer.
- Place unfrozen meat or fi sh on a paper towel and vacuum seal with the paper towel in the bag to absorb any extra moisture.
- Separate soft foods that stick together easily with baking or parchment paper and then vacuum seal them. This will make it easier to remove.
6.6 Sealing a bag without vacuuming it
You can seal a bag without vacuuming it. Insert the bag in the vacuum chamber as usual and press the “Seal” button. To ensure a cleanly welded seam a short vacuuming
process must be carried out to ensure that the device’s lid is tightly sealed. In the case of small or full bags this may result in the creation of a vacuum which is too strong. To
solve this problem, simply seal the bag outside the vacuum chamber. To do this, place the bag over the sealing bar, close the lid and press the “Seal” button. This works only
with smooth sealed edge bags. If structured bags are used a slight negative pressure will be created and could result in pressure-sensitive food items being squashed.
6.7 Vacuuming a structured bag outside the vacuum chamber
Structured bags can also be vacuumed outside the vacuum chamber.
To do this, place the bag over the sealing bar and close the lid. Proceed as described from Step 5 of the “Vacuum packaging a bag in the vacuum chamber” section.
However, this works only with structured bags.
6.8 Vacuum package in a Canister
- Place the device on a dry place.
- Wipe the vacuum container and its lid to make sure they are clean and dry.
- Fill the vacuum goods into the canister. Be careful not to fi ll in too much vacuum goods.
- Close the container with its lid.
- Open the device’s lid and remove the air filter and adapter (6a).
- Attach one end of the vacuum hose to the device’s connector (6) and the other end to the connector on the container lid or use a corresponding adapter on the container lid.
- Set the vacuuming and sealing time as desired. Make sure that the vacuuming time is not too long as the container could burst if the pressure becomes too high.
- Press „Vacuum & Seal“.
- To ensure there is no air leaking between the cover and the canister, use your hand to push down the cover at the beginning of the vacuum operation.
- You can stop the process at any time by pressing the “Cancel” button.
- Remove the vacuum hose from the cover of container first then from the connector at device.
PLEASE NOTE
- You can also use vacuum zip bags for the vacuuming process. When using zip bags please note that a corresponding adapter is required for the vacuum hose.
6.9 Marinate
- Place the device on a dry place.
- Place the food inside the bag.
- Open the device’s lid.
- Insert the bag into the vacuum chamber as for the vacuuming process.
- Press „Marinate“ Button.
- Air is removed and automatically reinserted after the vacuuming process. The device will work for 5 cycles.
- The „Marinate“ process ends automatically.
- The bag will not be automatically sealed when the “Marinate” process fi nishes. You can start this manually with the „Seal“ button if necessary.
- The device beeps when the operation is completed.
PLEASE NOTE
- You can also use vacuum marinating containers for marinating. To do this, follow steps 1–6 as described in 6.8 and press the „Marinate“ key. The valve in the container
lid must be open. Remove the vacuum hose from the cover of container first then from the connector at device.
6.10 Opening of a sealed bag
Cut the bag straight across with scissors just inside the seal.
6.11 Storage
Store the device in its upright position, out of the reach of children.
PLEASE NOTE
- Unplug the device after using. So you reduce the unnecessary energy consumption and ensure your safety.
- Always unplug the appliance from its outlet immediately after using and before cleaning.
Cleaning and Maintenance
This chapter provides important information on properly cleaning and maintaining your vacuum sealer.
7.1 Safety information
ATTENTION
Please observe the following safety notices, before cleaning the unit to avoid damage to the unit or personal injury:
- To ensure optimum performance, the unit must be cleaned regularly. Failure to clean the unit regularly can lead to potential malfunctions, as well as safety and health risks.
- Unplug the device before to cleaning.
- The sealing strip remains hot after use. Wait a few minutes until the strip has cooled before cleaning.
- Clean the unit after every use as soon as it has cooled. Leaving the unit uncleaned for long periods can make it very diffi cult to remove leftover food and grime and may even damage the unit.
- If moisture penetrates the unit’s housing, it can damage the electronic components. Please ensure that no moisture enters the device.
- Do not use any harsh or abrasive cleaning agents.
- Do not attempt to scrape off stubborn grime with hard or abrasive tools.
- Dry all parts thoroughly before using after cleaning.
- Never immerse the device in water or other liquids and do not place in the dishwasher.
7.2 Cleaning
Outside of the unit: Wipe with a damp cloth or sponge and mild dish soap.
Inside of the unit: Wipe away any food or liquids with a paper towel. If you remove the gasket during cleaning, then dry it thoroughly and reinsert it correctly, otherwise the
device cannot properly produce the vacuum.
Cleaning bags for reuse
Wash the bags in warm water with a mild dishwashing soap, then rinse them well and allow them to dry completely before reusing.
ATTENTION
- Bags used to store raw meats, fi sh or greasy foods should never be reused due to risk of contamination.
Troubleshooting
The following table may help you narrow down and address minor malfunctions.
8.1 Safety notices
ATTENTION
- Only qualifi ed electricians, who have been trained by the manufacturer may carry outany repairs on electrical equipment.
- Improperly performed repairs may result in personal injury or damage to the device.
8.2 Troubleshooting table
| Error | Possible cause | Rectification |
| Device does not turn on | Power plug is not plugged in. | Plug in the power plug. |
| Defective power cord | Send device to Customer Service | |
| Defect socket outlet | Select other outlet | |
| A complete vacu- um is not being created in the bag | The open end of the bag is not completely inside the vacuum chamber | Position the bag correctly |
| The bag is defect | Select another bag | |
| There is dirt on the welding and the normal seals | Clean the seals and retry correctly once they are dry | |
| The bag is not being welded correctly | The sealing bar is overheating so that the bag melts | Open the cover on the unit and let it cool down for a few minutes. Sealing bar needs to be replaced. |
| Defect sealing bar | ||
| The bag does not hold the vacuum after it has been sealed | The bag is defective | Select another bag; wrap paper around any sharp edges within the bag. |
| There are leaks along the welding seam as a result of creases, crumbs, grease or liquids. | Open the bag again and clean the upper internal part of the bag. Remove any foreign matter that might be on the welding bar before sealing. | |
| Bag is melting | The bag was sealed too long | Check if the sealing time is too long. |
PLEASE NOTE
- If you cannot solve the problem by carrying out the steps described above, our Cus- tomer Service will help you free of charge.
Disposal of the Old Device
To protect the environment, it’s important to dispose of old electronic devicesproperly. Do not place your old unit in the non-recyclable waste under any circumstances.
PLEASE NOTE
- Please take your old unit to the nearest recycling center for safe disposal.
- Until it can be disposed of properly, store your old unit away from children.
9.1 Disposal of the packaging
Caso believes in the importance of recycling and has selected packaging materials that not only protect your unit from damage during transit, but can be recycled to minimize any ecological impact. Recycling the packaging materials preserves raw materials and reduces waste. Take any packaging materials that are no longer required to a recycling collection point for proper disposal.
Guarantee
We provide a 24-month guarantee for defects caused by production or material faults, beginning on the date of purchase. Our guarantee is valid for Germany, Austria and the Netherlands. For all other countries, please contact us. Your legal guarantee claims as per Art. 437 ff . German Civil Code (BGB) will remain unaff ected by this. You may exercise your statutory guarantee rights free of charge. The guarantee does not cover damage caused by improper handling or use of the product or defects which have only a minor impact on the product’s functionality or value. In addition to this, the guarantee also excludes parts which are subject to wear and tear; transport damages insofar as we are not responsible for them and damages caused by repairs which were not carried out by us. This product has been constructed for non-commercial use (domestic use) and its performance is designed to meet the corresponding needs. The guarantee only covers commercial use insofar as it is comparable to domestic use. The product is not intended for any other type of commercial use. In the case of legitimate complaints we may either repair the defective product or replace it with a defect-free product at our discretion. Obvious defects must be notifi ed to us within 14 days of the product’s delivery. Any further claims are excluded. When making a guarantee claim please contact us before you return the product (always with the purchase receipt!). Our contact details (“Guarantor”) are provided at the beginning of this instruction manual.
Technical Data
| Device | Chamber acuum Sealer |
| Name | CASO VacuChef 50 |
| Item No. | 1416 |
| Mains data | 220 V – 240 V; 50 Hz / 60 Hz |
| Power consumption | 300 W |
| External measurements (W x H x D) / | 360 mm x 210 mm x 290 mm |
| Net weight | 8,05 kg |
| Capacity | 70 L/min |
| Maximum bag width / | Suitable for 30 cm bags / |
Garantiegeber: Braukmann GmbH
Raiff eisenstraße 9
D-59757 Arnsberg
Service-Hotline International:
Tel.: +49 (0) 29 32 / 80 55 4 – 99
Fax: +49 (0) 29 32 / 80 55 4 – 77
eMail: [email protected]
Internet: www.caso-design.de
www.caso-design.de
Braukmann GmbH
Raiffeisenstraße 9 | D-59757 Arnsberg
Service-Hotline International:
Tel.: +49 (0) 29 32 / 80 55 4 – 99
Fax: +49 (0) 29 32 / 80 55 4 – 77
eMail: [email protected]
Internet: www.caso-design.de





















