AVG Series 135mm Bulb Revolving Warning Signal Light
Instruction Manual

Thank you for purchasing a AVG series Signal Light. To ensure proper operation, please read this instruction manual thoroughly before attempting to use the system Also, when undertaking maintenance, inspection or repair work, be sure to refer to this manual,
Feature
- Incandescent type
- Red, Yellow, Green and Blue lens available
- Smooth lens
- Extended Product Life
- Stud mounted
- Optional Wall Mounting Brackets available
- Buzzer(80dB) Model available
Ordering Information

Specification
| Function | Rotating, Buzzer |
| Power Supply | DC 12V , DC 24V 110V AC , 220V AC (AC. 50/60Hz) |
| Diameter | 135 mm |
| Lens color | Red, Yellow, Green, Blue (Lens Type : Smooth) |
| Rotation rate | 150±10 times/min |
| Buzzer Volume | App. 80±5dB |
| Ambient temperature | -15 – 40°C |
| Storage ambient temperature Ambient Humidity | -20 – 70°C 45-85% RH |
| Protection structure | IP42 |
| Approval | UL, CE, RoHS |
| Wire Size | 110V – UL1007/18AWG 24V – UL1007/22AWG |
Current consumption
| Power suppply | 12V | 24V | 110V | 220V |
| Current consumption | 2.08A, 25W | 1.04A, 25W | 0.22A, 25W | 0.11A, 25W |
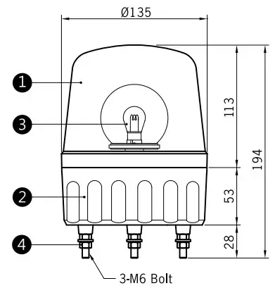
Dimensions <Unit:mm>

Part name
| No | Part name | Material |
| 1 | Lens cap | PC resin |
| 2 | Base Body | ABS resin |
| 3 | Bulb | Base:BA15D. Grass |
| 4 | Fixing nut | Steel, M6 |
How to Mounting Caiti
Caution
Do not install with wrong direction, as it may be water leaked. Signal Tower must be installed in a vertical position where it has enough strength and less vibration. Do not install it horizontally or reversely. When the installation of this product requires the construction, please ask to specialist Electric shock, fire and fall may occur. When mounting the unit outdoors or in a place where water may splash on it, avoid inverted or sideways mount.

Wiring Connection
Caution
- Turn off the power supply before making wiring connections.
- Neglecting to so may cause an electric shock.
- Wiring should be careful enough the retune for no mistake. If wiring is mistaken,an internal circuit will be damaged and it will become the cause of a fire.
- Make sure to set fuse in a power supply side, please connect a fuse.
- Sound pressure level in specifications is the maximum level.
- Operating sound pressure level may be lower than the specified level due to the type of melody or surge voltage.

Wall Mounting Bracket
Model: MAM-DS27 (Steel)

Bulbs
![]()
| Energy Used: 25W Base Type: Double Contact (BA15D) Color / Finish: Clear Length: 54mm Width: 22mm | Model no. Volts: 12V MAB-T15-D-012-25 Volts: 24V MAB-T15-D-024-25 Volts: 110V MAB-T15-D-130-25 Volts: 220V MAB-T15-D-240-25 |
Change Bulb
Please follow the procedure mentioned below to change the bulb.
- Make sure power is turned off when changing lens.

- Remove lens.
- The bulb can b e easily rem
– oved by pressing it downs
– ard to turn to left. - The new bulb can be easily installed by pressing it downward to turn to right.
- Install lens.
TO OPERATE THIS PRODUCT SAFELY, PLEASE OBSERVE THE FOLLOWING
NOTES TO BE OBSERVED FOR SAFE OPERATION
Note to be followed to prevent any damage to the user and other personnel or to assets are as follows.
The indications for warning are divided into the following classes according to the degree of danger or damage incurred when the warning is not taken into consideration and the product is not correctly used.
Warning
This symbol marks important instructions that, if ignored or incorrectly followed, could conceivably lead to death or serious injury.
Caution
This symbol marks important instructions that, if ignored or incorrectly followed, could conceivably lead to injury or property damage.
Warning
- Follow wiring diagram completely. If wiring is mistaken, an internal circuit will be damaged and it will become the cause of a fire.
- Do not use this product without lens or head cover with cracked lens. It may cause electric shock.
- Make sure power is turned off to avoid electric shock, when you repair this product.
- Make sure power is turned off and the lamp is cool before you repair anything to avoid electric shock or burning yourself.
- Make sure power is turned off when checking or changing a fuse to prevent danger of electric shock.
- Turn off the power supply before making wiring connections. Neglecting may cause an electric shock.
- All loose ends of wires left unconnected upon the completion of wiring must be insulated individually, or they may cause equipment problems, short circuit or electric shock.
- When mounting the unit outdoors or in a place where water may splash on it, avoid inverted or sideways mount. If water seeps into the unit through the drain hole on the bottom of the case, and collects inside, it may cause an electric shock or short circuit.
- Be sure to waterproof the uncoated part of power supply line and signal line in case this product is used in the rain or water exposing environment. Water immersion of the product may result in malfunction or electric shock.
- Residual high voltage may cause electric shock! Please wait 1 minute or more before you change lamp.
Caution
- Use only specified operating voltage range. Excess voltage hastens degradation.
- Make sure to set fuse in a power supply side, please connect a fuse.
- To clean lens, head cover, and body, wipe with water or glass cleaner soaked soft cloth. Do not use thinner or benzine, gasoline, oil as these cause color change or deform the surface.
- Absolutely do not connect direct power in a signal wire and common wire, damage the internal circuit.
- Make sure not to use any other bulbs except ones described in specifications
118-1, Ungbigongdan-gil, Yangsan-si, Gyeongsangnam-do, Korea, 50524
TEL : 82-55-371-5200
http://www.menics.co.kr
FAX: 82-55-371-5202
E-mail: [email protected]
Specifications and dimensions listed in the User Manual are subject to change without prior notice for product quality improvement.
AVG-MAN-EN-201802D![]()




















