TOKYO NY-POWER HL-82V 2 Meter Power Amplifier
INSTRUCTION MANUAL
General Information
The HL-82V is a high power linear amplifier designed for the 144MHz amateur band operation. It features a stable and powerful amplifier along with excellent linearity which is especially effective on SSB mode. The built in high-gain receiver pre-amp used in the HL-82V enables you to enjoy more comfortable dX QSOs. In addition the RX pre-amp can be independently operated.
Features
- Power Level Meter
- Accurate output power can be read with a built-in precision directional coupler.
- Low Noise MOS FET RX Pre-Amp
- The latest MOS-FET with high gain and excellent cross modulation characteristics, amplifies even a very weak receiving signal. This preamp can be independently operated, when only receiver amplification is needed.
- Output Power Level Switch (HI/LO)
- Output power can be reduced by one-half at the “LO” position.
- FM/SSB Mode Switch
- The time constant of the COX (automatic send-receive switch) is changed in relation to the mode, in “FM”, the change from “TX” to “RX” is made instantly and in “SSB”, with some delay.
- Terminal for Remote Send-Receive Control
- A remote control terminal is accomodated at the rear panel. This enables a smooth and instantaneous change-over especially on SSB mode, when two leads are wired to the remote control terminal of the transceiver.

- A remote control terminal is accomodated at the rear panel. This enables a smooth and instantaneous change-over especially on SSB mode, when two leads are wired to the remote control terminal of the transceiver.
Specifications
- DC Power : +13.8V, 13A (max)
- Frequency 144MHz amateur band (144-148)
- Mode FM, SSB, CW
- Output Power 10-85W
- Input Power 1-12W
- Input/Output Impedance 50 ohms
- Input/Output Connectors SO-239
- Accessory Circuit COX (Carrier Operated T-R Switch), RX Pre-amp, Power Meter, Power Level switch, Reverse Polarity Protection
- Semiconductors Used RF Power Transistor 1 Transistors 3 MOS FET 1 Diodes 1
- Accessories 15A spare fuse 1 Instruction manual, 1
- Dimension 152(W) x 92(H) x 217(L) mm
- Weight Approx. 1.8 kg
Explanation of features
Front Panel
- Heat Sink: Aluminum, heavy duty
- DC Power Switch: ON/OF F
- RX Switch: Receive pre-amp switch, ON/OFF. For independent RX pre-amp operation turn this switch on with “POWER” switch off.
- MODE Switch: SSB/FM mode select, at “SSB” the changeover from TX (send) to RX (receive) is made with some delay of approx. 1 second, and at “FM”, the change I made instantly.
- Output Power Meter: Monitors output level
- Power Level Switch: Selects either high or low output level, at “HI”, full power is delivered and at “LO”, one half of the full output.
- “POWER- Pilot Lamp: Red lamp indicates DC power is on.
- “RX” Pilot Lamp: Red lamp indicates receive preamp is ready.
- “ON AIR” Pilot Lamp: Green lamp indicates the amp is transmitting or on the air
Rear Panel 
- Name Plate
- “ANT” Connector: Connect antenna
- “TX” Connector: Connect the cable from the transceiver
- Remote Control Terminal: Although HL-82V has an automatic COX send/receive switch, HL-82V can also be controlled remotely by the transceiver. (See item 8. of operation). Two lead wires should be connected to remote output of the transceiver, which becomes “make” or “short” when transmit.
- Fuse Holder: 15A
- DC Power Leads Red for positive, black for negative.
Setting and Operation
- Connect DC power leads to the DC power supply and/or the battery, red lead to the positive (+) terminal and the black one to the negative (-).
- Using a coaxial jumper cable (50 ohm type), connect “TX
- (N)” of the rear panel to the Antenna connector of the transceiver.
- Connect the antenna cable to the “ANT (OUT)” at the rear panel.
- The impedance condition of the antenna used (or SWR) must be checked to be 1.5 or less by using SWR meter.
- Operating the transceiver to “transmit”, H L-82V is also automatically operated to transmit.
- Operating the transceiver to “stand-by (or receive)”, H L82V is automatically switched to “receive” state.
- Turning the DC power switch off, the receiving and transmitting signals to and from the transceiver will bypass the HL-82V.
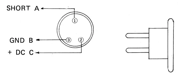
- For a remote control operation by the transceiver, remove a cover of the plug, and solder the two leads to pins 1 and 3.
- A lead connected to pin 3 must be wired to ground pin of the remote control terminal of the transceiver.
- The other lead connected to pin 1 must be wired to pin of the transceiver, which becomes “make” or “short” at transmitting. (See page 1 also for connection.)
Caution
- Nominal DC power supply voltage of HL-82V is 13.8V, and HL-82V is designed to work from 12V battery system.
- Please do not apply DC voltage over 15V, or the internal transistor circuitry will be blown off.
- Since the expensive and precision components are used throughout, please do not touch or trim the internal parts.


NEED HELP
- 1-1Hatanaka 6-chome,
- Niiza, Saitama 352 JAPAN
- Phone : 0484-81-1211






















