www.klarstein.com
HOT SPOT WAVE
Towel Warmer
10032994
Note: This product is only suitable for well insulated spaces or for occasional use.
Dear Customer,
Congratulations on purchasing this device. Please read the following instructions carefully and follow them to prevent possible damage. We assume no liability for damage caused by disregard of the instructions and improper use. Scan the QR code to get access to the latest user manual and more product information.
TECHNICAL DATA
| Item number | 10032994 |
| Power supply | 230 V ~ 50 Hz |
| Power consumption | 1000 W |
MANUFACTURER & IMPORTER (UK)
Manufacturer:
Chal-Tec GmbH, Wallstrasse 16, 10179 Berlin, Germany.
Importer for Great Britain:
Chal-Tec UK limited
Unit 6 Riverside Business Centre
Brighton Road
Shoreham-by-Sea
BN43 6RE
United Kingdom
PRODUCT DATA SHEET
| Model identifier(s): | 10032994 | ||||||
| Item | Symbol | Value | Unit | Item | Unit | ||
| Heat output | Type of heat input, for electric storage local space heaters only | ||||||
| Nominal heat output | 1.0 | kW | manual heat charge control, with integrated thermostat | N/A | |||
| Minimum heat output (indicative) | N/A | kW | manual heat charge control with room and/or outdoor temperature feedback | N/A | |||
| Maximum continuous heat output | 1.0 | kW | electronic heat charge control with room and/or outdoor temperature feedback | N/A | |||
| Auxiliary electricity consumption | fan assisted heat output | N/A | |||||
| Al nominal heat output (fan motor) | N/A | kW | Type of heat output/room temperature control | ||||
| At minimum heat output (fon motor) | N/A | kW | single-stage heat output and no room temperature control | no | |||
| In standby mode | 0.0 | W | Two or more manual stages, no room temperature control | no | |||
| with mechanic thermostat room temperature control | no | ||||||
| with electronic room temperature control | no | ||||||
| electronic room temperature control plus day timer | no | ||||||
| electronic room temperature control plus week timer | yes | ||||||
| Other control options (multiple selections possible) | |||||||
| room temperature control, with presence detection | no | ||||||
| room temperature control, with open window detection | no | ||||||
| with distance control option | no | ||||||
| with adaptive start control | yes | ||||||
| with working time limitation | yes | ||||||
| with black bulb sensor | no | ||||||
| Contact details | I Chal-Tec GmbH, Wollstralle 16, 10 79, Berlin, Germany | ||||||
SAFETY INSTRUCTIONS
- Do not use the appliance until it is securely fixed as described in this manual.
- Check that the voltage indicates on the data plate corresponds with that of the local network before connecting the appliance to the mains power supply.
- If the supply cord is damaged, it must be replaced by a qualified engineer in order to avoid a hazard.
- The fireplace heater must not be positioned directly under the power socket.
- Keep furniture, curtains, and other flammable material at least 1 meter away from the appliance.
- Do not leave the appliance unattended during use.
- Do not leave the appliance unattended whilst connected to the main supply.
- Keep out of reach of children and do not allow them to operate this appliance.
- This appliance is intended for household use only and should not be used for industrial purposes.
- Do not operate this appliance after a malfunction or after being damaged in any way.
- Repairs to electrical appliances should only be performed by a qualified electrician.
- Improper repairs may place users at serious risk.
- Do not run the mains cable under carpets, rugs, etc.
- Do not allow the main cable to hang over sharp edges or come in contact with hot surfaces.
- In order to avoid overheating, do not cover the heater.
- Do not use this heater with a programmer, timer, separate remote control system, or any other device that switches the heater on automatically, since a fi re risk exists if the heater is covered or positioned incorrectly.
- Never immerse the product in water or any other liquid for any reason.
- Do not use this heater in the immediate surroundings of a bath, a shower, or a swimming pool.
- Do not use the appliance outdoors.
- Do not use it if you have wet hands.
- Never use the appliance on or near hot surfaces.
- Do not operate with a damaged cord.
- Before cleaning the appliance, make sure it is unplugged from the power and that it is completely cooled.
- Do not clean the appliance with abrasive chemicals.
- Never use accessories that are not recommended or supplied by the manufacturer.
It could cause danger to the user or damage to the appliance. - This appliance is not intended for use by persons (including children) with reduced physical, sensory or mental capabilities, or lack of experience and knowledge unless they have been given supervision or instruction concerning the use of the appliance by a person responsible for their safety.
- Children should be supervised to ensure that they do not play with the appliance.
CAUTION
Risk of burns! Some parts of this product can become very hot and cause burns. Particular attention has to be given where children and vulnerable people are present.
PRODUCT OVERVIEW

CONTROL PANEL

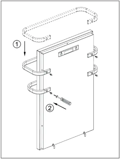
INSTALLATION ACCESSORIES

| 1 | Upper towel rail | 1x |
| 2 | Lower towel rail | 1x |
| 3 | Wall mounting | 1x |
| 4 | Dowels | 4x |
| 5 | Screws for wall mounting | 4x |
| 6 | Screws for towel rails | 4x |
INSTALLATION
We recommend installing the heater in the bathroom area at least 0.6 m away from the shower OR bathtub as shown in the picture.

Rack Installation instruction
Fix two Towel Racks on the Heater by screw.

Wall Mounting Installation
- Drill two holes in the wall from the dimension.
- Fix two anchors into the wall and fix wall-mounting support on the wall by screw.
- Install the Heater on the wall mounting support and the remaining two screw holes from the lower wall mounting support.
- Remove Heater and drill two holes on the wall from the marking and install two anchors into the wall with a hammer.
- Install the Heater on the wall mounting support and fix it by screwing on the bottom of the Heater.

OPERATION
- Insert the plug into the socket. Also, make sure that the main switch is in the OFF position.
- Press the main switch to turn on the unit.
- Press and hold the MODE and SET buttons for 10 seconds to reset the program (this step is only necessary when you switch on the unit for the first time).
- Manual mode: the display shows the HAND indicator and the preset room temperature is 22°C. Use the (+) and (-) buttons to set the desired room temperature. The temperature can be set between 5-32°C. The unit will start as soon as the set temperature is higher than the room temperature. At the same time, the heating indicator lights up. When the set temperature is reached, the appliance switches off automatically. If the room temperature drops by at least 3 °C, the unit switches on again.

- Set the time and day of the week: Press the SET button and use the (+) and (-) buttons to set the time and day of the week.

- Set the weekly program. 6: Press the SET button and use the (+) and (-) buttons to set the turn-off time, turn-on time, and temperature.

- Set mode: Press the MODE button to set the desired mode.

- Program mode: The instrument is operated according to the program.
- Auto mode: The heater is operated automatically. If the room temperature is 5 °C below the set temperature, the unit starts up 30 minutes before the set switch-on time. If the room temperature is more than 6 °C below the set temperature, the unit starts up 60 minutes before the set switch-on time.
- Anti-freeze mode: Set the temperature to 5°C to keep the ambient temperature above freezing. This prevents pipe breakage due to ice.
CLEANING AND CARE
- Please switch off the heater, unplug the power cord and allow the heater to cool down before cleaning.
- Do not immerse the power cord and plug or the heater into water or other liquid. Do not pour water or other liquid over the heater.
- Use a vacuum cleaner to remove dust and lint from the metal grid of the heater.
- Wipe the heater with a dry cloth to remove dust and a damp cloth (not wet) to clean the stains.
- Do not use detergents, abrasive cleaning powder, or polish of any kind on the body of the heater, as these can damage the finish.
Storage
Store the heater in a cool dry place when not in use. To prevent dust and dirt from getting into the heater, use the original box to repack the unit.
TROUBLESHOOTING
If the towel warmer does not heat or turn on, check the following:
- Check if the electrical supply in the house or the main fuse is working or not.
- Check if the power cord is plugged into an electrical outlet or not.
- Check if the heater is switched on or not.
- Check if the room temperature is under the thermostat setting temperature or not.
- Check if any objects are covering the unit or not.
If the heater is still not operating after these checking, please contact the manufacturer’s service agent. All repairs must be referred to authorized personnel from the authorized retailer. Any tampering with the appliance will invalidate the warranty. Repairs carried out improperly and by unqualified persons may have serious consequences for the user.
HINTS ON DISPOSAL
If there is a legal regulation for the disposal of electrical and electronic devices in your country, this symbol on the product or on the packaging indicates that this product must not be disposed of with household waste. Instead, it must be taken to a collection point for the recycling of electrical and electronic equipment. By disposing of it in accordance with the rules, you are protecting the environment and the health of your fellow human beings from negative consequences. For information about the recycling and disposal of this product, please contact your local authority or your household waste disposal service.


























