vital baby Nurture Advanced Pro 3-in-1 UV Steriliser Dryer and Storage Instruction Manual
IMPORTANT, RETAIN FOR FUTURE REFERENCES:
READ CAREFULLY BEFORE USE.
For your safety and health WARNING!
- This appliance should not be used by children under the age of 16 or persons with reduced mental capabilities, or without the required knowledge or experience. The product can be used by persons with reduced physical or sensory capabilities as long as they are under supervision or after they have received instructions for the safe use of the appliance, and have understood the hazards involved. If the appliance is sold by the purchaser or given to third party users, they must receive the instructions for the safe use of the appliance. It is important to understand the hazards involved, through reading the user manual and in particular the safety warnings contained in it.
- The cleaning and maintenance to be performed by the user should not be carried out by children under the age of 16 and / or people with reduced mental capabilities or missing experience or required knowledge.
- Use the UV sterilizer only for its intended use as described in this manual.
- Keep all components out of the reach of children. THIS IS NOT A TOY.
- Do not tug on the power cable, the sterilizer or any of its components to unplug from the wall.
- For safety reasons the appliance must always be connected to an electricity system which has efficient earthing connections.
- Never immerse or drop the sterilizer or plug-in water or any other liquids. Keep the device dry – RISK OF ELECTRIC SHOCK.
- Do not attempt to disassemble the sterilizer – RISK OF ELECTRIC SHOCK.
- Regular care and cleaning are essential to maintain peak working order of your steriliser.
- The steriliser and component parts may become damaged or broken if mishandled, dropped or knocked over.
- Do not make any adjustments to the original plug.
- Before using the steriliser always check that all components are not damaged. If damage is found do NOT use the product.
- Do not attempt to dismantle or repair the steriliser yourself.
- Clean all of the components thoroughly before first use and after each use.
- Never operate an electrical device if it has a damaged cord or plug, if it is not working properly, if it has been dropped or damaged, or dropped into water.
- Do not expose the steriliser to direct sunlight.
- Do not cover the air intake.
- Unwind the cord completely before inserting the plug into the socket; this is to prevent possible overheating of the appliance.
- Do not place the appliance on or near hot surfaces or appliances such as microwaves or ovens.
- This appliance does not contain parts or components serviceable by the user.
- Do not reach for any electrical device that has fallen into water. Unplug immediately from the mains.
- Take appropriate care in handling bottles and components.
- Do not store or leave in direct sunlight, near a source of heat or near a source of water as this could damage the product.
- Do not pour water directly into the product.
- Place the appliance on flat and stable surfaces only.
- Keep the appliance well away from other objects when in use. Do not place items on top of the appliance.
- To immediately stop the appliance mid cycle, turn off at the mains socket and disconnect the power cable.
- This appliance contains a UV emitter. Do not stare at the light source.
- Prolonged exposure can cause discomfort or retinal damage if the UV light is directly stared at.
- Do not use this appliance with Latex items. Latex items can breakdown and degrade when exposed to UV light.
- Electrical items are not suitable for use with the auto or drying functions.
- Do not wash items that are unsuitable for cleaning with water or fluids – DO NOT GET ELECTRICAL ITEMS WET.
CLEANING AND MAINTENANCE
- Before first use and after each use, clean all components thoroughly with hot, soapy water. Wring excess water from the cloth or sponge before wiping the appliance.
After cleaning and before using for the first time, run a full 29-minute auto cycle followed by a 7-minute sterilisation cycle. - Do not use bleach, abrasive materials, abrasive solutions or scourers to clean the product. Never pour bleach or sterilising solutions/tablets into the appliance.
- Before each use ensure that all items to be sterilised have been thoroughly cleaned and roughly dried to remove excess water.
- Electrical items are not suitable for use with the auto or drying functions.
DO NOT GET ELECTRICAL ITENS WET.
CONPONENTS CHECKLIST

CONTROL PANEL
- AUTO NODE

29-minute sterilising and drying cycle starts by drying the contents before automatically moving on to sterilising mode. - STERILISE NODE

Super-fast 7-minute sterilising cycle for all your baby’s bottles, accessories and toys, and even remote controls, mobile phones, keys and cosmetic brushes. - POWER

Pressing this button turns the machine on and puts it in to standby mode. - DRY MODE

17-minute drying cycle for use straight after cleaning and before sterilising, to ensure precise and efficient sterilising. - STORE IHODE

72-hour store cycle dries and sterilises the contents initially, and then sterilises for 1 minute every 1hour, for up to 3 days.
DISPOSAL
To minimise hazards to health and the environment and ensure that materials can be recycled, this product should be disposed of at a separate collection facility for waste electrical and electronic equipment.
INSTRUCTIONS FOR USE
- Plug your UV steriliser into the mains.
As soon as it’s plugged in and switched on, you’ll notice a circular light displayed around the
button – this means it is in standby mode. Press the button to turn the machine on. Once turned on, all of the function
buttons will be surrounded by circular lights and you will be able to select your mode.
NOTE: if after 10 seconds you have not selected a function, the machine will go back in to standby mode and you will have to press the
button again. - Place bottles and teats upright in the steriliser to ensure sterilising and drying efficiency. See diagrams 1 and 2. Clean all parts according to the instructions given in CLEANING AND I MAINTENANCE.


Ensure that all items to be sterilised have been thoroughly cleaned. If you are using sterilise mode only without a drying cycle, ensure all items are thoroughly dried before placing them in the steriliser. Ensure the contents are disassembled and evenly spaced out to enable the UV light to reach all areas. Do not wash items that are unsuitable for cleaning with water or fluids. - UV rays used by this appliance do not pass through solid or clear objects.
Please make sure UV light can contact all surfaces to ensure efficient sterilisation.
For example, bottles and bottle accessories must be placed as shown in diagrams 1 and 2. Items such as mobile phones and keys etc. should be sterilised on all sides, and therefore may require more than one cycle to be performed. - DO NOT GET ELECTRICAL ITEMS WET.
- Drying and Auto modes are not suitable for use with electrical items.
- Do not use this appliance with Latex items. Latex items can breakdown and degrade when exposed to UV light.
AUTO MODE
Clean all parts according to the instructions given in CLEANING AND MAINTENANCE.
Ensure that all items to be sterilised have been thoroughly cleaned and roughly dried to remove excess water. Ensure your steriliser is plugged in at the mains using a suitable power source.
- Using the button on the front of the machine, open the lid and place your items into the steriliser. See diagrams I and 2 for placement guidance.
- Close the lid and turn the steriliser on using the
button. The steriliser will beep when on, and circular lights will appear around all buttons.
NOTE: if after 10 seconds you have not selected a function, the machine will go back in to standby mode and you will have to press the
button again. - Press the
button to select the 29-minute function. The timer will display “29” and the circular light around
will fast-flash for 3 seconds. After this, the cycle will begin, and the circular light around the
button will slow-flash until your cycle is complete.
To cancel your cycle at any point, press and hold the
button. Lifting the lid mid-cycle will end the function, and your steriliser will go in to standby mode. During an auto cycle, the steriliser will dry for 17 minutes, cool for 5 minutes and then sterilise for 7 minutes – the contents will not be sterile unless they have undergone a full 7-minute sterilisation cycle. If the lid is lifted before the sterilising cycle has been completed the items will not be sterile, and a full cycle must be performed. - When your steriliser beeps 6 times, your cycle is complete and your items are dried and sterilised. The steriliser will then enter standby mode.
STERILISE MODE
Clean all parts according to the instructions given in CLEANING AND MAINTENANCE.
Ensure that all items to be sterilised have been thoroughly cleaned and dried to remove excess water. Ensure your steriliser is plugged in at the mains using a suitable power source.
- Using the button on the front of the machine, open the lid and place your items into the steriliser. See diagrams I and 2 for placement guidance.
- Close the lid and turn the steriliser on using the
button. The steriliser will beep when on, and circular lights will appear around all buttons.
NOTE: if after 10 seconds you have not selected a function, the machine will go back in to standby mode and you will have to press the
button again. - Press the
button to select the 7-minute function. The timer will display “7” and the circular light around
will fast-flash for 3 seconds. After this, the cycle will begin, and the circular light around the
button will slow-flash until your cycle is complete.
To cancel your cycle at any point, press and hold the
button. Lifting the lid mid-cycle will end the function, and your steriliser will go in to standby mode. The contents will not be sterile unless they have undergone a full 7-minute sterilisation cycle. If the lid is lifted before the sterilising cycle has been completed, the items will not be sterile, and a full cycle must be performed. - When your steriliser beeps 6 times your cycle is complete, and your items are fully sterilised. The steriliser will then enter standby mode.
DRY MODE
Clean all parts according to the instructions given in CLEANING AND MAINTENANCE.
Ensure that all items to be sterilised have been thoroughly cleaned and roughly dried to remove excess water. Ensure your steriliser is plugged in at the mains using a suitable power source.
- Using the button on the front of the machine, open the lid and place your items into the steriliser. See diagrams Iand 2 for placement guidance.
- Close the lid and turn the steriliser on using the
button. The steriliser will beep when on, and circular lights will appear around all buttons.
NOTE: if after 10 seconds you have not selected a function, the machine will go back into standby mode and you will have to press the
button again. - Press the
to select the 17-minute function. The timer will display “17” and the circular light around
will fast-flash for 3 seconds. After this, the cycle will begin, and the circular light around the
button will slow-flash until your cycle is complete.
To cancel your cycle at any point, press and hold the
button. Lifting the lid mid-cycle will end the function, and your steriliser will go in to standby mode. - When your steriliser beeps 6 times, your cycle is complete, and your items are dry. The steriliser will then enter standby mode
NOTE: always wait 5 minutes between running drying and sterilising cycles to allow for cooling.
STORE MODE
Clean all parts according to the instructions given in CLEANING AND MAINTENANCE.
Ensure that all items to be sterilised have been thoroughly cleaned and roughly dried to remove excess water. Ensure your steriliser is plugged in at the mains using a suitable power source.
- Using the button on the front of the machine, open the lid and place your items into the steriliser. See diagrams I and 2 for placement guidance.
- Close the lid and turn the steriliser on using the
button. The steriliser will beep when on, and circular lights will appear around all buttons.
NOTE: if after 10 seconds you have not selected a function, the machine will go back in to standby mode and you will have to press the
button again. - Press the
button to select the 72-hour function. The timer will display “72” and the circular light around
will fast-flash for 3 seconds. After this, the cycle will begin, and the circular light around the
button will slow-flash until your cycle is complete. For this function, the timer will countdown in hours, rather than minutes. - During store mode, your steriliser will first perform a 29-minute auto cycle.
After this, it will periodically sterilise the contents for 1 minute every 1 hour, for up to 72 hours.
To cancel your cycle at any point, press and hold the
button. Lifting the lid mid-cycle will end the function, and your steriliser will go in to standby mode. The contents will not be sterile unless they have completed the initial 29-minute auto cycle. If the lid is lifted before the sterilising cycle has been completed, the items will not be sterile, and a full cycle must be performed. - When your steriliser beeps 6 times, your cycle is complete. The steriliser will then enter standby mode.
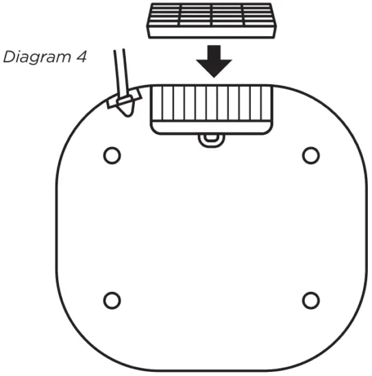
REPLACING THE FILTER
Your UV steriliser uses a HEPA & Anion filtering system. The HEPA filter should be replaced every 6 months. To change the filter, unplug the steriliser, remove any items from the steriliser including the internal basket, and place the appliance on its side so that the bottom of the appliance is facing you. See diagram 3. Remove the filter casing using the latch and gently pull the filter out, before putting the new filter into place and reattaching the filter casing, ensuring that the latch clicks back into place. See diagram 4. New filters are available for purchase from our website.

DON’T FORGET TO REGISTER YOUR WARRANTY AT
WWW.VITALBABY.COM/WARRANTY
TECHNICAL SPECIFICATION
Model: 444440 & 444441
Drying Power: 220-240V 50-60Hz 135W
Inner Capacity: 8L
UV-LED light: 3-6mW
LED Wavelength (nm): 260-280nm (UVC)


In order to minimise hazards to health and the environment and ensure that materials can be recycled, this product should be disposed of at a separate collection facility for waste electrical and electronic equipment.
www.vitalbaby.com
Made in China to Vital Baby’ specifications. Vital Innovations Limited, Hatfield, Herts, ALM 9EW, United Kingdom. Vital Baby’ is a registered trademark. NURTURE'” is a trademark. Design Rights. c, Vital Innovations Ltd 2021



























