CRAFTSMAN 12-Gallon Corded Portable Wet Dry Shop Vacuum

COMPONENTS

- Power Cord Storage
- Blower Port
- Handle
- Hose Storage Rack
- Latch
- Accessory Storage
- Caster Foot
- Caster
- Drain Port
- Collection Tank
- Vacuum Port
- Power Head
- On/Off Switch
- Screws (4)
- Hose
- Extension Wands (2)
- Utility Nozzle
- Floor Nozzle
- Crevice Tool
- Cartridge Filter
- Filter Retainer
- Foam Wet Filter
Definitions: Safety Alert Symbols and Words
This instruction manual uses the following safety alert symbols and words to alert you to hazardous situations and your risk of personal injury or property damage.
DANGER: Indicates an imminently hazardous situation which, if not avoided, will result in death or serious injury.
WARNING: Indicates a potentially hazardous situation which, if not avoided, could result in death or serious injury.
CAUTION: Indicates a potentially hazardous situation which, if not avoided, may result in minor or moderate injury.
(Used without word) Indicates a safety related message.
NOTICE: Indicates a practice not related to personal injury which, if not avoided, may result in property damage.
WARNING AND DANGER
- Read all safety warnings and all instructions. Failure to follow the warnings and instructions may result in electric shock, fire and/or serious injury.
- Never modify the product or any part of it. Damage or personal injury could result.
- To reduce the risk of injury, read the instruction manual
- NEVER OPERATE THIS UNIT WHEN FLAMMABLE MATERIALS OR VAPORS ARE PRESENT. OPERATING THIS UNIT WHEN FLAMMABLE MATERIALS OR VAPORS ARE PRESENT COULD CAUSE A FIRE OR EXPLOSION.
- READ AND UNDERSTAND ALL INSTRUCTIONS BEFORE USING THIS VACUUM.
- DO NOT USE THIS VACUUM CLEANER TO VACUUM LEAD PAINT DEBRIS OR SILICA BECAUSE THIS MIGHT DISPERSE FINE LEAD OR SILICA PARTICLES INTO THE AIR. THIS VACUUM CLEANER IS NOT INTENDED FOR USE UNDER EPA REGULATION 40 CFR PART 745 FOR LEAD PAINT MATERIAL CLEAN UP.
- THIS PRODUCT IS NOT TO BE USED FOR FILTERING OF PATHOGENS, FOR EXAMPLE COVID-19. FOLLOW ALL LOCAL, STATE AND FEDERAL GUIDANCE ON GENERAL CLEANING PRACTICES.
SAVE THIS MANUAL FOR FUTURE REFERENCE.
When using a vacuum, basic precautions should always be followed including the following. Failure to follow the warnings and instructions may result in explosion, fire and/or serious injury.
WARNING: TO REDUCE THE RISK OF FIRE, ELECTRIC SHOCK OR INJURY:
- Do not run vacuum unattended.
- Do not use to pick up flammable or combustible liquids, such as gasoline, or use in areas where they may be present.
- Do not vacuum, or use this vacuum near flammable liquids, gases, or explosive vapors like gasoline or other fuels, lighter fluids, cleaners, oil-based paints, natural gas, hydrogen, or explosive dusts like coal dust, magnesium dust, grain dust, or gun powder. Sparks inside the motor can ignite flammable vapors or dust.
- To reduce the risk of health hazards from vapors or dusts, do not vacuum toxic materials.
- Do not use or store near hazardous materials.
- Do not pick up anything that is burning or smoking, such as cigarettes, matches, or hot ashes.
- Do not expose to rain. Store indoors.
- If vacuum is not working as it should, has been dropped, damaged, left outdoors, or dropped into water, return it to a service center.
- Do not unplug by pulling on cord. To unplug, grasp the plug, not the cord.
- Do not use with damaged cord or plug.
- Do not pull or carry by cord, use cord as a handle, close a door on cord, or pull cord around sharp edges or corners.
- Keep cord away from heated surfaces.
- Do not run the vacuum over cord.
- Do not handle plug or vacuum with wet hands.
- Do not use without dust bag and/or filters in place.
- Do not allow to be used as a toy. Close attention is necessary when used by or near children.
- To reduce the risk of injury from accidental starting, unplug power cord before changing or cleaning filter.
- Do not leave vacuum when plugged in. Unplug from outlet when not in use and before servicing.
- Turn off all controls before unplugging.
- Unplug before connecting or disconnecting hose, or any other accessories.
- Do not put any object into openings. Do not use with any opening blocked; keep free of dust, lint, hair, and anything that may reduce air flow.
- Keep hair, loose clothing, fingers, and all parts of body away from openings and moving parts.
- Use extra care when cleaning on stairs.
- Use only as described in this manual. Use only manufacturer’s recommended attachments.
- This vacuum is provided with double insulation. Use only identical replacement parts. See DOUBLE INSULATION INSTRUCTIONS.
WARNING: TO REDUCE THE RISK OF ELECTRIC SHOCK OR INJURY FROM MOVING PARTS – UNPLUG BEFORE CLEANING OR SERVICING.
WARNING: WHEN USING AS BLOWER:
- Direct air discharge only at work area.
- Do not use Wet/Dry Vacuum as a sprayer.
- Do not direct air at bystanders.
- Keep children away when blowing.
- Wear safety goggles.
SAVE THESE INSTRUCTIONS
DOUBLE INSULATION INSTRUCTIONS
Double Insulation
Double insulated appliances are constructed throughout with two separate layers of electrical insulation or one single layer of reinforced insulation between the user and the appliance’s electrical system. Products built with this insulation system are not intended to be grounded. As a result, this appliance is equipped with a two-prong plug which permits it to be used without concern for maintaining a ground connection.
NOTE: Double insulation does not take the place of normal safety precautions when operating this appliance. The secondary insulation system is for protection against injury resulting from a possible failure of the primary insulation within the product.
CAUTION: WHEN SERVICING USE ONLY IDENTICAL REPLACEMENT PARTS. REPAIR OR REPLACE DAMAGED CORDS.
Polarized Plugs
Polarized plugs (one blade is wider than the other) are used on equipment to reduce the risk of electric shock. When provided, this plug will fit in the polarized outlet only one way.
WARNING: DO NOT ALTER THE PLUG IN ANY WAY. IF THE PLUG DOES NOT FIT FULLY IN THE OUTLET, REVERSE THE PLUG. IF IT STILL DOES NOT FIT, CONTACT A QUALIFIED ELECTRICIAN TO INSTALL THE PROPER OUTLET.
EXTENSION CORDS
When using an extension cord with your Wet/ Dry Vacuum refer to the following table to determine the required A.W.G. wire size.
Before using the cleaner make sure the power cord and extension cord are in good working condition. Make repairs or replacements before using the vacuum cleaner. Only use extension cords that are rated for outdoor use.
| Length of Extension Cord | |||||
| 120V | 25ft (7.62m) | 50ft (15.24m) | 100ft (30.48m) | 150ft (45.72m) | |
| Ampere rating | A.W.G. Wire Size | ||||
| More than | Not more than | ||||
| 0 | 6 | 18 | 16 | 16 | 14 |
| 6 | 10 | 18 | 16 | 14 | 12 |
| 10 | 12 | 16 | 16 | 14 | 12 |
| 12 | 16 | 14 | 12 | Not recommended | |
UNPACKING
WARNING: VERIFY THAT THE POWER CORD IS DISCONNECTED FROM THE OUTLET.
- Undo the latches 5 .
- Lift the power head 12 off the collection tank 10.
- Remove the contents from inside the collection tank 10; make sure you have all contents as listed .
ASSEMBLY
Caster System Assembly
4. Turn the collection tank upside down and insert the four caster feet 7 into the slots on the collection tank and tighten with supplied screws 14. Verify that the caster feet 7 are mounted correctly. Do not overtighten screws. Fig. 1.

GENERAL SET UP
5. Your vacuum comes ready for dry vacuum cleaning. If the cartridge filter is not installed, refer to page 6-7 for installation instructions.
6. For wet vacuum cleaning, remove the cartridge filter, and install the supplied foam wet filter. See page 8 for the foam wet filter installation instructions.
7. Place the power head back on the collection tank and secure into place using the latches.
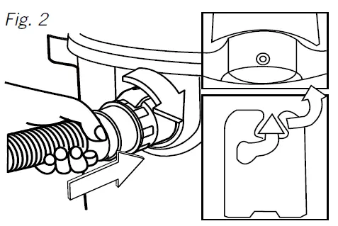
8. Insert the larger end of the hose 15 into the vacuum port on the collection tank 10 and lock into place. Fig. 2.

9. Choose the desired accessory 17 18 19 and/or extension wands 16 and insert onto the end of the hose 15. Fig. 3.

10. Plug the power cord into the outlet. Turn the motor on by flipping the on/off switch 13 to the ‘I’ ON position and begin vacuuming. Fig. 4.

WARNING: ONCE YOU HAVE COMPLETED VACUUMING, FLIP THE ON/OFF SWITCH TO THE ‘O’ OFF POSITION AND UNPLUG THE POWER CORD FROM THE OUTLET. O = OFF I = ON
BLOWER OPERATION
This Wet/Dry Vacuum has blowing capabilities.
To use the blower feature follow the instructions listed.
WARNING:
- ALWAYS WEAR SAFETY GOGGLES COMPLYING WITH ANSI Z87.1 (OR IN CANADA, CSAZ94.3) WHEN USING BLOWER.
- KEEP BYSTANDERS CLEAR FROM BLOWING DEBRIS.
- WEAR A DUST MASK IF BLOWING CREATES DUST THAT MIGHT BE INHALED.
- VERIFY THAT THE POWER CORD IS DISCONNECTED FROM THE OUTLET.
- MAKE SURE THE COLLECTION TANK IS EMPTY BEFORE USING AS A BLOWER. CLEAR ALL DIRT AND DEBRIS FROM THE HOSE AND COLLECTION TANK.
11. Remove the hose 15 from the vacuum port
12. Insert the larger end of the hose 15 into the blower port 2 on the back of the power head and lock into place. Fig. 5.

13. Choose the desired accessory and insert onto the end of the hose 15. Fig. 6.

14. Before turning on the vacuum, firmly hold onto the loose end of the hose. Plug the power cord into the outlet. Turn the motor on by flipping the switch to the ‘I’ ON position.
WARNING: ONCE YOU HAVE COMPLETED BLOWING, FLIP THE POWER SWITCH TO THE ‘O’ OFF POSITION AND UNPLUG THE POWER CORD FROM THE OUTLET.
FILTER INSTALLATION AND CLEAN UP Dry Pick Up Operation
NOTICE: Clean or change the filter regularly for best performance. ALWAYS USE THE CARTRIDGE FILTER FOR DRY VACUUMING. If the machine is used without the cartridge filter, the motor will burn out and the warranty will be voided. Always keep spare filters on hand.
NOTICE: The filters included are made of high quality materials designed to stop small dust particles. The cartridge filter should be used for dry pick-up only. A dry cartridge filter is necessary to pick up dust. If the cartridge filter is wet, it will clog quickly and be very difficult to clean. Handle the filter carefully when removing it for cleaning and replacing it. Check the filters for tears or small holes. A small hole can let dust pass through and out of the filter. Do not use a filter with holes or tears; replace it immediately.
INSTALLING AND CLEANING THE CARTRIDGE FILTER:
WARNING: VERIFY THAT THE POWER CORD IS DISCONNECTED FROM THE OUTLET.
15. Remove the power head and place in an upside down position.
16. Install the cartridge filter 20 over the filter cage making sure the cage is completely covered. Fig. 7.

17. Place the filter retainer 21 on the top of the cartridge filter 20 over the raised lip and tighten down by turning the retainer clockwise; do not over-tighten. Fig. 8 & 9.

18. To remove the cartridge filter, unlock and remove the filter retainer 21 by turning the retainer handle counter-clockwise. Fig. 10 & 11.

19. With the removed power head in an upside down position, carefully remove the cartridge filter 20 from the filter cage. Fig. 12.

20. Clean the cartridge filter 20 by gently tapping or brushing dirt off.
CAUTION: CLEANING SHOULD NOT BE DONE INDOORS IN LIVING AREAS. FOR OPTIMAL PERFORMANCE A NEW FILTER IS RECOMMENDED.
EMPTYING DRY WASTE FROM THE TANK
21. Disconnect the hose 15 from the vacuum. Undo the latches 5 and remove the power head 12 from the collection tank. Fig 13. Place power head on soft, clean surface upside down. Clear all dirt or debris from the collection tank and hose. Place power head back onto the collection tank and secure latches.

Wet Pick Up Operation
IMPORTANT! When vacuuming large quantities of liquids, do not immerse the nozzle completely in the liquid; leave a gap at the tip of the nozzle opening to allow air inflow. The machine is fitted with a float valve that stops the suction action when the collection tank reaches its maximum capacity. You will notice an increase in motor speed.
WARNING: WHEN THIS HAPPENS, TURN OFF THE MACHINE, DISCONNECT FROM POWER SUPPLY, AND DRAIN THE LIQUID INTO A SUITABLE RECEPTACLE OR DRAIN. TO CONTINUE VACUUMING, REFIT THE COLLECTION TANK WITH THE DRAIN CAP. AFTER WET VACUUMING, TURN THE MACHINE OFF AND REMOVE PLUG FROM POWER SUPPLY. EMPTY THE COLLECTION TANK, CLEAN AND DRY THE INSIDE AND OUTSIDE BEFORE STORAGE.
WARNING: WHEN FILLED WITH LIQUID, THE TANK MAY BECOMING HEAVY. SEEK ASSISTANCE IF TANK IS TOO HEAVY TO MOVE OR LIFT TO AVOID INJURY.
FOAM WET FILTER INSTALLATION AND CLEANING:
WARNING: VERIFY THAT THE POWER CORD IS DISCONNECTED FROM THE OUTLET.
22. Remove the power head and place in an upside down position. Follow instructions to remove the cartridge filter on page 7.
23. Carefully slide the foam wet filter 22 down over the filter cage making sure the cage is completely covered. Fig. 14.

24. To remove the foam wet filter, place the removed power head in an upside down position, and carefully remove the foam wet filter 22. Fig. 15.

25. Use a mild soap and water solution to wash the foam wet filter 22 and rinse with clean water. Fig. 16.

26. Allow the wet filter to air dry for 24 hours before installing onto the filter cage.
EMPTYING LIQUID WASTE FROM THE TANK
27. After wet pick up operation, empty the collection tank 10 by unscrewing the drain cap. Drain liquids into a suitable receptacle or drain. Fig. 17. Remember to refit the drain cap to the collection tank.

STORAGE
Before storing your vacuum, the collection tank should be emptied and cleaned. The accessories should be cleaned and stored so they can be readily available when needed. Store the wet/dry vacuum indoors. For convenient storage, the hose 15 can be wrapped around the hose storage rack 4 and the accessories can be inserted into the accessory storage slots 6 on the vacuum.
REGISTER ONLINE
Thank you for your purchase. Register your product now for:
- WARRANTY SERVICE: Registering your product will help you obtain more efficient warranty service in case there is a problem with your product.
- CONFIRMATION OF OWNERSHIP: In case of an insurance loss, such as fire, flood or theft, your registration of ownership will serve as your proof of purchase.
- FOR YOUR SAFETY: Registering your product will allow us to contact you in the unlikely event a safety notification is required under the Federal Consumer Safety Act. Register online at www.craftsman.com/registration
3 YEAR LIMITED WARRANTY
CRAFTSMAN will repair or replace, without charge, any defects due to faulty materials or workmanship for three years from the date of purchase. This warranty does not cover part failure due to normal wear or tool abuse. For further detail of warranty coverage and warranty repair information, visit www.craftsman.com or call 1-888-331-4569.
This warranty does not apply to accessories or damage caused where repairs have been made or attempted by others. THIS LIMITED WARRANTY IS GIVEN IN LIEU OF ALL OTHERS, INCLUDING THE IMPLIED WARRANTY OF MERCHANTABILITY AND FITNESS FOR A PARTICULAR PURPOSE, AND EXCLUDES ALL INCIDENTAL OR CONSEQUENTIAL DAMAGES. Some states do not allow limitations on how long an implied warranty lasts or the exclusion or limitation of incidental or consequential damages, so these limitations may not apply to you. This warranty gives you specific legal rights and you may have other rights which vary in certain states or provinces.
90 DAY MONEY BACK GUARANTEE
If you are not completely satisfied with the performance of your CRAFTSMAN Wet Dry Vacuum for any reason, you can return it within 90 days from the date of purchase with a receipt for a full refund – no questions asked. LATIN AMERICA: This warranty does not apply to products sold in Latin America. For products sold in Latin America, see country specific warranty information contained in the packaging, call the local company or see website for warranty information.
FREE WARNING LABEL REPLACEMENT: If your warning labels become illegible or are missing, call 1-888-331-4569 for a free replacement.
TROUBLESHOOTING

EXPLODED VIEW

PARTS LIST
| Part | Drawing Number | Description | Quantity |
| 1 | 551006102 | Hose Storage Rack | 2 |
| 2 | Power Head Assembly | 1 | |
| 3 | 551006103 | Float | 1 |
| 4 | 551005104 | Filter Cage | 1 |
| 5 | 551030114 | Cartridge Filter | 1 |
| 6 | 551437107 | Filter Retainer | 1 |
| 7 | Collection Tank | 1 | |
| 8 | 551006106 | Vacuum Port Cover | 1 |
| 9 | 551006107 | Vacuum Port Assembly | 4 |
| 10 | 551002110 | Drain Cap Assembly | 2 |
| 11 | 551006109 | Caster Foot Assembly | 1 |
| 12 | 551002113 | Hose | 1 |
| 13 | 551006110 | Extension Wand | 1 |
| 14 | 551006113 | Crevice Tool | 1 |
| 15 | 551298107 | Floor Nozzle | 1 |
| 16 | 551006111 | Utility Nozzle | 1 |
| 17 | 551002118 | Foam Wet Filter | 1 |




















