apeman Dash Camera User Manual

Warning
- Do not disassemble the machine yourself to avoid damaging the internal components.
- Please do not expose the machine in strong sunlight or high temperature. It may cause the damage to the housing and internal components.
- Please make sure that the camera is turned off before inserting/removing the memory card to avoid the damage to the memory card and data flies.
- It is normal if the machine temperature rises after using for a period of time.
- Please use lens cleaner or professional tools to clean the lens.
Product Description
Package contents




- Main Body
- Car Charger
- 3M Adhesive Mount
- Mini USB Cable




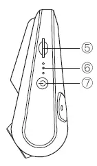
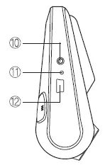
- Record
- Left
- Right
- Menu
- TF Card Slot
- Indicator Light
- Power
- Display Screen
- Lens
- AV Interface
- Reset
- USB Interface
Operation Instructions
Preparation and Installation
- Please prepare a TF card, class 1 0, 2G to 32GB. Please insert it to the dash cam and format it before using.
- Please clean the front windshield completely.
- Please connect the 3M sticker and tachograph chute, and adjust to the appropriate angle.
- It is advisable to install the power cord along the illustrated wiring path.
- Insert the car charger into the cigarette lighter power hole, start the engine, the dash camera will start recording automatically.

Video Mode

- Start / Stop Video
In the video mode, short press the “Con1irm”button to start/ stop recording. - Lock Video
Short press “Lock” button to lock the current video.
Camera Mode

- In the recording status. press the “Conflrm” button to suspend the video, and then long press the “Menu'” key to enter the camera mode .
- Take Pictures
In Camera mode, short press “Record” button to take pictures.
Playback Mode

- In the camera mode, long press “Menu”button to switch to playback mode.
- Start / Stop playback
In playback mode, short press the “conflrm” key to playback/ stop. - Select Video
In playback mode, press “Left” , “Right” button to select the video you want to play back. - Volume Adjustment
When playing video, press “Left” button to increase volume, press “Right” button to decrease volume.
- By entering the menu mode to select different function parameters and turn on and off various functions.
- Features:
1 . G-sensor: Acceleration sensor. When the G-sensor detects the emergency braking of the vehicle during driving, the video of this period of time will be saved separately and will not be automatically deleted.
2. WDR: Wide Dynamic Range. It can clearly display the extremely bright part and extremely dark part at the same time.
3. Loop Recording: Automatically overwrite the unlocked video when the TF card is full, to ensure the normal recording.
4. Parking Monitoring: Under parking mode, the dash cam is in the power-off condition. The dash cam will automatically turn on and record when detect a vibration.
5. Motion Detection: In the standby mode, the dash cam is in the power-on condition. The dash cam will automatically start recording when detect a motion in front of the car.
APP Installation and Operation
Download and Install APP
- IOS System Phone
Please search “FINALCAM” or “Luckycam” in APP Store, download and install it; - Android System Phone
Please search “FINALCAM” or “Luckycam” on Google Play, download and install it;
WIFI connection instructions
- Long press the “Right” button to turn on the WIFI function of the dash cam, then the screen will display WIFI SSID and password.
- Turn on the mobile phone WIFI, search WIFI SSID MB03_c021 0d37e088, enter the password: 1 2345678 to connect WIFI. Open the APP “FINALCAM” then you can watch the video of the machine.
Icons’ Instructions and Available Operation

- Motion Detection Switch
- Loop Record Switch
- WDR Switch
- Photo Resolution Setting
- Video Resolution setting
- Phone Screen Brightness Adjustment
- Photograph
- Start / Stop Record
- Microphone Switch
- Volume Adjustment of Mobile Phone
- View Photos
- Download the File
- Settings
Specifications
| Display | 2.45″ IPS Display |
| Angle | 170″ |
| Record Method | Loop Recording/Motion Detection |
| Video Format | MOV |
| Video Encoding | H.264 |
| Video Resolution | 1920×1080, 1280×720, 848×480, 640×480 |
| Camera Resolution | 4032×3024, 3648×2736, 3264×2448, 2592×19442, 2048X1536 … |
| Video Output | Support |
| Seamless Video | Support |
Q&A
Q: Will the dash cam continue working after the car flame-out?
A: If the cigarette lighter power interface is “constant power” , then it will continue to work after the car flame out. At this time, it is recommended to press the power button to turn off the recorder after flame-out.
Q: Can I turn off the microphone?
A: You can turn off the microphone in the settings.
Q: The screen prompts “Please insert TF card”, but I have already inserted the TF card, what should I do?
A: You need to check whether the TF card is corrupted and formatted, or change to a new class1 0 TF card with capacity less than 32GB.
Q: Can I view the video on the dash cam?
A: You can view the recording in playback mode. If it is a locked video, there will be a “lock” sign on the video.
Q: Does the dash cam always need power to keep recording?
A: It needs to be powered all the time if use it for a long time. The battery that comes with the machine can only guarantee continuous recording for about 20 minutes.
Warranty
This product carries a one-year warranty from purchase date. Please feel free to let us know what we can do to assist you when you have any product problem. Apeman customer service email addresses:
America: [email protected]
Europe: [email protected]
Japan: [email protected]




















