
Flashlight
Quick Setup Guide
BE-BFL100AM
Before using your new product, please read these instructions to prevent any damage.
Package contents
- LED Flashlight
- Carrying case
- Carrying strap
- Best Buy essentials AAA batteries (3)
- Quick Setup Guide
Features
- The 350-lumen output makes your flashlight ideal for general indoor and outdoor use.
- Premium metal construction provides durability and dependability.
- IPX4 rating provides protection in dusty and damp environments (not waterproof).
- Three brightness levels plus a strobe (flashing mode provide a wide range of lighting options.
- The carrying case and strap makes it easy to carry and keep track of your flashlight.

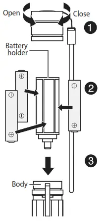
Installing the batteries
- Turn the end cap on the bottom of your flashlight counterclockwise to open the battery compartment, then remove the battery holder.
- Insert three AAA batteries (included) into the battery holder. Make sure that you insert the batteries so that the + and – match the graphic to the right.
- Insert the battery holder into the flashlight body with the spring-loaded point facing the front of the flashlight. Replace the end cap, then turn the cap clockwise to tighten.
Notes:
- Do not mix batteries of different types because the batteries might leak.
- Do not mix old and new batteries.
- Remove batteries when the charge is depleted.
- If your flashlight is not going to be used for an extended period of time, remove the batteries.
Tip: Use non-rechargeable lithium or premium rechargeable batteries to extend the run time of your flashlight.

Using your flashlight
- Press the On/Off button.
- Quickly press and release the Mode (
) button one or more times to select a brightness level (high, medium, or low), or press and hold the button for about 1.5 seconds to select strobe mode.
Note: To exit strobe mode, press and hold the Mode (
) button again. Your flashlight returns to the last brightness level you selected. - To turn off your flashlight, press the On/Off button.
Troubleshooting
My flashlight does not turn on or I cannot select a brightness level.
• Make sure that you installed the batteries correctly.
• Make sure that your flashlight is turned on.
• Replace the batteries.
The flashlight body is overheating.
If you set the brightness level too high, the LED generates a moderate amount of heat. This is normal. If your flashlight is too hot to hold, turn it off and wait 10 inutes for it to cool.
Specifications
Dimensions (H x W):
5.5 x 1.3 in.
(13.8 x 3.2 cm)
Weight (with batteries): 5.3 oz. (151 g)
Battery: AAA size (3)
IP rating: IPX4 (rain and splash resistant)
Impact resistance: 3 ft. (1 m)
| Beam selection modes | Output | Max. beam distance | Runtime (on fresh batteries) |
| Low | 35LM | 170 ft. (52 m) | 25 hrs. |
| Medium | 100LM | 328 ft. (100 m) | 8 hrs. |
| High | 350LM | 541 ft. (165 m) | 4 hrs. |
Safety information
Battery cautions:
- Do not mix batteries of different types or mix old and new batteries because the batteries might leak.
- Remove batteries when the charge is depleted.
- If your flashlight is not going to be used for an extended period of time,remove the batteries.
- Battery chemicals can cause a rash. If the batteries leak, clean the battery compartment with a cloth. If chemicals touch your skin, wash immediately.
- Make sure that batteries are disposed of correctly. Do not burn or incinerate.
Flashlight cautions:
- Do not shine the flashlight into a person’s eyes. This might damage the person’s eyesight.
- When your flashlight is on, do not touch the flashlight head. The head may be hot enough to burn your skin.
- Keep your flashlight away from children under 18 years of age.
One-year limited warranty
Visit www.bestbuy.com/bestbuyessentials
for details.
Contact Best Buy essentials
For customer service, call 866-597-8427
(U.S. and Canada)
www.bestbuy.com/bestbuyessentials
Best Buy essentials is a trademark of Best Buy and its affiliated
companies.
Distributed by Best Buy Purchasing, LLC
7601 Penn Ave South, Richfield, MN 55423 U.S.A.
©2021 Best Buy. All rights reserved.
V1 ENGLISH 21-0327



















